GM Service Manual Online
For 1990-2009 cars only

Removal Procedure


    Object Number: 487823  Size: SH
  1. Remove the rear bumper fascia. Refer to Rear Bumper Fascia Replacement .
  2. Raise and suitably support the vehicle. Refer to Lifting and Jacking the Vehicle in General Information.
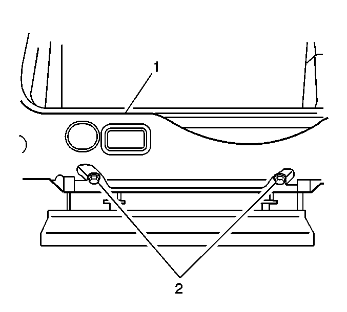
  3. Remove the 2 bolts (2) along the bottom which secure the rear bumper impact bar (1).

  4. Object Number: 487818  Size: SH
  5. Lower the vehicle.
  6. Remove the 2 bolts (2) along the top which secure the rear bumper impact bar (1).
  7. Remove the rear bumper impact bar (1) from the vehicle.

Installation Procedure


    Object Number: 487818  Size: SH

    Notice: Use the correct fastener in the correct location. Replacement fasteners must be the correct part number for that application. Fasteners requiring replacement or fasteners requiring the use of thread locking compound or sealant are identified in the service procedure. Do not use paints, lubricants, or corrosion inhibitors on fasteners or fastener joint surfaces unless specified. These coatings affect fastener torque and joint clamping force and may damage the fastener. Use the correct tightening sequence and specifications when installing fasteners in order to avoid damage to parts and systems.

  1. Install the rear bumper impact bar (1) to the vehicle. Secure the impact bar with the 2 bolts (2) along the top of the impact bar.
  2. Tighten
    Tighten the rear bumper impact bar bolts to 30 N·m (22 lb ft).

  3. Raise the vehicle.

  4. Object Number: 487823  Size: SH
  5. Install the 2 bolts (2) along the bottom which secure the rear bumper impact bar (1).
  6. Tighten
    Tighten the rear bumper impact bar bolts to 30 N·m (22 lb ft).

  7. Lower the vehicle.
  8. Install the rear bumper fascia. Refer to Rear Bumper Fascia Replacement .