GM Service Manual Online
For 1990-2009 cars only
Table 1: Heated Oxygen Sensor 1 (HO2S 1)
Table 2: Engine Coolant Temperature (ECT) Sensor
Table 3: Intake Air Temperature Sensor

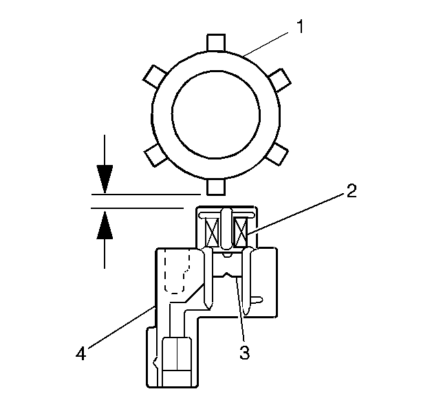
Heated Oxygen Sensor 1 (HO2S 1)


Object Number: 55283  Size: MH

The fuel control heated oxygen sensor 1 (HO2S 1) is mounted in the exhaust pipe below the exhaust manifold. The main function of the fuel control heated oxygen sensor is to provide the powertrain control module (PCM) with exhaust stream oxygen content information. This information enables the PCM to provide the proper fueling and achieve vehicle emissions that are within the mandated levels. The HO2S 1 consists of a zirconium element (2), a heater (3), a cover and housing assembly, and an electrical harness.

The zirconium element has a thin platinum surface coating. The zirconium element generates an electromotive force when there is a difference in the concentration of oxygen between its faces. This electromotive force is amplified by the catalytic reaction of the platinum when the zirconium element temperature rises. The inside of the zirconium element is exposed to the atmosphere and the outside of the zirconium element is exposed to the exhaust gases. The difference in concentration between the inside and the outside of the zirconium element varies with the concentration of oxygen in the exhaust gases. A large difference in the concentration of oxygen results in about 1 volt of electromotive force. A small difference in the concentration of oxygen results in a about 0.01 volt of electromotive force. In order for the HO2S 1 to function properly, it must have clean reference air provided to it. This clean reference air is obtained through the oxygen sensor pigtail wiring. Any attempt to repair the wires, the connectors, or the terminals of the HO2S 1 pigtail wiring may result in the obstruction of the reference air. Replace the oxygen sensor if the pigtail wiring, the connector, or the terminals are damaged.

The oxygen sensor heater greatly decreases the amount of time required for the HO2S 1 to become active and begin the closed loop fuel control.

The HO2S 1 voltage should constantly fluctuate from approximately 100 mV to 900 mV . The PCM calculates what fuel mixture commands to send to the fuel injectors by monitoring the voltage output of the oxygen sensor. The oxygen sensor voltage can be monitored with a scan tool.

Heated Oxygen Sensor 1 (HO2S 1)

Air Fuel Mixture

Exhaust O2 Content

HO2S1 Output

Fuel System Response

Lean Mixture

High Oxygen

Low Voltage

Rich Command

Rich Mixture

Low Oxygen

High Voltage

Lean Command

The oxygen sensors ability to provide accurate and useful voltage signals can be affected by the presence of certain contaminants. The contaminants can be introduced through the fuel system or can be airborne. Some of the contaminants that may be encountered are phosphorus, lead, silica, and sulfur. One of the more common contaminants is silica in the from of silicone. Silicone contamination may be indicated by a white powdery deposit on the portion of the HO2S that is exposed to the exhaust stream. Silicone contamination can be caused by the use of gasoline with silicone in it or by the use of RTV sealants which emit silicone into the crankcase or induction system. Oxygen sensors exposed to high concentrations of engine coolant or engine oil in the exhaust stream can also be adversely affected.

The fuel control heated oxygen sensor (HO2S 1) is diagnosed for the following conditions:

    • A slow response
    • An inactive signal (output steady)
    • A signal fixed high
    • A signal fixed low
    • The heater performance

Heated Oxygen Sensor 2 (HO2S 2)

A three-way catalytic converter (TWC) is used in order to control the emissions of hydrocarbons (HC), carbon monoxide (CO), and oxides of nitrogen (NOx). The catalyst within the converter promotes a chemical reaction which oxidizes the HC and CO present in the exhaust gas. The catalyst converts the HC and CO into harmless water vapor and carbon dioxide. The catalyst also reduces NOx by converting the NOx to nitrogen. The PCM uses the HO2S 2 in order to monitor the oxygen storage capability of the catalytic converter. The HO2S 2 reacts to the oxygen content in the exhaust stream after it passes through the catalytic converter. The voltage signal created by the HO2S 2 sensor ranges from approximately 0.1 volt to 0.9 volt . The oxygen sensor heater is required for the catalyst monitor HO2S 2 in order to become active and begin accurate catalyst monitoring. An HO2S 2 signal that appears lazy or inactive is normal. The PCM compares readings from both the HO2S 1 and the HO2S 2 in order to determine the efficiency of the catalyst in the TWC converter.

In order for the HO2S 2 to function properly, it must have clean reference air provided to it. This clean reference air is obtained through the oxygen sensor pigtail wiring. Any attempt to repair the wires, the connectors, or the terminals of the HO2S 2 pigtail wiring may result in the obstruction of the reference air. Replace the oxygen sensor if the pigtail wiring, the connector, or the terminals are damaged.

Engine Coolant Temperature (ECT) Sensor


Object Number: 451377  Size: SH

The engine coolant temperature (ECT) sensor (2) is located at the rear of the cylinder head in the thermostat housing (1). The ECT sensor is a thermistor, or a variable resistor that changes value when the temperature changes. The ECT sensor is connected in series with a fixed resistor in the PCM. The PCM applies 5 volts to the ECT sensor. The PCM monitors the voltage drop across the ECT sensor and converts the voltage reading into a temperature value. The ECT sensor voltage reading at the PCM will vary with the changes in the engine temperature.

Engine Coolant Temperature (ECT) Sensor

Temperature

Resistance

Voltage

Low

High

High

High

Low

Low

Throttle Position (TP) Sensor


Object Number: 469651  Size: SH

The throttle position sensor (1) is located on the side of the throttle body. The TP sensor detects the throttle valve opening. The TP sensor is a potentiometer. The potentiometer is connected to the throttle valve shaft on the throttle body and is responsible for sending the throttle position signal to the PCM.

A 5 volt reference voltage is applied to the TP sensor from the PCM. The voltage reading at the PCM changes as the throttle plate opening increases. The PCM can calculate the throttle valve opening by monitoring the TP sensor output voltage.

The PCM uses the TP sensor signal for one of the inputs in order to control the fuel injector, the idle speed control motor, the exhaust gas recirculation solenoid valve and ignition timing control. The PCM also converts the TP sensor voltage input into an ON and/or OFF signal for use by the automatic transmission.

Intake Air Temperature (IAT) Sensor


Object Number: 451380  Size: SH

The intake air temperature sensor (1) is located in the air cleaner assembly (2). The IAT sensor is a thermistor, or a variable resistor that changes value when the temperature changes. The IAT sensor is connected in series with a fixed resistor in the PCM. The PCM applies 5 volts to the IAT sensor. The PCM monitors the voltage drop across the IAT sensor and converts the voltage reading into a temperature value. The IAT sensor voltage reading at the PCM will vary with the changes in the intake air temperature.

Intake Air Temperature Sensor

Temperature

Resistance

Voltage

Low

High

High

High

Low

Low

Vehicle Speed Sensor (VSS)


Object Number: 470856  Size: SH

The vehicle speed sensor (VSS) is located near the output shaft of the transmission (2WD) or the transfer case (4WD). The VSS contains a driven gear that triggers a hall switch. The PCM receives a voltage signal from the VSS and uses the signal to help control transmission and engine operation.

Mass Air Flow (MAF) Sensor


Object Number: 470757  Size: SH

The mass air flow (MAF) sensor consists of a heat resistor element (1), a metering duct (2), an air straightening screen (3), a body and control circuit board (4). This MAF sensor is of the thermal control type. The heat resistor is cooled off by the air entering the MAF sensor. The control circuit maintains the heat resistor temperature within a predetermined range. When the amount of air entering the sensor increases, the signal created by the sensor and sent to the PCM, also increases. When the air flow decreases, so does the signal current to the PCM. The MAF sensor is located in the air intake duct between the throttle body and the air cleaner.

The MAF sensor measures the amount of air which passes through the sensor in a given amount of time. The PCM uses this information in order to determine the operating requirements of the engine and control fuel delivery. A large quantity of air movement indicates acceleration, while a small quantity indicates deceleration or idle.

Manifold Absolute Pressure (MAP) Sensor


Object Number: 64941  Size: SH

The manifold absolute pressure sensor (1) measures the change in the intake manifold pressure (2). The PCM applies 5 volts to the MAP sensor. The MAP sensor consists of a semi-conductor type pressure sensing element (3). The pressure sensing element converts a change in pressure into an electrical signal. The MAP sensor also contains electronic circuitry that amplifies and corrects the electrical signal. The PCM monitors the change in manifold pressure that results from the changes in RPM and engine load. A low MAP sensor voltage reading at the PCM indicates low manifold pressure. A high MAP sensor voltage reading at the PCM indicates high manifold pressure.

Crankshaft Position (CKP) Sensor


Object Number: 451356  Size: SH

The crankshaft position sensor (1) is mounted in the engine block (2), behind the flywheel or flexplate. The PCM receives a digital signal from the CKP sensor. The PCM uses the CKP sensor signal in order to determine crankshaft speed. The PCM uses crankshaft speed as one of the inputs in engine misfire monitoring. The CKP sensor is not adjustable.

Operation


Object Number: 470755  Size: SH

The CKP sensor (4) generates a magnetic field within the magnet (3) and coil (2) assembly. The CKP sensor has a specified air gap between the sensor core end and the crankshaft signal rotor (1) that is located on the crankshaft. An AC voltage is generated in the sensor when crankshaft rotation causes a change in the magnetic flux. The CKP sensor sends the A/C voltage signal to the PCM.

Camshaft Position (CMP) Sensor


Object Number: 470747  Size: SH

The camshaft position (CMP) sensor (1) is located in a distributor style housing (2) on the back of engine head (3). The PCM uses the CMP sensor input in order to control the fuel injectors and the ignition timing. The CMP sensor is adjustable.

Operation


Object Number: 470749  Size: SH

The CMP sensor (3) contains a signal generator hall switch (2). A signal rotor (2), with 11 notches, is located in the CMP sensor housing and is driven by the camshaft. The CMP sensor has a specified air gap between the sensor core end and the signal rotor. When the signal rotor in the housing turns, a magnetic flux from the magnet is applied to the hall element repeatedly. The hall element generates a voltage that is proportional to the magnetic flux. This voltage signal is wave-shaped and is modified into a digital pulse before being sent to the PCM. The PCM uses the pulse and/or revolution signal in determining the engine speed and the position of each cylinder.

Fuel Level Sensor

The fuel level sensor is located in the fuel tank. The fuel level sensor sends a signal to the PCM and the fuel gauge in the instrument panel. The PCM uses the signal from the fuel level sensor as one of the monitoring conditions for detecting EVAP control system DTCs. The PCM also uses the fuel level sensor input in order to control the EVAP tank pressure control valve. If the fuel level is more than a specified value, the PCM will operate the EVAP tank pressure control valve in order to prevent liquid fuel from flowing into the EVAP canister from the fuel tank.

Fuel Tank Pressure Sensor


Object Number: 158651  Size: SH

The fuel tank pressure sensor is installed on top of the fuel tank. The fuel tank pressure sensor senses the fuel vapor pressure in the fuel tank and compares the vaspor pressure with the barometric pressure. The PCM will then convert the pressure reading into a voltage signal. The PCM uses this signal as one of the inputs to detect an EVAP control system malfunction.

The fuel tank pressure sensor is similar to the MAP sensor. The fuel tank pressure sensor measures the difference between the air pressure, or vacuum, in the fuel tank and the atmospheric pressure. The PCM supplies a 5 volt reference and a ground to the sensor. The sensor sends a voltage signal between 0.1 and 4.9 volts back to the PCM. When the fuel cap is removed, the air pressure in the fuel tank is equal to the atmospheric pressure and the output voltage of the sensor will range from 2.0 to 2.5 volts.

Brake Switch Signal

This signal is sent from the stoplamp switch to the PCM when the brakes are applied. The PCM uses this input to modify fuel delivery during deceleration and to control torque converter clutch (TCC) operation on A/T equipped vehicles.

Electronic Brake Control Module (EBCM) Signal

A vehicle that is equipped with ABS sends a signal from the electronic brake control module (EBCM) to the PCM whenever the ABS is active. The PCM uses this input to modify the fuel delivery and the IAC valve operation during ABS control.

Crank Signal

This signal is sent from the engine starter circuit. Once the signal is received, the PCM detects that the engine is cranking and will use the PCM as one of the signals to control the fuel injection timing and the idle air control (IAC) valve operation.

Transaxle Range (TR) Switch Signal (A/T only)

This signal is sent to the PCM from the transmission range (TR) position switch. The PCM uses this signal as one of the inputs to modify fuel injection timing and idle air control (IAC) valve operation. The PCM also uses the TR switch signal for operation of automatic transmission.

Electrical Load Idle-Up Signals

The PCM receives several electrical load signals from various components. The PCM will adjust the engine idle speed, and sometimes the ignition timing, when receiving the electrical load input. The PCM will signal the idle air control (IAC) valve to open the idle air passage. Opening the idle air passage slightly will maintain an engine speed that provides a desirable idle. The PCM will return the engine to the original idle speed when the electrical load signal is removed. Depending on options, the vehicle will have at least some of the following electrical load inputs:

    • HVAC blower motor switch -- This input affects engine speed and ignition timing.
    • Rear window defogger switch -- This signal passes through an electrical load diode before reaching the PCM. This input affects engine speed and ignition timing. The electrical load diode is taped to the wiring harness and is located behind the PCM, below the glove box.
    • Exterior lights switch -- This input affects the engine speed. On M/T equipped vehicles this signal passes through an electrical load diode before reaching the PCM. The electrical load diode is taped to the wiring harness and is located behind the PCM, below the glove box.

A/C Idle-Up Signal

The A/C compressor control module provides an A/C idle-up signal to the PCM when the A/C compressor clutch is in operation. The PCM uses the A/C idle-up signal in order to modify the engine idle speed. The PCM will signal the IAC valve to open the air passage in the throttle body. Opening the IAC air passage slightly will increase the engine speed in order to prevent a rough idle or a stalling condition.

Power Steering Pressure (PSP) Switch Signal

The power steering pressure (PSP) switch signals the PCM when the vehicle is in need of power steering assist. The turning of the steering wheel causes increased power steering fluid pressure which will close the PSP switch. The PCM uses this signal to tell the IAC valve to raise the idle speed before the load can cause a poor idling condition. The PSP switch is located in the power steering pump housing.

Cruise Control Signal (A/T only)

The cruise control module sends a signal to the PCM in order to request that the PCM disable TCC and overdrive operation.

System Voltage

The fuel injector is driven by the PCM. There is a delay between when the PCM signals the fuel injector on and when the injector actually opens and provides fuel. This delay is known as ineffective injection time and is part of the normal event of electrical flow through the fuel injector solenoid coil.

Because ineffective injection time varies with system voltage, the PCM takes voltage readings and computes the required offset necessary for the proper timing of the fuel injector signal.