GM Service Manual Online
For 1990-2009 cars only

Power Vacuum Brake Booster Replacement 1.6L Non-ABS

Tools Required

    • J 39567 Brake Booster Piston Rod Height Gage
    • J 44485 Booster Push Rod Adjuster Wrench

Removal Procedure

Notice: Internal components of this booster are not serviceable. The housing must not be unstaked and separated. Separating the housing will cause permanent deformation, preventing the booster from holding proper volume.

  1. Remove the master cylinder assembly. Refer to Master Cylinder Replacement .

  2. Object Number: 470161  Size: SH
  3. Disconnect the brake vacuum hose (8) from the brake booster (1).
  4. Remove the clevis pin (7) from the push rod clevis (6).
  5. Disconnect the push rod clevis from the brake pedal arm.
  6. Remove the nuts from the booster.
  7. Remove the booster.

Adjustment Procedure


    Object Number: 172784  Size: SH
  1. Push the piston rod (2) several times, ensuring that the reaction disc is in place.
  2. Maintain atmospheric pressure inside the booster when measuring the clearance.

  3. Object Number: 172785  Size: SH
  4. Place the J 39567 on the master cylinder (1).
  5. Push the J 39567 pin down until it touches the master cylinder piston (2).
  6. Remove the J 39567 from the master cylinder.

  7. Object Number: 172794  Size: SH
  8. Turn the J 39567 upside down and set it on the booster assembly (1).
  9. Specification
    The clearance (2) between the booster piston rod (3) and the J 39567 should be 0 mm (0 in).


    Object Number: 473262  Size: SH
  10. Measure the distance between the piston rod and the mating surface of the booster.
  11. Measurement
    The depth of the piston rod should be 9.40-9.62 mm (0.370-0.378 in)


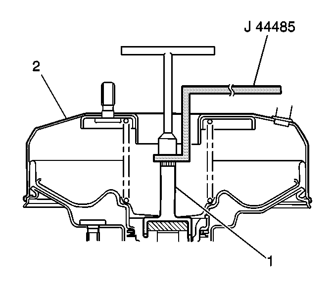
    Object Number: 631089  Size: SH
  12. If the measurement does not equal the specification, use the J 44485 in order to hold the booster piston rod (1).
  13. Turn the adjusting screw of the piston rod in order to adjust the clearance.

Installation Procedure


    Object Number: 172784  Size: SH
  1. Apply Wheel Bearing Lubricant, GM P/N 1051344 (Canadian P/N 993037), or the equivalent, to the master cylinder piston (3).

  2. Object Number: 172782  Size: SH
  3. Install the booster to the bulkhead.
  4. Important: DO NOT tighten the nuts on the bulkhead before the clevis nut.

  5. Install the 4 nuts (2).
  6. Connect the booster push rod clevis (6) to the brake pedal lever. Secure the clevis with the clevis pin and the clip.

  7. Object Number: 474224  Size: SH
  8. Install the push rod clevis (3).
  9. Measurement
    The distance between the clevis pin hole and the brake booster assembly should be 109.5-110.5 mm (4.31-4.35 in).

    Notice: Use the correct fastener in the correct location. Replacement fasteners must be the correct part number for that application. Fasteners requiring replacement or fasteners requiring the use of thread locking compound or sealant are identified in the service procedure. Do not use paints, lubricants, or corrosion inhibitors on fasteners or fastener joint surfaces unless specified. These coatings affect fastener torque and joint clamping force and may damage the fastener. Use the correct tightening sequence and specifications when installing fasteners in order to avoid damage to parts and systems.

  10. Tighten the clevis nut (2).
  11. Tighten
    Tighten the clevis nut to 19 N·m (14.0 lb ft).


    Object Number: 172782  Size: SH
  12. Tighten the booster nuts (2).
  13. Tighten
    Tighten the nuts to 13 N·m (115.0 lb in).

  14. Connect the brake vacuum hose to the brake booster. Secure the hose with the hose clamp.
  15. Install the master cylinder. Refer to Master Cylinder Replacement .

Power Vacuum Brake Booster Replacement 2.0L Non-ABS

Tools Required

    • J 39567 Brake Booster Piston Rod Height Gage
    • J 37767 Brake Booster Piston Rod Adjuster

Removal Procedure

Notice: Internal components of this booster are not serviceable. The housing must not be unstaked and separated. Separating the housing will cause permanent deformation, preventing the booster from holding proper volume.

  1. Remove the master cylinder assembly. Refer to Master Cylinder Replacement .

  2. Object Number: 470161  Size: SH
  3. Disconnect the brake vacuum hose from the brake booster (1).
  4. Remove the clevis pin (7) from the push rod clevis (6).
  5. Disconnect the push rod clevis from the brake pedal arm.
  6. Remove the nuts from the booster.
  7. Remove the booster.

Adjustment Procedure


    Object Number: 172784  Size: SH
  1. Push the piston rod (2) several times, ensuring that the reaction disc is in place.
  2. Maintain atmospheric pressure inside the booster when measuring the clearance.

  3. Object Number: 172785  Size: SH
  4. Place the J 39567 on the master cylinder (1).
  5. Push the J 39567 pin down until it touches the master cylinder piston (2).
  6. Remove the J 39567 from the master cylinder.

  7. Object Number: 172794  Size: SH
  8. Turn the J 39567 upside down and set it on the booster assembly (1).
  9. Specification
    The clearance (2) between the booster piston rod (3) and the J 39567 should be 0 mm (0 in).


    Object Number: 172797  Size: SH
  10. If the measurement does not equal the specification, use the J 37767 in order to hold the booster piston rod (1).
  11. Turn the adjusting screw of the piston rod in order to adjust the clearance.

Installation Procedure


    Object Number: 172784  Size: SH
  1. Apply Wheel Bearing Lubricant, GM P/N 1051344 (Canadian P/N 993037), or the equivalent, to the master cylinder piston (3).

  2. Object Number: 172782  Size: SH
  3. Install the booster to the bulkhead.
  4. Important: DO NOT tighten the nuts on the bulkhead before the clevis nut.

  5. Install the 4 nuts (2).
  6. Connect the booster push rod clevis (6) to the brake pedal lever. Secure the clevis with the clevis pin and the clip.

  7. Object Number: 474224  Size: SH
  8. Install the push rod clevis (3).
  9. Measurement
    The distance between the clevis pin hole and the brake booster assembly should be 109.5-110.5 mm (4.31-4.35 in).

    Notice: Use the correct fastener in the correct location. Replacement fasteners must be the correct part number for that application. Fasteners requiring replacement or fasteners requiring the use of thread locking compound or sealant are identified in the service procedure. Do not use paints, lubricants, or corrosion inhibitors on fasteners or fastener joint surfaces unless specified. These coatings affect fastener torque and joint clamping force and may damage the fastener. Use the correct tightening sequence and specifications when installing fasteners in order to avoid damage to parts and systems.

  10. Tighten the clevis nut (2).
  11. Tighten
    Tighten the clevis nut to 25 N·m (18.0 lb ft).


    Object Number: 172782  Size: SH
  12. Tighten the booster nuts (2).
  13. Tighten
    Tighten the nuts to 13 N·m (115.0 lb in).

  14. Connect the brake vacuum hose to the brake booster. Secure the hose with the hose clamp.
  15. Install the master cylinder. Refer to Master Cylinder Replacement .

Power Vacuum Brake Booster Replacement ABS

Tools Required

    • J 39567 Brake Booster Piston Rod Height Gage
    • J 37767 Brake Booster Piston Rod Adjuster

Removal Procedure

Notice: Internal components of this booster are not serviceable. The housing must not be unstaked and separated. Separating the housing will cause permanent deformation, preventing the booster from holding proper volume.

  1. Remove the Brake Pressure Modulator Valve from the vehicle. Refer to Brake Pressure Modulator Valve Replacement in Antilock Brake System.
  2. Remove the master cylinder assembly. Refer to Master Cylinder Replacement .

  3. Object Number: 470161  Size: SH
  4. Disconnect the brake vacuum hose from the brake booster (1).
  5. Remove the clevis pin (7) from the push rod clevis (6).
  6. Disconnect the push rod clevis from the brake pedal arm.
  7. Remove the nuts from the booster.
  8. Remove the booster.

Adjustment Procedure


    Object Number: 172784  Size: SH
  1. Push the piston rod (2) several times, ensuring that the reaction disc is in place.
  2. Maintain atmospheric pressure inside the booster when measuring the clearance.

  3. Object Number: 172785  Size: SH
  4. Place the J 39567 on the master cylinder (1).
  5. Push the J 39567 pin down until it touches the master cylinder piston (2).
  6. Remove the J 39567 from the master cylinder.

  7. Object Number: 172794  Size: SH
  8. Turn the J 39567 upside down and set it on the booster assembly (1).
  9. Specification
    The clearance (2) between the booster piston rod (3) and the J 39567 should be 0 mm (0 in).


    Object Number: 172797  Size: SH
  10. If the measurement does not equal the specification, use the J 37767 in order to hold the booster piston rod (1).
  11. Turn the adjusting screw of the piston rod in order to adjust the clearance.

Installation Procedure


    Object Number: 172784  Size: SH
  1. Apply Wheel Bearing Lubricant, GM P/N 1051344 (Canadian P/N 993037), or the equivalent, to the master cylinder piston (3).

  2. Object Number: 172782  Size: SH
  3. Install the booster to the bulkhead.
  4. Important: DO NOT tighten the nuts on the bulkhead before the clevis nut.

  5. Install the 4 nuts (2).
  6. Connect the booster push rod clevis (6) to the brake pedal lever. Secure the clevis with the clevis pin and the clip.

  7. Object Number: 474224  Size: SH
  8. Install the push rod clevis (3).
  9. Measurement
    The distance between the clevis pin hole and the brake booster assembly should be 109.5-110.5 mm (4.31-4.35 in).

    Notice: Use the correct fastener in the correct location. Replacement fasteners must be the correct part number for that application. Fasteners requiring replacement or fasteners requiring the use of thread locking compound or sealant are identified in the service procedure. Do not use paints, lubricants, or corrosion inhibitors on fasteners or fastener joint surfaces unless specified. These coatings affect fastener torque and joint clamping force and may damage the fastener. Use the correct tightening sequence and specifications when installing fasteners in order to avoid damage to parts and systems.

  10. Tighten the clevis nut (2).
  11. Tighten
    Tighten the clevis nut to 25 N·m (18 lb ft).


    Object Number: 172782  Size: SH
  12. Tighten the booster nuts (2).
  13. Tighten
    Tighten the nuts to 13 N·m (115 lb in).

  14. Connect the brake vacuum hose to the brake booster. Secure the hose with the hose clamp.
  15. Install the master cylinder. Refer to Master Cylinder Replacement .
  16. Install the Brake Pressure Modulator Valve. Refer to Brake Pressure Modulator Valve Replacement in Antilock Brake System.