GM Service Manual Online
For 1990-2009 cars only

Proportioning Valve Description Non-ABS

If the vehicle does not have ABS, the vehicle has a Load Sensing Proportioning Valve (LSPV). The LSPV controls the hydraulic pressure to the rear brakes in order to prevent the rear wheels from skidding during braking. The LSPV performs the same function as a height sensing proportioning valve.

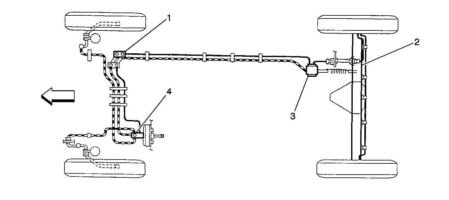
Hydraulic Brake System (Non-ABS)


Object Number: 474262  Size: SF
(1)4-Way Connector
(2)Rear Axle Housing
(3)Load Sensing Proportioning Valve (LSPV)
(4)Master Cylinder

Hydraulic pressure from the primary chamber of the master cylinder passes through a brake pipe and a brake hose to the 4-way connector. A brake pipe connects the 4-way connector to the hydraulic pressure control component in the LSPV. Two brake pipes and a brake hose connect the LSPV to the right rear wheel cylinder. A brake pipe connects the right rear wheel cylinder to the left rear wheel cylinder.

Hydraulic pressure from the secondary chamber of the master cylinder passes through 3 brake pipes. One pipe connects the secondary chamber to the brake hose for the right front caliper. One brake pipe connects the secondary chamber to the brake hose for the left front caliper. One brake pipe connects the secondary chamber to the brake hose for the 4-way connector. One brake pipe connects the 4-way connector to the fail-safe control component in the LSPV.

Load Sensing Proportioning Valve Sectional View


Object Number: 470120  Size: SH
(1)LSPV Lever
(2)LSPV Spring
(3)Plunger
(4)Lip Seal
(5)Fail Safe Control Component
(6)Brake Fluid Passage from the Master Cylinder Secondary Chamber to the Fail Safe Control Component
(7)Hydraulic Pressure Control Component for the Rear Brakes

The LSPV is attached to the frame. The LSPV lever is attached to a spring. The spring is attached to a bracket. The bracket is attached to the rear axle housing.

As the load in the vehicle increases, the distance between the rear axle housing and the frame decreases. As the distance between the rear axle housing and the frame decreases, the length of the spring changes. The spring applies force to the lever and moves the lever. The lever moves the plunger inside the LSPV in order to increase the hydraulic pressure to the rear brakes in proportion to the front brakes.

The fail-safe control component in the LSPV monitors the front hydraulic brake pressure. In case of a loss of front hydraulic brake pressure, the fail-safe piston releases the plunger in the LSPV. This allows full hydraulic pressure from the primary chamber of the master cylinder to the rear brakes. In the fail-safe mode, the load in the vehicle does not cause a reduction in hydraulic pressure to the rear brakes.

Proportioning Valve Description ABS

If the vehicle has ABS, the vehicle has a proportioning valve. The proportioning valve limits the hydraulic pressure to the rear brakes in order to prevent the rear wheels from skidding during braking.

Hydraulic Brake System (ABS)


Object Number: 474276  Size: SF
(1)2-Way Connector
(2)Rear Axle Housing
(3)Proportioning Valve
(4)Master Cylinder
(5)Brake Pressure Modulator Valve

Proportioning Valve (ABS)


Object Number: 470168  Size: SH
(1)Brake Pipe Flare Nuts
(2)Brake Master Cylinder
(3)Brake Master Cylinder Proportioning Valve
(4)Brake Pipe Flare Nuts
(5)Brake Master Cylinder Reservoir