GM Service Manual Online
For 1990-2009 cars only

Removal Procedure


    Object Number: 473486  Size: SH
  1. Remove the spare tire and wheel assembly from the spare wheel carrier. Refer to Spare Tire Replacement in Tires and Wheels.
  2. Important: Before removing the rear wiper arm, note the wiper arm location for proper installation.

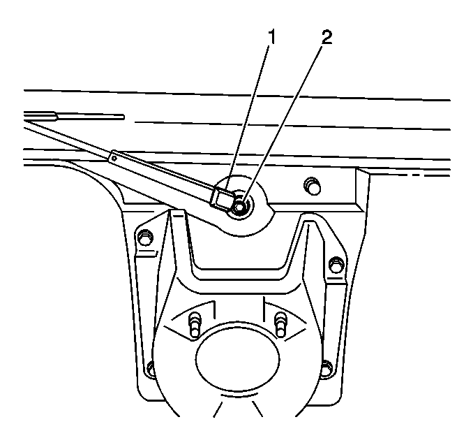
  3. Open the rear window wiper arm nut cover (1) in order to gain access to the rear window wiper arm retaining nut (2).
  4. Remove the rear window wiper arm retaining nut (2) which secures the rear window wiper arm.
  5. Remove the rear window wiper arm from the rear door.

Installation Procedure


    Object Number: 473486  Size: SH

    Notice: Use the correct fastener in the correct location. Replacement fasteners must be the correct part number for that application. Fasteners requiring replacement or fasteners requiring the use of thread locking compound or sealant are identified in the service procedure. Do not use paints, lubricants, or corrosion inhibitors on fasteners or fastener joint surfaces unless specified. These coatings affect fastener torque and joint clamping force and may damage the fastener. Use the correct tightening sequence and specifications when installing fasteners in order to avoid damage to parts and systems.

  1. Install the rear window wiper arm to the rear door. Secure the rear wiper arm with the retaining nut (2).
  2. Tighten
    Tighten the rear window wiper arm retaining nut to 20 N·m (15 lb ft).

  3. Close the rear window wiper arm nut cover (1).
  4. Install the spare tire and wheel assembly to the spare wheel carrier. Refer to Spare Tire Replacement in Tires and Wheels.