GM Service Manual Online
For 1990-2009 cars only

Rear Door Lock Replacement Without Power Locks

Removal Procedure


    Object Number: 474184  Size: SH
  1. Remove the rear side door water deflector. Refer to Rear Side Door Water Deflector Replacement .
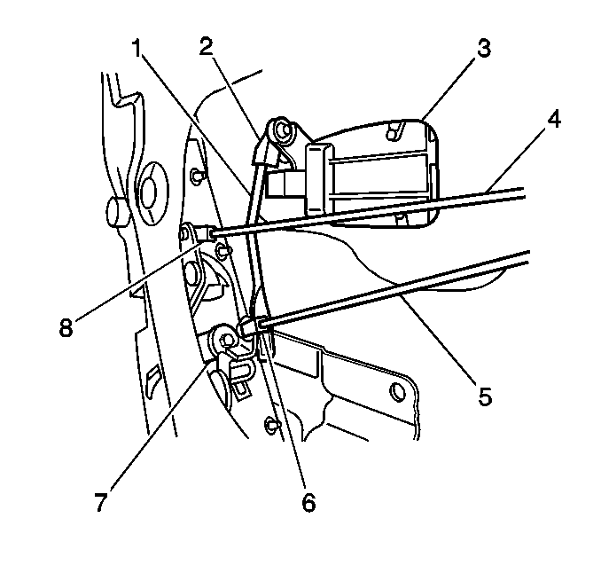
  2. Open the rear side door outside handle rod retainer (2) and remove the rear side door outside handle rod (1) from the rear side door outside handle (3).
  3. Open the rear side door inside handle rod retainer (8) and remove the rear side door inside handle rod (4) from the rear side door lock (7).
  4. Open the rear side door lock rod retainer (6) and remove the rear side door lock rod (5) from the door lock (7).
  5. Remove the following components from the vehicle:
  6. 5.1. The 3 screws
    5.2. The rear side door lock (7)

Installation Procedure


    Object Number: 474184  Size: SH
  1. Install the rear side door lock (7) to the vehicle. Secure the door lock with the 3 screws.
  2. Install the rear side door lock rod (5) to rear side door lock (7). Secure the rod by closing the rear side door lock rod retainer (6).
  3. Install the rear side door inside handle rod (4) to the door lock (7). Secure the rod by closing the rear side door inside handle rod retainer (8).
  4. Install the rear side door outside handle rod (1) to the rear side door outside handle (3). Secure the rod by closing the rear side door outside handle rod retainer (2).
  5. Install the rear side door water deflector. Refer to Rear Side Door Water Deflector Replacement .

Rear Door Lock Replacement With Power Locks

Removal Procedure


    Object Number: 474184  Size: SH
  1. Remove the rear side door water deflector. Refer to Rear Side Door Water Deflector Replacement .
  2. Open the rear side door outside handle rod retainer (2) and remove the rear side door outside handle rod (1) from the rear side door outside handle (3).
  3. Open the rear side door inside handle rod retainer (8) and remove the rear side door inside handle rod (4) from the rear side door lock (7).
  4. Open the rear side door lock rod retainer (6) and remove the rear side door lock rod (5) from the door lock (7).
  5. Disconnect the rear side door lock electrical connector.
  6. Remove the following components from the vehicle:
  7. 6.1. The 3 screws
    6.2. The rear side door lock (7)

Installation Procedure


    Object Number: 474184  Size: SH
  1. Install the rear side door lock (7) to the vehicle. Secure the door lock with the 3 screws.
  2. Connect the rear side door lock electrical connector.
  3. Install the rear side door lock rod (5) to rear side door lock (7). Secure the rod by closing the rear side door lock rod retainer (6).
  4. Install the rear side door inside handle rod (4) to the door lock (7). Secure the rod by closing the rear side door inside handle rod retainer (8).
  5. Install the rear side door outside handle rod (1) to the rear side door outside handle (3). Secure the rod by closing the rear side door outside handle rod retainer (2).
  6. Install the rear side door water deflector. Refer to Rear Side Door Water Deflector Replacement .