GM Service Manual Online
For 1990-2009 cars only

Body Hinge Pillar Trim Panel Replacement Left

Removal Procedure


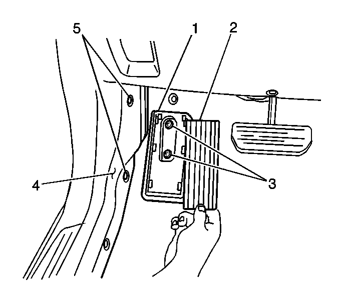
    Object Number: 489159  Size: SH
  1. Remove the front floor foot rest (1). Refer to Foot Rest Replacement .
  2. Remove the following components from the vehicle:
  3. 2.1. The 2 plastic retainers (5)
    2.2. The body hinge pillar trim panel (4)

Installation Procedure


    Object Number: 489159  Size: SH
  1. Install the body hinge pillar trim panel (4) to the vehicle. Secure the trim panel with the 2 plastic retainers (5).
  2. Install the front floor foot rest (1). Refer to Foot Rest Replacement .

Body Hinge Pillar Trim Panel Replacement Right

Removal Procedure

Remove the following components from the vehicle:

  1. The 2 plastic retainers
  2. The body hinge pillar trim panel

Installation Procedure

Install the body hinge pillar trim panel to the vehicle. Secure the trim panel with the 2 plastic retainers.