GM Service Manual Online
For 1990-2009 cars only

Removal Procedure

  1. Remove the endgate hinge cover from the vehicle by gently prying in order to release the plastic retainers which secure the cover.
  2. Remove the spare wheel carrier. Refer to Spare Wheel and Carrier Replacement .
  3. Remove the endgate trim panel seal. Refer to Water Deflector Replacement .
  4. Remove the rear license plate housing. Refer to Rear License Plate Housing Replacement .
  5. Remove the endgate lock cylinder. Refer to Endgate Lock Cylinder Replacement .
  6. Remove the endgate lock. Refer to Rear Door Lock Replacement .

  7. Object Number: 470817  Size: SH
  8. Remove the endgate bumper. Refer to Rear Door Bumper Replacement .
  9. Remove the endgate strut. Refer to Endgate Strut Replacement .
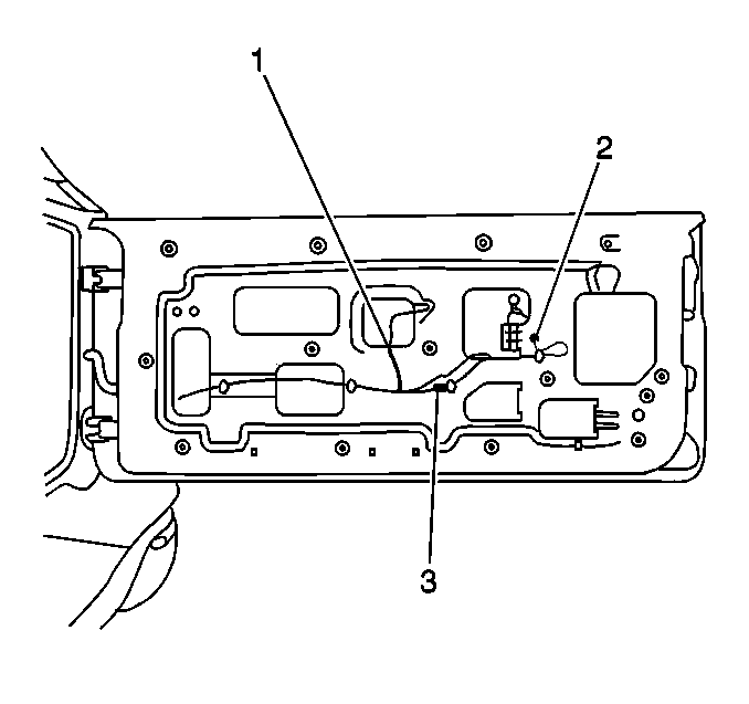
  10. Remove the screw (2) which secures the endgate wiring harness ground wire (1).
  11. Release the plastic retainers (3) which secure the endgate door wiring harness (1) to the endgate panel.
  12. Feed the wiring harness (1) through the endgate panel.
  13. Remove the grommet and wiring harness (1) from the endgate panel.

  14. Object Number: 473514  Size: SH
  15. Suitably support the endgate panel.
  16. Remove the 4 bolts (3) which secure the endgate lower hinge to the endgate panel (2).
  17. Remove the 2 bolts (1) which secure the endgate upper hinge to the endgate panel (2).
  18. Remove the endgate panel (2) from the vehicle.

Installation Procedure


    Object Number: 473514  Size: SH
  1. Install the endgate panel (2) to the vehicle. Secure the endgate with the 2 endgate upper hinge bolts (1). Do not tighten fully at this time.
  2. Notice: Use the correct fastener in the correct location. Replacement fasteners must be the correct part number for that application. Fasteners requiring replacement or fasteners requiring the use of thread locking compound or sealant are identified in the service procedure. Do not use paints, lubricants, or corrosion inhibitors on fasteners or fastener joint surfaces unless specified. These coatings affect fastener torque and joint clamping force and may damage the fastener. Use the correct tightening sequence and specifications when installing fasteners in order to avoid damage to parts and systems.

  3. Install the 4 bolts (3) which secure the endgate lower hinge to the endgate panel (2).
  4. Tighten
    Tighten the endgate hinge bolts to 34 N·m (25 lb ft).

  5. Remove the support from the endgate panel.

  6. Object Number: 470817  Size: SH
  7. Install the grommet and endgate wiring harness (1) to the endgate panel.
  8. Feed the wiring harness (1) through the endgate panel. Secure the wiring harness to the endgate with the plastic retainers (3).
  9. Install the screw (2) which secures the endgate wiring harness ground wire (1).
  10. Install the endgate strut. Refer to Endgate Strut Replacement .
  11. Install the endgate bumper. Refer to Rear Door Bumper Replacement .
  12. Install the endgate lock. Refer to Rear Door Lock Replacement .
  13. Install the endgate lock cylinder. Refer to Endgate Lock Cylinder Replacement .
  14. Install the rear license plate housing. Refer to Rear License Plate Housing Replacement .
  15. Install the endgate trim panel seal. Refer to Water Deflector Replacement .
  16. Install the spare wheel carrier. Refer to Spare Wheel and Carrier Replacement .
  17. Install the endgate hinge cover to the endgate panel. Ensure that the plastic retainers are fully engaged.

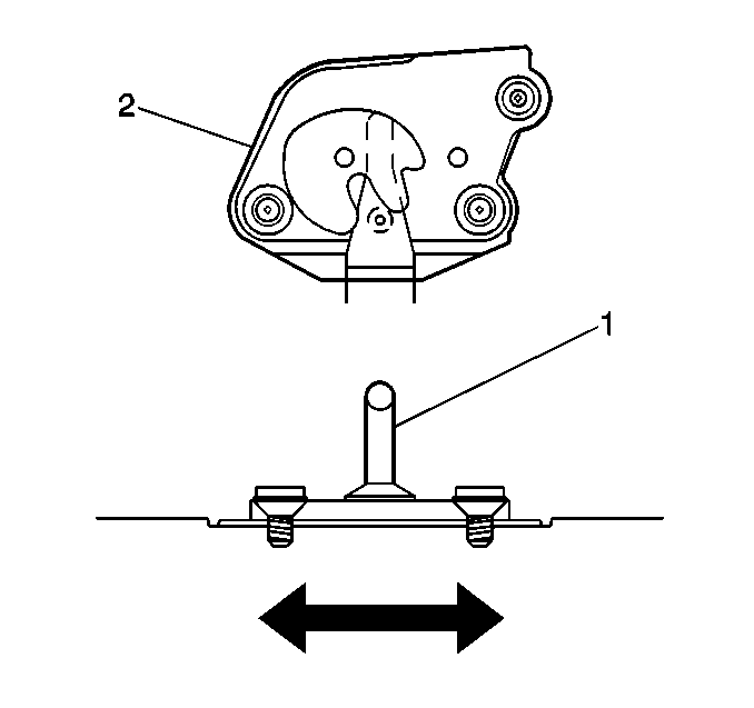
  18. Object Number: 351653  Size: SH
  19. Adjust the striker (1) vertical measurement in order to align with the center of the endgate lock (2).
  20. Keep the lock striker (1) level while moving the striker sideways in order to adjust the endgate flushness with the quarter panel, as needed. Refer to Door Adjustment in Doors.