 
The shift solenoid #1 and the shift solenoid #2 operate together in order to electronically control the shifting of the transmission from 1st gear to 4th gear (overdrive). The powertrain control module (PCM) outputs the system voltage in order to perform the following actions:
| • | Turn on (energize) either solenoid. | 
| • | Turn off (de-energize) either solenoid. | 
| The PCM performs the above actions when necessary. | 
The transmission shifts with the combination of both solenoids turning on and off. The shift solenoid #1 is normally ON in the 1st and the 2nd gears. The shift solenoid #1 does not operate in the 3rd and the 4th gears. The shift solenoid #2 is normally ON in the 2nd and the 3rd gears. The shift solenoid #2 does not operate in the 1st and the 4th gears. The 4th gear (overdrive) is obtained when both of the shift solenoids are not operating.
| • | The voltage detected at terminal 15 is 2.0 V or lower when the PCM commands the shift solenoid #1 ON. | 
| • | The voltage detected at terminal 15 is 5.5 V or higher when the PCM commands the shift solenoid #1 OFF. | 
| • | Two driving cycle detection logic. | 
| • | DTC P0753 stores. | 
| • | The PCM enters the fail-safe mode. | 
| • | The malfunction indicator lamp (MIL) turns on. | 
During the fail-safe mode operation, 3rd gear operates instead of the 1st and the 2nd gears when the manual selector is in DRIVE range. The torque converter clutch does not engage.
Inspect for the following conditions:
| • | An open or shorted shift solenoid #1 | 
| • | Faulty electrical circuits (open or short to ground) between the shift solenoid #1 and the PCM | 
| • | A faulty PCM | 
The following conditions may cause an intermittent:
| • | A reduced connection | 
| • | Rubbed through wire insulation | 
| • | A broken wire inside the insulation | 
Inspect the PCM harness connectors for the following conditions:
| • | Backed out terminals | 
| • | Improper mating | 
| • | Broken locks | 
| • | Improperly formed or damaged terminals | 
| • | Reduced terminal-to-wire connections | 
If DTC P0753 cannot duplicate, the information included in the Freeze Frame data may be useful in determining the vehicle operating conditions when the DTC set.
Refer to Wiring Repairs in Wiring Systems when repairing any wiring.
| • | DTC P0753 | 
| • | Any pending DTCs | 
Remain in DRIVE range for 10 seconds.
Continue driving for 10 seconds at 40 km/h (25 mph).
The numbers below refer to the step numbers on the diagnostic table.
The Powertrain OBD System Check prompts the technician to complete some basic checks and store the freeze frame data on the scan tool if applicable. The scan tool creates an electronic copy of the data taken when the fault occurred. The information then stores in the scan tool for later reference.
This step tests the shift solenoid internal coil resistance.
This step tests for a short to ground in the GRN/ORN wire.
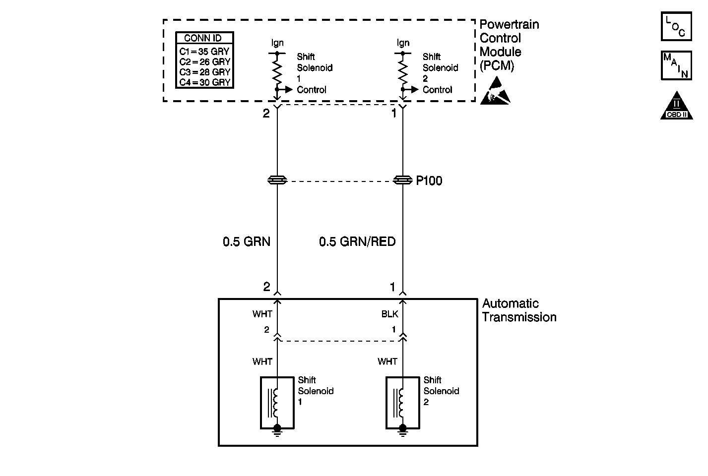
Refer to the above figure.
This step tests for an open in the GRN/ORN wire.
This step inspects the condition of the transmission internal electrical harness for damage.
This step tests for a short to voltage in the GRN/ORN wire.
This step tests for a reduced electrical connection that may have set DTC P0753.
This step tests for a faulty PCM.
| Step | Action | Value(s) | Yes | No | 
|---|---|---|---|---|
| Was the On-Board Diagnostic (OBD) System Check performed? | -- | Go to Powertrain On Board Diagnostic (OBD) System Check in Engine Controls | ||
| 2 | 
 Does the scan tool display any other DTCs in addition to DTC P0753? | -- | Go to the applicable DTC table | |
| 
 Is the resistance within the specified range? | 11-16.6 ohms at 24°C (75°F) | |||
| 
 Is the resistance equal to the specified value? | Infinite | |||
| Use J 39200 in order to measure the resistance between the PCM harness connector C3 terminal 2 and the transmission shift solenoid connector cavity 2. Is the resistance less than the specified value? | 2 ohms | |||
| 
 Is the procedure complete? | -- | -- | ||
| 
 Is the voltage less than the specified value? | 2 V | |||
| Inspect all of the electrical connections for reduced terminal contact or a reduced connection. Do reduced terminal contact or reduced connections exist? | -- | |||
| 
 Does DTC P0753 reset? | -- | |||
| 10 | Repair the short to ground in the GRN wire between the PCM and the shift solenoid #1. Is the repair complete? | -- | -- | |
| 11 | Repair the open or the high resistance in the GRN wire between the PCM and the shift solenoid #1. Is the repair complete? | -- | -- | |
| 12 | Repair the short to voltage in the GRN wire between the PCM and the shift solenoid #1. Is the repair complete? | -- | -- | |
| 13 | Repair any terminals or connections that exhibit reduced contact. Is the repair complete? | -- | -- | |
| 14 | Refer to Diagnostic Aids for a possible intermittent condition. Is the procedure complete? | -- | -- | |
| 15 | Replace the PCM. Refer to Powertrain Control Module Replacement/Programming in Engine Controls. Is the procedure complete? | -- | -- | |
| 16 | 
 Does the scan tool display any DTCs? | -- | Go to the applicable DTC table | System OK |