GM Service Manual Online
For 1990-2009 cars only

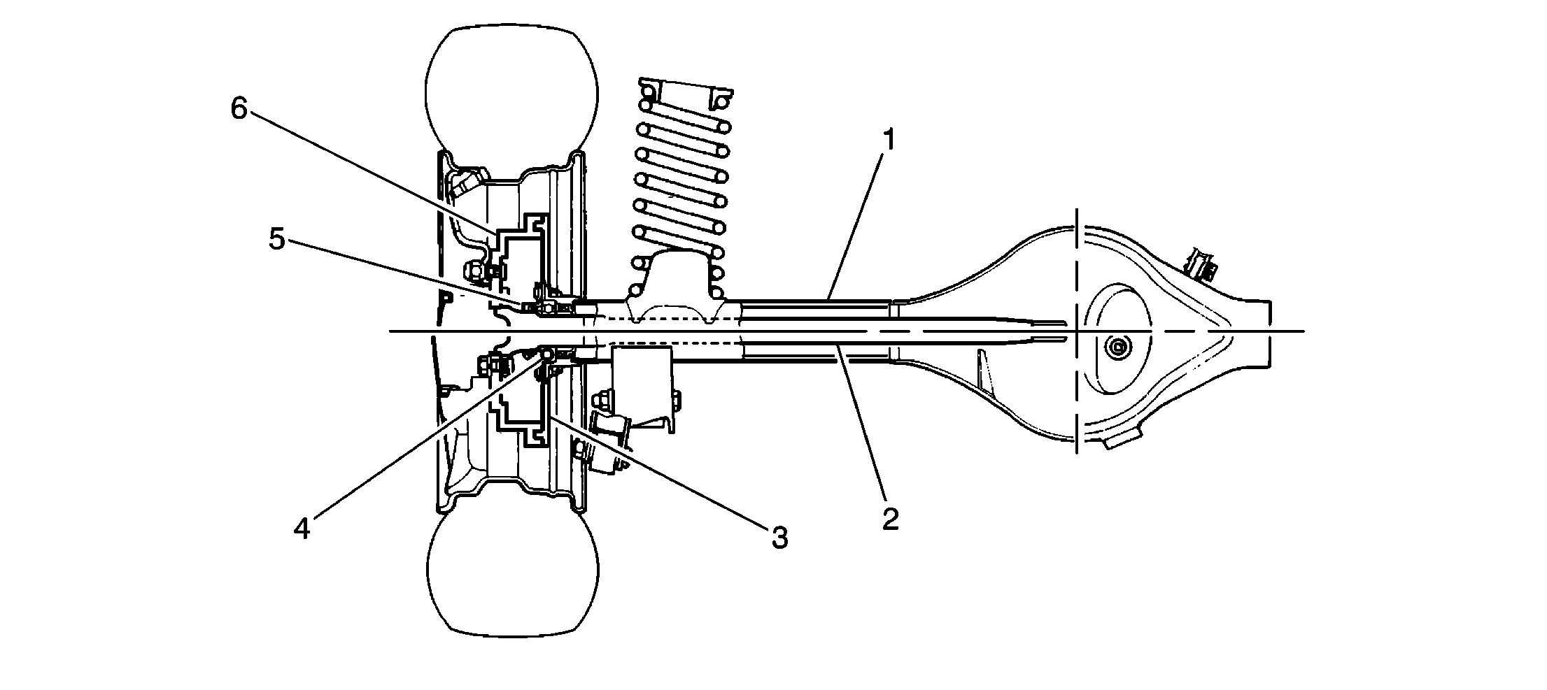
Rear Axle


Object Number: 173248  Size: SF
(1)Rear Axle Housing
(2)Rear Axle Shaft
(3)Brake Backing Plate
(4)Rear Axle Shaft Bearing
(5)Rear Axle Shaft Bearing Retainer
(6)Brake Drum

The rear axle assembly contains two rigid axle shafts which transfer engine torque to the rear wheels. These axle shafts (2) are supported in the rear axle housing (1) by bearings (4) at both outer ends, and driven by the differential assembly which is mounted in the center of the rear axle housing. A propeller shaft turns the differential assembly and transfers power to the rear axle shafts. The rear axle housing is sealed and contains a synthetic gear lubricant which lubricates the differential assembly and axle shafts bearings. The rear axle housing is also vented to prevent excessive heat buildup. The rear trailing rods connect the rear axle housing to the frame and act as pivot points for the housing as it moves up and down with the rear suspension. Coil springs support the rear of the vehicle and are seated into the frame and rear axle housing axle. Shock absorbers are fitted between the rear axle housing and the frame to help to reduce road vibration and rough pavement. An upper control arm is fitted to the body by bushings, and to the rear differential carrier by a rear control arm ball joint to prevent the rear axle housing from moving in a lateral direction.

Typical Differential


Object Number: 173249  Size: MF
(1)Pinion Gear
(2)Differential Carrier
(3)Pinion Selective Shim
(4)Right Side Bearing Adjuster
(5)Rear Axle Shaft
(6)Side Bearing Cap
(7)Side Bearing
(8)Pinion Cross Shaft (Long)
(9)Left Differential Case
(10)Side Gear
(11)Differential Pinion Gear
(12)Ring Gear
(13)Inner Pinion Bearing
(14)Collapsible Spacer
(15)Outer Pinion Bearing

The differential assembly uses a hypoid, beveled ring and pinion gear set. It consists of a ring gear (12) which is mounted to the differential case (9) and a pinion gear (1) which is mounted in the differential carrier (2). The ring and pinion gears are in constant mesh with each other. A set of six gears are mounted inside the differential case. Two of these gears are known as side gears (10) and the other four are known as differential pinion gears (11). Each side gear is splined to an axle shaft (5) which causes each axle shaft to turn when its side gear rotates. The differential pinion gears are mounted on a pinion cross shaft (8) and are free to rotate on it. The pinion shaft is fitted into a bore in the differential case and is held in place by a pinion shaft roll pin. The differential case is mounted in the differential carrier where the pinion gear drives the ring gear, differential case, and the side and differential pinion gears. The differential carrier is mounted near the center of the rear axle housing.

Rear Axle Operation

Differential Carrier Components


Object Number: 173721  Size: LF
(1)Pinion Washer
(2)Pinion Cross Shaft (Short)
(2)Pinion Cross Shaft (Short)
(3)Differential Pinion Gear
(3)Differential Pinion Gear
(3)Differential Pinion Gear
(4)Pinion Washer
(4)Pinion Washer
(4)Pinion Washer
(5)Side Gear
(5)Side Gear
(6)Side Gear Spring Washer
(6)Side Gear Spring Washer
(7)Side Gear Washer
(7)Side Gear Washer
(8)Ring Gear
(9)Right Differential Case
(10)Rear Wheel Speed Sensor Exciting Ring
(11)Left Differential Case
(12)Ring Gear Bolts
(13)Left Side Bearing Adjuster
(14)Side Bearing Lock Plate Bolt
(14)Side Bearing Lock Plate Bolt
(15)Side Bearing Lock Plate
(16)Side Bearing
(16)Side Bearing
(17)Differential Carrier Nuts
(18)Side Bearing Cap
(19)Side Bearing Cap Bolt
(20)Rear Wheel Speed Sensor
(21)Rear Wheel Speed Sensor Bolt
(22)Pinion Flange Nut
(23)Pinion Flange
(24)Pinion Seal
(25)Outer Pinion Bearing
(26)Differential Carrier
(27)Collapsible Spacer
(28)Inner Pinion Bearing
(29)Pinion Selective Shim
(30)Pinion Gear
(31)Right Side Bearing Adjuster
(32)Cross Shaft Joint
(33)Pinion Cross Shaft (Long)
(34)Side Bearing Lock Plate
(35)Cross Shaft Roll Pin

Engine torque is provided by a rear propeller shaft that is bolted to the pinion gear by a universal joint and pinion flange. The pinion gear is in constant mesh with the ring gear and causes it to turn. The ring gear then rotates the differential case causing the differential pinion gears to turn with the case. This causes the side gears and both rear axle shafts to rotate. When both wheels have equal traction, the pinion gears do not rotate on the cross shaft. This is due to an input force that is equally divided between the side gears. In other words, the pinion gears revolve with the cross shaft but do not rotate around it. When the vehicle turns a corner, the outer axle must turn faster than the inner axle. When the inner axle turns slower than the outer, it slows its side gear. The differential pinion gears will roll around the slower side gear providing torque to the outer axle shaft.

Rear Wheel Speed Sensor (ABS)

A four-wheel antilock braking system is optional equipment on this vehicle. The rear wheel speed sensor is mounted on the rear differential carrier. The rear wheel speed sensor consists of a magnetic core, with a magnet and a coil. The speed sensor exciter ring is mounted on the differential case behind the ring gear and rotates with the case. An electrical impulse is produced each time a gear tooth of the speed sensor exciter ring passes the rear wheel speed sensor, allowing the sensor to receive a signal in direct proportion to the rear axle speed. This signal is then sent to the Electronic Brake Control Module (EBCM). For more information and diagnostic procedures, refer to Antilock Brake System.