GM Service Manual Online
For 1990-2009 cars only

Removal Procedure


    Object Number: 479379  Size: SH
  1. Remove the parking brake lever bezel attaching screws (2).
  2. Remove the parking brake lever bezel (1).

  3. Object Number: 479378  Size: SH
  4. Remove the center console attaching screws (2).
  5. Remove the center console (1).

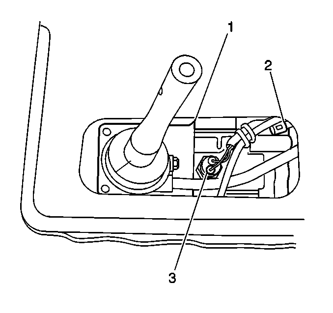
  6. Object Number: 479376  Size: SH
  7. Disconnect the 4WD switch electrical connector (2).
  8. Remove the 4WD switch (3) from the transfer case (1).

Installation Procedure


    Object Number: 395805  Size: SH

    Notice: Use the correct fastener in the correct location. Replacement fasteners must be the correct part number for that application. Fasteners requiring replacement or fasteners requiring the use of thread locking compound or sealant are identified in the service procedure. Do not use paints, lubricants, or corrosion inhibitors on fasteners or fastener joint surfaces unless specified. These coatings affect fastener torque and joint clamping force and may damage the fastener. Use the correct tightening sequence and specifications when installing fasteners in order to avoid damage to parts and systems.

  1. Install the 4WD switch (1) to the transfer case (2).
  2. Tighten
    Tighten the 4WD switch to 30 N·m (22 lb ft).


    Object Number: 479376  Size: SH
  3. Connect the 4WD switch electrical connector (2).

  4. Object Number: 479378  Size: SH
  5. Install the center console (1).
  6. Install the center console attaching screws (2).

  7. Object Number: 479379  Size: SH
  8. Install the parking brake lever bezel (1).
  9. Install the parking brake lever bezel attaching screws (2).
  10. Perform Diagnostic System Check - ABS .