GM Service Manual Online
For 1990-2009 cars only
Makes
🢒
Chevrolet
🢒
2001
🢒
Tracker - 2WD
🢒
Brakes
🢒
Antilock Brake System
🢒 Rear Wheel Speed Sensor Ring Replacement
Removal Procedure
Remove the rear axle shaft. Refer to
Rear Axle Disassemble
in Rear Drive Axle.
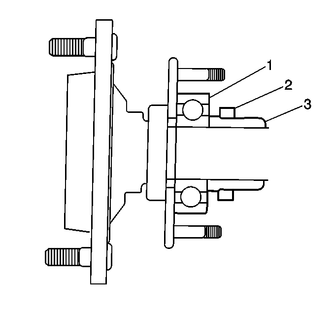
Grind a flat spot on the reluctor wheel (1).
Use a hammer and chisel in order to remove the ABS reluctor wheel (1).
Installation Procedure
Install the rear ABS reluctor wheel (2) onto the rear axle shaft. Refer to
Rear Axle Assemble
in Rear Drive Axle.
Install the axle shaft. Refer to
Rear Axle Assemble
in Rear Drive Axle.
Perform
Diagnostic System Check - ABS
.