GM Service Manual Online
For 1990-2009 cars only
Figure 1:

Information Sensors/Input Devices


Object Number: 690203  Size: LF
(1)Fuel Level Sensor
(2)TP Sensor
(3)MAF Sensor
(4)CMP Sensor
(5)PSP Switch
(6)HO2S Bank 1 Sensor 1
(7)ECT Sensor
(8)CKP Sensor
(9)IAT Sensor
(10)HO2S Bank 2 Sensor 1
(11)MAP Sensor
(12)VSS
(13)Fuel Tank Pressure Sensor
Figure 2:

PCM Controlled Devices


Object Number: 690202  Size: LF
(1)EVAP Canister Purge Valve
(2)Exhaust Gas Recirculation (EGR) Valve
(3)IAC Valve
(4)Malfunction Indicator Lamp (MIL)
(5)Bank 1 Ignition Coils
(6)Fuel Pump Relay
(7)Main Relay
(8)HO2S Heater Relay
(9)Fuel Injectors
(10)A/C Condenser Fan Relay
(11)Bank 2 Ignition Coils
(12)EVAP Canister Vent Valve
Figure 3:

Other Engine Control System Components


Object Number: 690204  Size: LF
(1)Data Link Connector (DLC)
(2)ABS Control Module
(3)Powertrain Control Module (PCM)
(4)Noise Suppressor Filter
(5)EVAP Canister
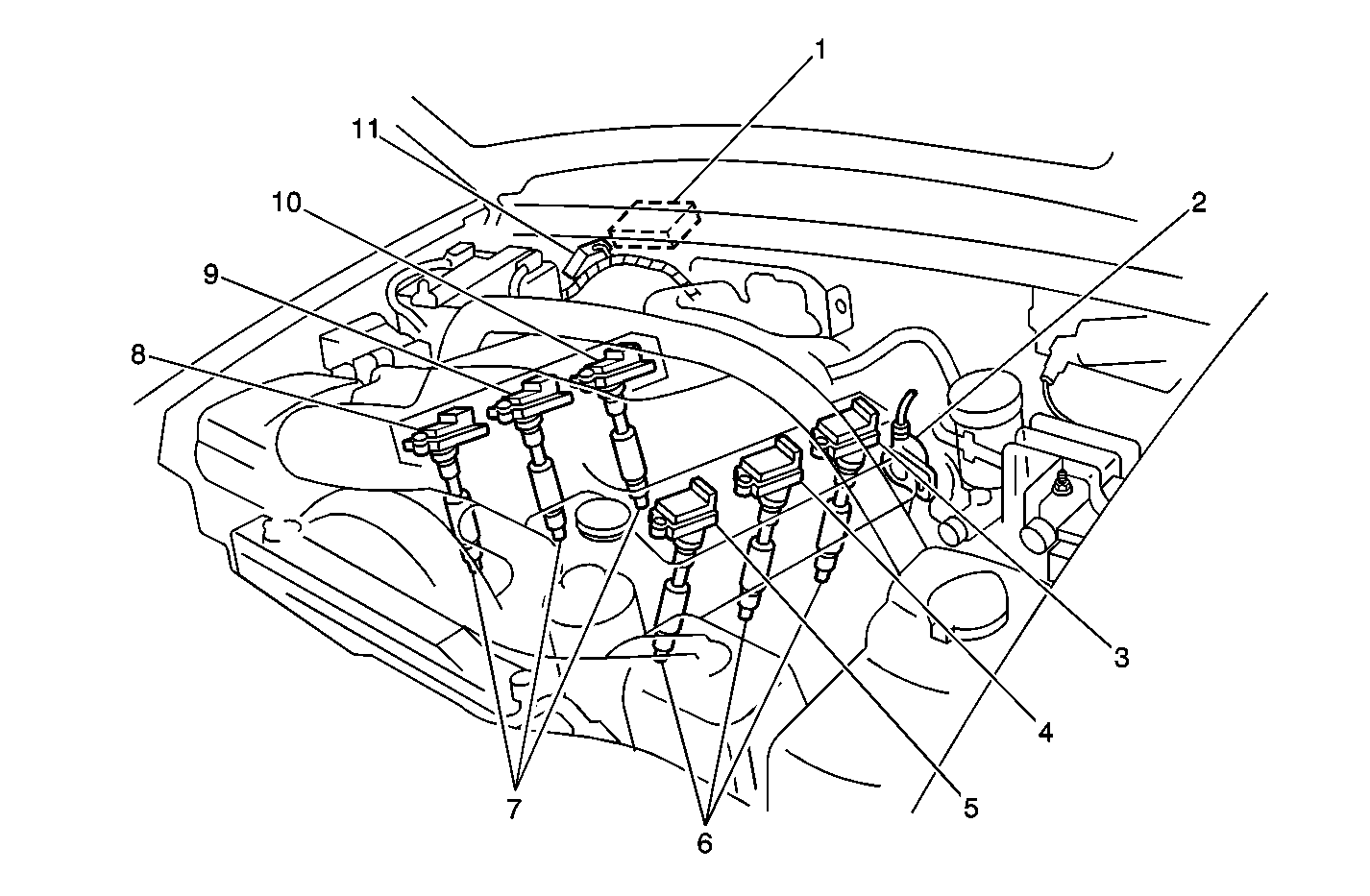
Figure 4:

Ignition System


Object Number: 690205  Size: MF
(1)PCM
(2)CMP Sensor
(3)Ignition Coil 5
(4)Ignition Coil 3
(5)Ignition Coil 1
(6)Spark Plugs Bank 1
(7)Spark Plugs Bank 2
(8)Ignition Coil 2
(9)Ignition Coil 4
(10)Ignition Coil 6
(11)Noise Suppressor
Figure 5:

Engine Compartment View


Object Number: 690206  Size: MF
(1)Throttle Body Assembly
(2)Fast Idle-Up Valve
(3)MAP Sensor
(4)Engine Coolant Hose for Fast Idle-Up Valve
(5)EVAP Canister Purge Valve
(6)PCV Breather Hose
(7)EGR Pipe
(8)Exhaust Manifold
(9)HO2S Bank 2 Sensor 1
(10)EGR Valve
(11)PCV Hose
(12)IAC Valve
(13)PCV Valve
(14)Brake Booster Vacuum Supply
(15)Fuel Pressure Regulator Vacuum Hose
(16)Fuel Pressure Regulator
(17)IAC Bypass Air Hose
Figure 6:

Main Relay and Fuel Pump Relay


Object Number: 468070  Size: SH
(1)Main Relay
(2)Fuel Pump Relay
(3)Junction Box (located above left side hinge pillar trim panel)
Figure 7:

Exhaust System Components


Object Number: 728058  Size: SH
(1)Bank 2 Exhaust Manifold
(2)HO2S Bank 2 Sensor 1
(3)HO2S Bank 1 Sensor 1
(4)Bank 1 Exhaust Manifold
(5)Bank 1 Warm-Up TWC Converter
(6)HO2S Bank 1 Sensor 2
(7)HO2S Bank 2 Sensor 2
(8)Bank 2 Warm-Up TWC Converter