GM Service Manual Online
For 1990-2009 cars only

Removal Procedure


    Object Number: 467834  Size: SH
  1. Open the instrument panel (IP) compartment.
  2. Push in the left and right side of the IP compartment and lower the IP compartment.

  3. Object Number: 474194  Size: SH
  4. Remove the fresh/recirc control cable (1) from the clip at the blower case. Unhook the cable from the fresh/recirc door pin.

  5. Object Number: 474200  Size: SH
  6. Remove the heater control assembly from the instrument panel (IP) in order to gain access to the cable. Do not remove the heater control assembly from the vehicle. Refer to Control Assembly Replacement .
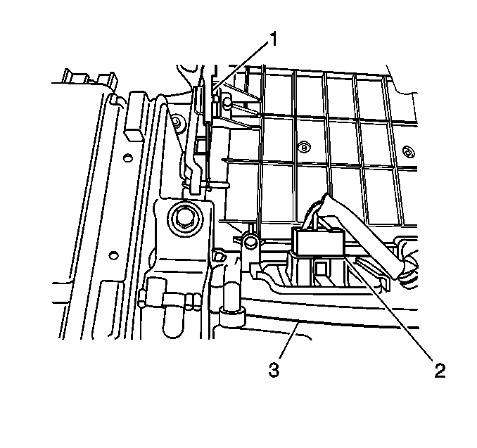
  7. Gently pry the fresh/recirc control cable (3) sheath from the heater control unit. Unhook the cable from the lever arm.
  8. Important: Note the routing position of the cable in order to facilitate installation.

  9. Remove the fresh/recirc control cable from the instrument panel.

Installation Procedure

  1. Route the fresh/recirc cable (3) into the instrument panel as previously noted.
  2. Hook the end of the cable into the hole in the lever arm.
  3. Slide the sheath back on the cable.
  4. Line up the sheath with the sheath retainer.
  5. Slide the sheath into its retainer until it snaps into place.

  6. Object Number: 474200  Size: SH
  7. Install the heater control assembly. Refer to Control Assembly Replacement .

  8. Object Number: 474194  Size: SH
  9. Install the fresh/recirc control cable (1) onto the pin of the fresh/recirc door and install the cable to the clip at the heater case.
  10. Adjust the cable as necessary. Refer to Vent Control Cable Adjustment .
  11. Close the IP compartment.