GM Service Manual Online
For 1990-2009 cars only
Figure 1:

G100, G101 and G102


Object Number: 673573  Size: FS
Master Electrical Component List
G103
Figure 2:

G103


Object Number: 673576  Size: FS
Master Electrical Component List
G104
G100, G101 and G102
Figure 3:

G104


Object Number: 673577  Size: FS
Master Electrical Component List
G105
G103
Figure 4:

G105


Object Number: 673582  Size: FS
Master Electrical Component List
G200 (1 of 2)
G104
Figure 5:

G200 (1 of 2)


Object Number: 673587  Size: FS
Master Electrical Component List
G200 (2 of 2)
G105
Figure 6:

G200 (2 of 2)


Object Number: 673592  Size: FS
Master Electrical Component List
G200 and G201
G200 (1 of 2)
G200 and G201
Figure 7:

G200 and G201


Object Number: 673599  Size: FS
Master Electrical Component List
G201
G200 (2 of 2)
G201
G200 (2 of 2)
Figure 8:

G201


Object Number: 673604  Size: FS
Master Electrical Component List
G202
G200 and G201
G200 and G201
Figure 9:

G202


Object Number: 673610  Size: FS
Master Electrical Component List
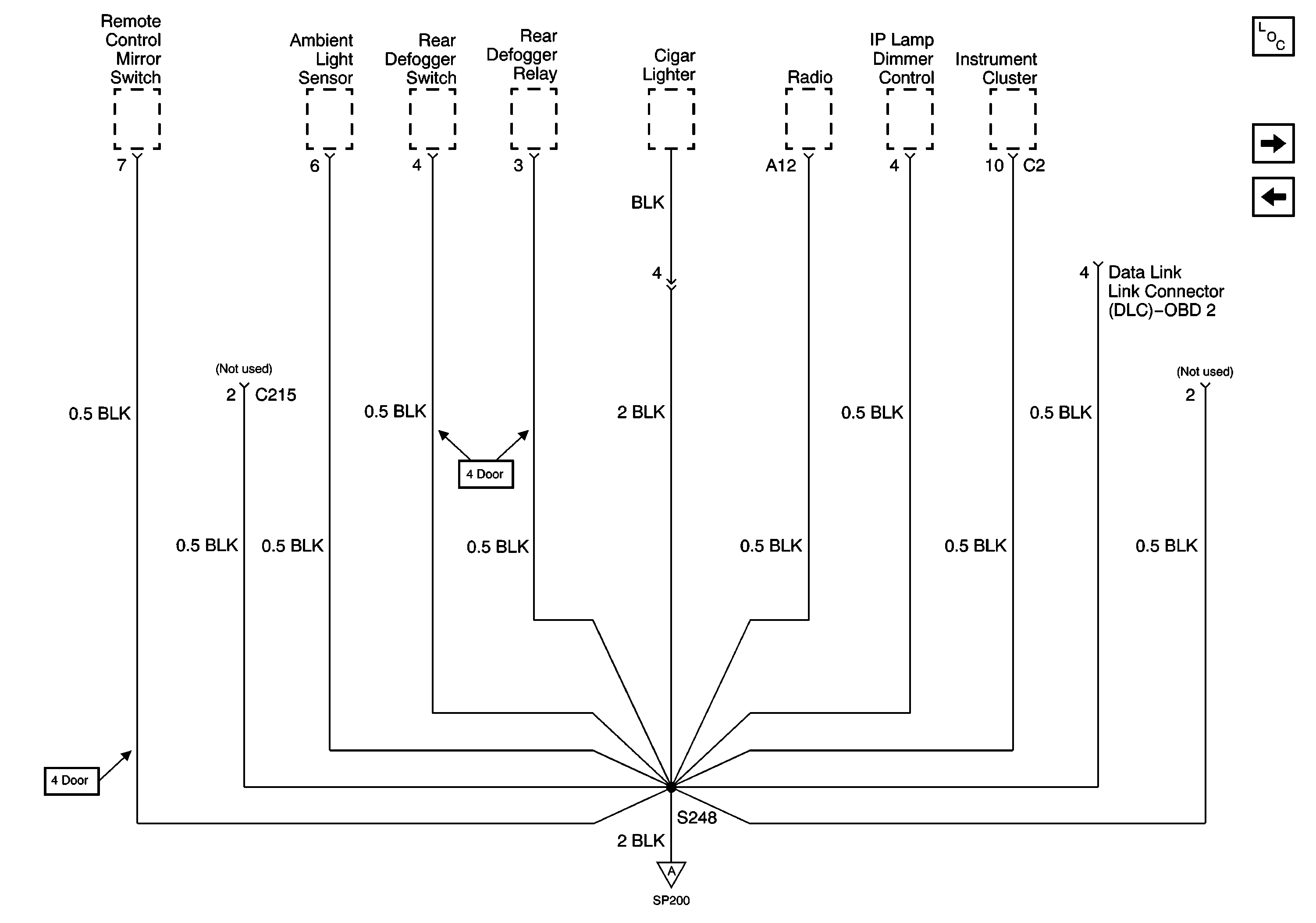
G400 and G401
G201
SIR Handling Caution
Figure 10:

G400 and G401


Object Number: 673613  Size: FS
Master Electrical Component List
G202