GM Service Manual Online
For 1990-2009 cars only

To remove the side window do the following:


    Object Number: 810145  Size: B3
  1. Release the tension in the canvas top support arms. Unfasten the hook and loop fastener strips on the top and rear quarter of the side window.
  2. Unzip the zipper almost all the way, leaving about 3 inches (8 cm) of it still zipped and unfasten the hook and loop fastener strips on the inside of the window.
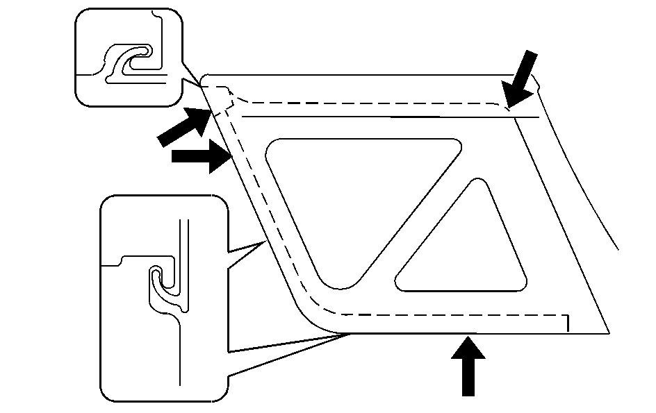
  3. Release the plastic strip sewn along the bottom edge of the window by gently pulling down and out. Then release the plastic along the front edge of the window by pulling it forward and out. It may help to rock the window back and forth to remove it.

  4. Object Number: 810070  Size: B3
  5. Unfasten the plastic clip, which is part of the canvas top, at the top front corner of each side window. Then unzip the zipper the rest of the way and remove the side window.

To install the side window:


    Object Number: 810150  Size: B3
  1. Make sure the plastic clip at the top front corner of the canvas top is unfastened.
  2. Then start by zipping the zipper about 3 inches (8 cm), to hold the window in place. When zipping, place the rear bottom corner of the window inside the rear part of the vehicle body to help support the window while you engage the zipper end.
  3. Install the plastic strip into the window channel before completely zipping the window. There is a locating pin in the front upper corner to assist in aligning the window.
  4. Pull rearward on the rear edge of the window to make sure the window is secure and finish zipping the window.

  5. Object Number: 810076  Size: B3
  6. After completing installation, make sure that the front and bottom ends are securely hooked and the rear top end of the window is under the canvas top.
  7. Refasten the plastic clip at the top front corner of the side window. Restore the tension to the canvas top support arms.