GM Service Manual Online
For 1990-2009 cars only

The steering gear includes the steering gear boots and the inner tie rods. DO NOT disassemble the steering gear.

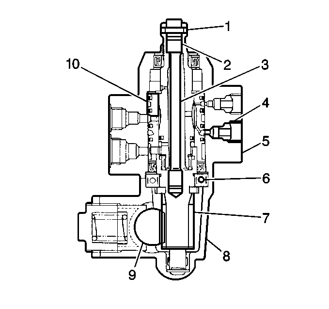
Steering Gear Sectional Side View


Object Number: 461461  Size: SH
(1)Pin
(2)Stub Shaft
(3)Torsion Bar
(4)Ferrule
(5)Valve Case
(6)Bearing
(7)Pinion
(8)Steering Gear Housing
(9)Rack
(10)Sleeve

The steering gear consists of a cylinder section and a valve section. The main components of the cylinder section are the gear housing, the rack, and the tube. The main components of the valve section are the valve case, the pinion, the sleeve, and the stub shaft. The pinion and the stub shaft are linked to each other by the torsion bar.

When the stub shaft moves, the valve changes its position, switching the hydraulic passage from the pump to the cylinder in order to assist the steering operation.