GM Service Manual Online
For 1990-2009 cars only
Makes
🢒
Chevrolet
🢒
2000
🢒
Tracker - 4WD
🢒
Engine
🢒
Engine Controls - 1.6L
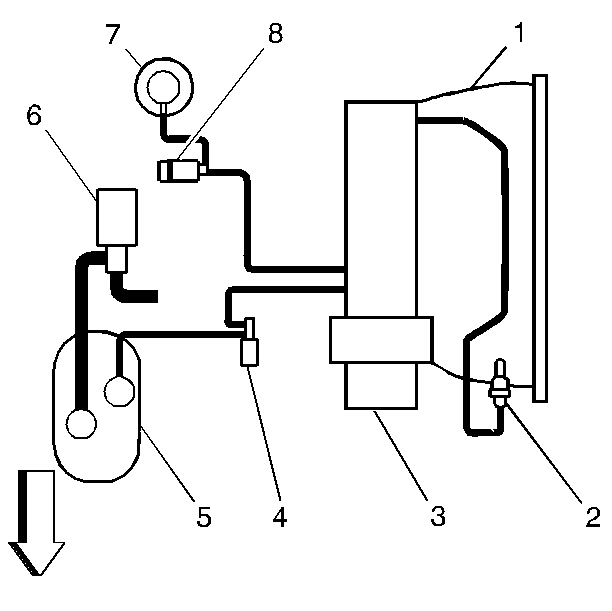
🢒 Emission Hose Routing Diagram
(1)
Intake Manifold
(2)
Fuel Pressure Regulator
(3)
Throttle Body
(4)
EVAP Canister Purge Valve
(5)
EVAP Canister
(6)
EVAP Canister Vent Solenoid (EVAP Canister Air Valve)
(7)
Tank Pressure Control Valve
(8)
EVAP Tank Pressure Control Solenoid Valve (Tank Pressure Control Solenoid Valve)