GM Service Manual Online
For 1990-2009 cars only

Removal Procedure

  1. Ensure the front tires and wheels are in the straight ahead position.

  2. Object Number: 464195  Size: SH
  3. Rotate the steering wheel to the left in order to position the opening in the steering shaft coupling (2) in the vertical position.
  4. Using paint, place match marks (3) on the steering column shaft (1) and the lower steering shaft in order to mark the location of the opening in the steering shaft coupling (2).
  5. Remove the key from the ignition switch.
  6. Notice: The steering column must be in the LOCK position before disconnecting the following components:

       • The steering column
       • The steering shaft coupling
       • The intermediate shaft
       • The lower steering shaft
    After disconnecting these components, do not move the front tires and wheels. Failure to follow these procedures may cause improper alignment of some components during installation and result in possible damage to the SIR coil.


    Object Number: 477501  Size: SH
  7. Turn the steering wheel to the left in order to lock the steering column and allow access to the steering shaft coupling bolts (4,5).

  8. Object Number: 464202  Size: SH
  9. Remove the bolt (1) on the lower steering shaft side of the steering shaft coupling.
  10. Loosen the bolt (3) on the steering column side of the steering shaft coupling.
  11. Use a plastic hammer in order to tap the steering shaft coupling (5) onto the steering column shaft, releasing the lower steering shaft.
  12. Secure the coupling on the steering column shaft with the bolt (3).

  13. Object Number: 580796  Size: SH
  14. Using paint, place match marks on the pinion shaft (4) and on the steering gear housing (5) in order to align the pinion shaft with the opening (3) in the lower steering shaft universal joint.

  15. Object Number: 464310  Size: SH
  16. Remove the lower bolt (4) from the lower steering shaft. Remove the lower steering shaft (2).

Installation Procedure

  1. Ensure the steering wheel and the front tires and wheels have not moved since the removal of the lower steering shaft.
  2. If replacing the lower steering shaft, place match marks on the new lower steering shaft in the same positions as on the old lower steering shaft.

  3. Object Number: 580796  Size: SH
  4. Align the match marks (4,5) with the opening (3) in the lower steering shaft universal joint (2). Install lower steering shaft to the pinion shaft.

  5. Object Number: 464310  Size: SH

    Notice: Use the correct fastener in the correct location. Replacement fasteners must be the correct part number for that application. Fasteners requiring replacement or fasteners requiring the use of thread locking compound or sealant are identified in the service procedure. Do not use paints, lubricants, or corrosion inhibitors on fasteners or fastener joint surfaces unless specified. These coatings affect fastener torque and joint clamping force and may damage the fastener. Use the correct tightening sequence and specifications when installing fasteners in order to avoid damage to parts and systems.

  6. Secure the lower steering shaft to the pinion shaft with the lower bolt (4).
  7. Tighten
    Tighten the bolt to 25 N·m (18 lb ft).


    Object Number: 464247  Size: SH
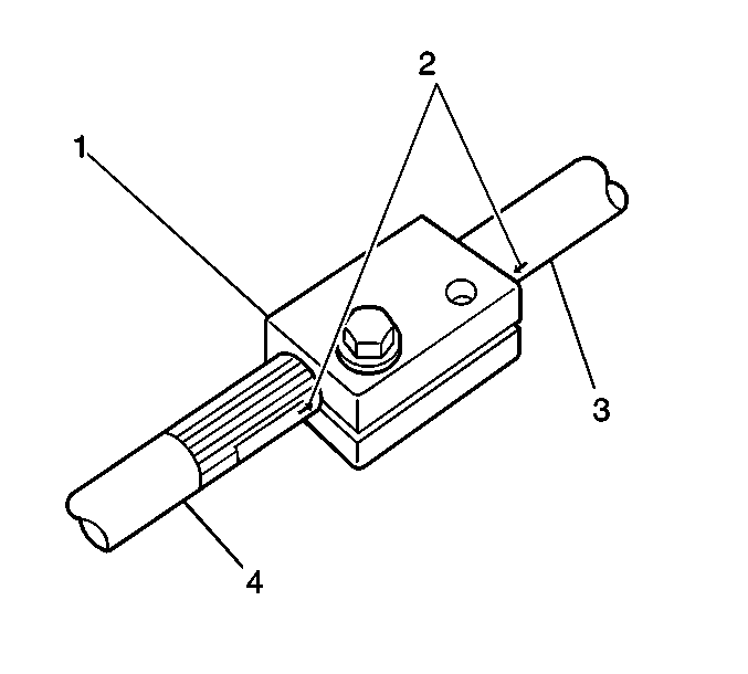
  8. Align the match marks on the following components:
  9. • The lower steering shaft
    • The steering shaft coupling (1)
    • The steering column shaft (3)

    Object Number: 464202  Size: SH
  10. Loosen the bolt (3) on the steering column side of the steering shaft coupling and move the steering shaft coupling down over the lower steering shaft.
  11. Secure the steering shaft coupling to the lower steering shaft with the bolt (1). Secure the steering shaft coupling to the steering column shaft with the bolt (3).
  12. Tighten
    Tighten the 2 steering shaft coupling bolts to 25 N·m (18 lb ft).