GM Service Manual Online
For 1990-2009 cars only

Removal Procedure

  1. Remove the lower oil pan. Refer to Lower Oil Pan Replacement .

  2. Object Number: 648669  Size: SH
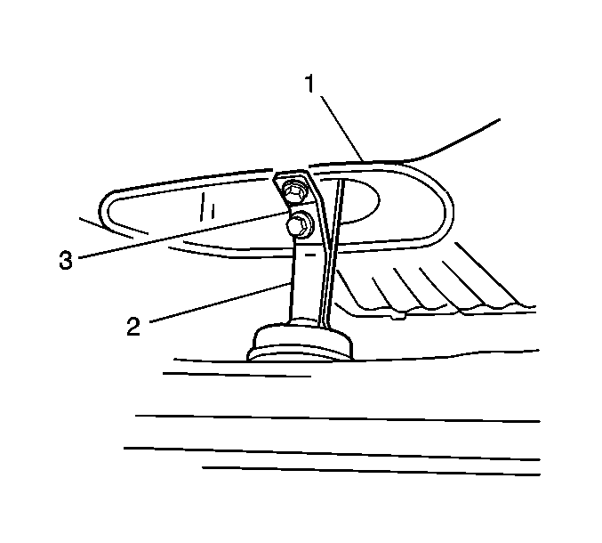
  3. Remove the 2 bolts and the oil strainer bracket (3).
  4. Remove the radiator outlet pipe from the upper oil pan.
  5. Remove the upper oil pan bolts and lower the oil pan (1) onto the cross member.

  6. Object Number: 648666  Size: SH
  7. Remove the 2 bolts that secure the oil pump pipe (3) to the oil pump.
  8. Remove the upper oil pan and oil strainer together.

Installation Procedure


    Object Number: 648159  Size: SH
  1. Install a new O-ring to the lower crankcase (1).
  2. Install 2 new O-rings to the oil pump pipe.

  3. Object Number: 648667  Size: SH
  4. Apply sealant to the upper oil pan (2).
  5. Place the upper oil pan (1) with the oil pump pipe (3) and screen assembly on the cross member beneath the crankcase.

  6. Object Number: 648666  Size: SH

    Notice: Use the correct fastener in the correct location. Replacement fasteners must be the correct part number for that application. Fasteners requiring replacement or fasteners requiring the use of thread locking compound or sealant are identified in the service procedure. Do not use paints, lubricants, or corrosion inhibitors on fasteners or fastener joint surfaces unless specified. These coatings affect fastener torque and joint clamping force and may damage the fastener. Use the correct tightening sequence and specifications when installing fasteners in order to avoid damage to parts and systems.

  7. Install the oil pump pipe and screen assembly and secure with the 2 bolts.
  8. Tighten
    Tighten the bolts to 11 N·m (8.0 lb ft).


    Object Number: 648667  Size: SH
  9. Install the upper oil pan .
  10. Install the 18 bolts (1) to the oil pan.
  11. Tighten
    Tighten the bolts (1) to 11 N·m (8.0 lb ft).

  12. Install the 2 bolts (2) to the oil pan.
  13. Tighten
    Tighten the bolts (2) to 27 N·m (19.5 lb ft).


    Object Number: 648669  Size: SH
  14. Install the bracket (3) to the oil strainer (2).
  15. Tighten
    Tighten the bolts to 11 N·m (8.0 lb ft).

  16. Attach the radiator outlet pipe to the upper oil pan.
  17. Install the lower oil pan to the upper oil pan. Refer to Lower Oil Pan Replacement .