GM Service Manual Online
For 1990-2009 cars only

Inspection Procedure

Important: The operation of the fast idle-up valve affects engine idle speed. The engine must be cold in order to perform a complete inspection of the fast idle-up valve.

  1. Install a scan tool.

  2. Object Number: 719122  Size: SH
  3. Ensure that the engine coolant temperature is 25°C (77°F) or less.
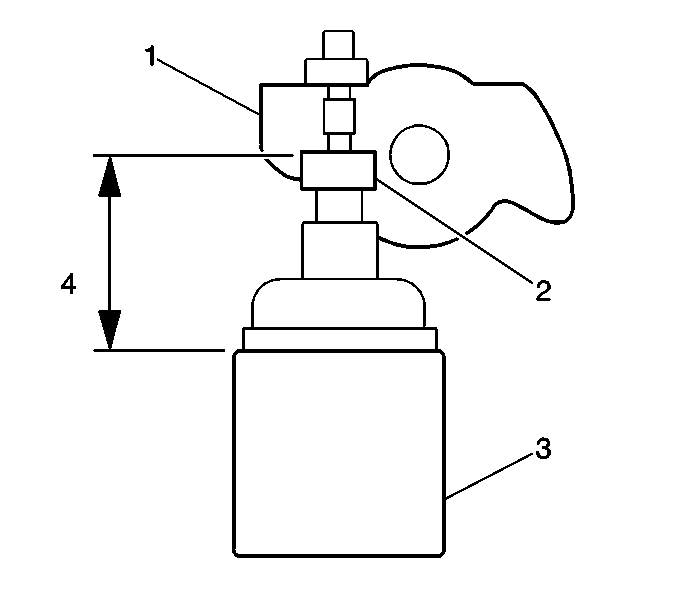
  4. Measure the distance (4) from the case of the fast idle-up valve (3) to the tip of the plunger (2). The distance should be 26.6-27.4 mm (1.048-1.078 in). If the distance is not within 26.6-27.4 mm (1.048-1.078 in) replace the fast idle-up valve. Refer to Throttle Body Assembly Replacement .

  5. Object Number: 719132  Size: SH
  6. Start the engine.
  7. Run the engine until the operating temperature is 52-68°C (126-154°F).
  8. Check that the fast idle cam (2) is no longer contacting the throttle lever fast idle stop (1). If the fast idle cam (2) is still contacting the throttle lever fast idle stop (1), inspect for the correct flow of engine coolant to the fast idle-up valve. If coolant flow is OK, replace the fast idle-up valve. Refer to Throttle Body Assembly Replacement .
  9. Continue to run the engine until the operating temperature is 80°C (174°F) or more.
  10. Turn OFF all accessories.
  11. Check that the engine speed is within 700-800 RPM. If the engine speed is not within 700-800 RPM inspect the operation of the idle air control (IAC) system. Refer to Idle Air Control (IAC) System Diagnosis .
  12. Turn ON the AC and check that the engine speed is 750-850 RPM. If the engine speed is not within 750-850 RPM inspect for a fault in the AC idle-up system. Refer to Electrical/Accessory Load Idle-Up Signal Diagnosis .