GM Service Manual Online
For 1990-2009 cars only

Removal Procedure

  1. Raise and support the vehicle. Refer to Lifting and Jacking the Vehicle in General Information.
  2. Remove the tire and wheel assembly. Refer to Tire and Wheel Removal and Installation in Tires and Wheels.

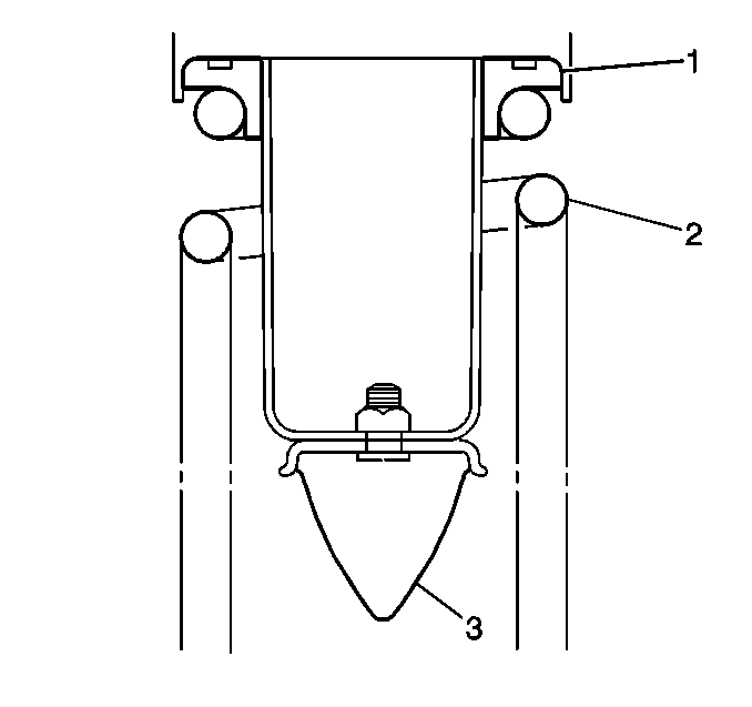
  3. Object Number: 464754  Size: SH
  4. Remove the coil spring. Refer to Front Coil Springs Replacement .
  5. Remove the spring rubber seat (1).
  6. Remove the bump stopper (3).

Installation Procedure


    Object Number: 464754  Size: SH

    Notice: Use the correct fastener in the correct location. Replacement fasteners must be the correct part number for that application. Fasteners requiring replacement or fasteners requiring the use of thread locking compound or sealant are identified in the service procedure. Do not use paints, lubricants, or corrosion inhibitors on fasteners or fastener joint surfaces unless specified. These coatings affect fastener torque and joint clamping force and may damage the fastener. Use the correct tightening sequence and specifications when installing fasteners in order to avoid damage to parts and systems.

  1. Install the bump stopper (3).
  2. Tighten
    Tighten the bump stopper to 50 N·m (36.5 lb ft).

  3. Install the spring rubber seat (1).
  4. Install the coil spring. Refer to Front Coil Springs Replacement .
  5. Install the tire and wheel assembly. Refer to Tire and Wheel Removal and Installation in Tires and Wheels.
  6. Lower the vehicle.