GM Service Manual Online
For 1990-2009 cars only

Caution: To avoid any vehicle damage, serious personal injury or death when major components are removed from the vehicle and the vehicle is supported by a hoist, support the vehicle with jack stands at the opposite end from which the components are being removed and strap the vehicle to the hoist.

Caution: To avoid any vehicle damage, serious personal injury or death, always use the jackstands to support the vehicle when lifting the vehicle with a jack.

Notice: Perform the following steps before beginning any vehicle lifting or jacking procedure:

   • Remove or secure all of the vehicle's contents in order to avoid any shifting or any movement that may occur during the vehicle lifting or jacking procedure.
   • The lifting equipment or the jacking equipment weight rating must meet or exceed the weight of the vehicle and any vehicle contents.
   • The lifting equipment or the jacking equipment must meet the operational standards of the lifting equipment or jacking equipment's manufacturer.
   • Perform the vehicle lifting or jacking procedure on a clean, hard, dry, level surface.
   • Perform the vehicle lifting or jacking procedure only at the identified lift points. DO NOT allow the lifting equipment or jacking equipment to contact any other vehicle components.
Failure to perform the previous steps could result in damage to the lifting equipment or the jacking equipment, the vehicle, and/or the vehicle's contents.

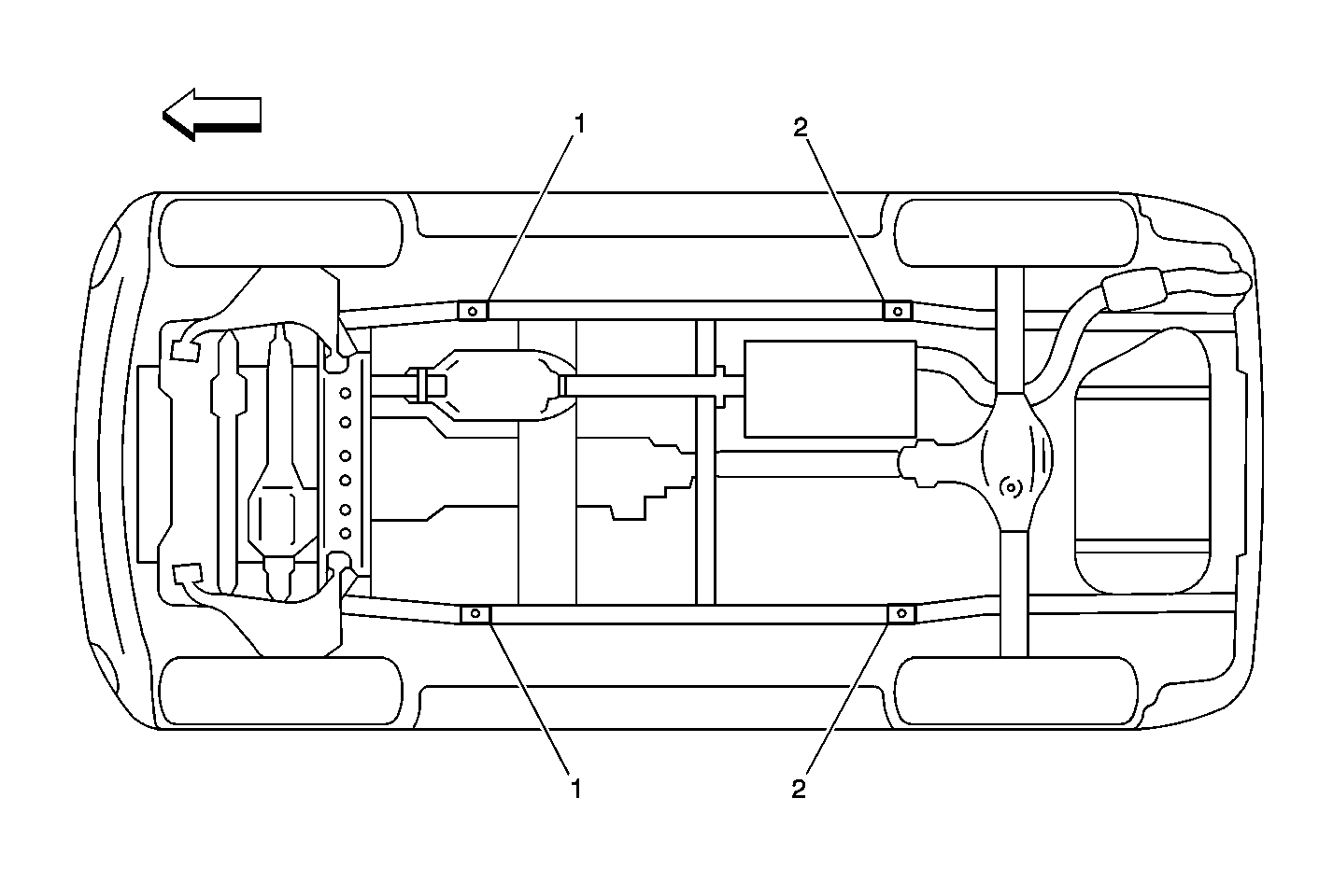
Automotive Lift and Floor Jack Contact Points


Object Number: 468282  Size: MF
(1)Front Lifting Point
(2)Rear Lifting Point
(1)Front Lifting Point
(2)Rear Lifting Point

Lifting the Front of the Vehicle with a Floor Jack


Object Number: 376269  Size: SH

Lift the front of the vehicle by placing the floor jack lift pad at the center of the front suspension crossmember.

Lifting the Rear of the Vehicle with a Floor Jack


Object Number: 376270  Size: SH

Lift the rear of the vehicle by placing the floor jack lift pad at the center of the rear axle housing.

Supporting the Front of the Vehicle with Jack Stand


Object Number: 713865  Size: SH

Support the front of the vehicle by placing a jackstand (2) under the frame (1), as shown in the illustration.

Supporting the Rear of the Vehicle with a Jackstand


Object Number: 713873  Size: SH

Support the rear of the vehicle by placing a jackstand (2) under the frame (1), as shown in the illustration.