GM Service Manual Online
For 1990-2009 cars only

Removal Procedure


    Object Number: 480250  Size: SH

    Caution: Unless directed otherwise, the ignition and start switch must be in the OFF or LOCK position, and all electrical loads must be OFF before servicing any electrical component. Disconnect the negative battery cable to prevent an electrical spark should a tool or equipment come in contact with an exposed electrical terminal. Failure to follow these precautions may result in personal injury and/or damage to the vehicle or its components.

  1. Disconnect the negative battery cable.
  2. Remove the rear console screws (3,4) and the console.
  3. Remove the center console screws (1,6) and the clips (2,5).
  4. Remove the center front console while disconnecting the electrical connector.

  5. Object Number: 465396  Size: SH
  6. Remove the throttle body bolt and bracket  (2).
  7. Remove the T.V. cable from the throttle body linkage and unroute the cable from the upper part of the engine.
  8. Remove the fluid indicator.

  9. Object Number: 168476  Size: SH
  10. Remove the upper starter bolts (3) and the starter nuts.
  11. Set aside the ground wire (1).
  12. Raise and suitably support the vehicle. Refer to Lifting and Jacking the Vehicle in General Information.
  13. Remove the rear propeller shaft. Refer to Two-Piece Propeller Shaft Replacement .

  14. Object Number: 480367  Size: SH
  15. Remove the shift cable retainer (4) and the cable (3) from the cable bracket (1).
  16. Remove the shift cable from the manual lever (2).
  17. Remove the shift cable bracket bolts and the bracket from the transmission.

  18. Object Number: 480337  Size: SH
  19. Remove the fluid indicator tube bolt (2).
  20. Remove the fluid indicator tube and the O-ring seal.

  21. Object Number: 480296  Size: SH
  22. Remove the bolts (2) which secure the right side transmission to the engine brace. Remove the brace (3).

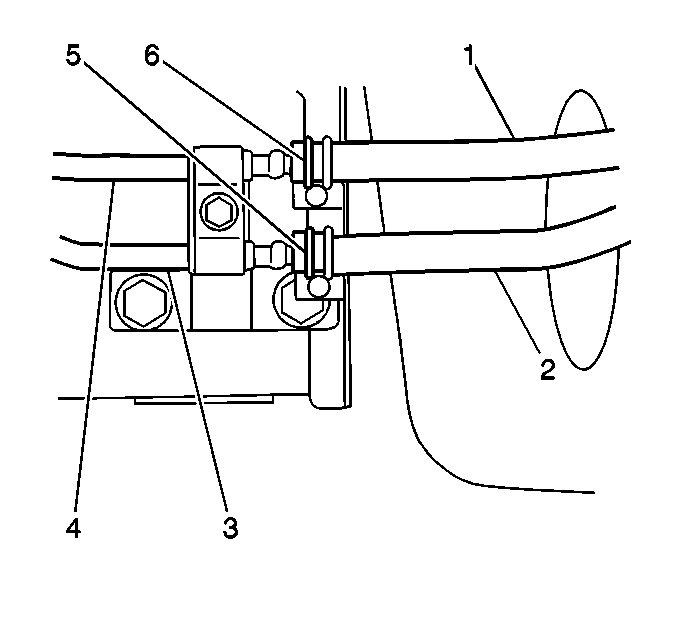
  23. Object Number: 480304  Size: SH
  24. Remove the flywheel inspection cover bolts (2) and the cover (1).
  25. Remove the torque converter bolts. Mark the position of the gold anodized shouldered bolt.
  26. Remove the lower bell housing bolts.

  27. Object Number: 480359  Size: SH
  28. Remove the cooler hoses (1,2) and the clamps (5,6) from the transmission pipes (3,4).

  29. Object Number: 480289  Size: SH
  30. Remove the vehicle speed sensor bolt (1) and the vehicle speed sensor (2).

  31. Object Number: 480323  Size: SH
  32. Remove the 10 crossmember bolts (3,5,6) and the crossmember (7).
  33. Disconnect the vent tubes.
  34. Remove the transmission wire harness, the retainer bolt, and the retainer.
  35. Remove the upper bell housing bolts.
  36. Remove the transmission

Installation Procedure


    Object Number: 480279  Size: SH
  1. Install the transmission with the support of a hydraulic jack.
  2. Notice: Use the correct fastener in the correct location. Replacement fasteners must be the correct part number for that application. Fasteners requiring replacement or fasteners requiring the use of thread locking compound or sealant are identified in the service procedure. Do not use paints, lubricants, or corrosion inhibitors on fasteners or fastener joint surfaces unless specified. These coatings affect fastener torque and joint clamping force and may damage the fastener. Use the correct tightening sequence and specifications when installing fasteners in order to avoid damage to parts and systems.

  3. Install upper bell housing bolts (1).
  4. Tighten
    Tighten the bolts to 85 N·m (62 lb ft).


    Object Number: 480323  Size: SH
  5. Install the transmission wire harness, the retainer, and the bolt.
  6. Connect the electrical connectors and the vent tubes.
  7. Install the crossmember (7) and the crossmember bolts (3,5,6).
  8. Tighten
    Tighten the crossmember bolts to 60 N·m (44 lb ft).

  9. Install the ground wire.
  10. Tighten
    Tighten the ground wire bolt to 7 N·m (62 lb in).


    Object Number: 480289  Size: SH
  11. Install the VSS (2) and the VSS bolt (1).
  12. Remove the jack from the transmission.

  13. Object Number: 480359  Size: SH
  14. Install the cooler hoses (1,2) and the clamps (5,6) to the transmission cooler pipes (3,4).

  15. Object Number: 480304  Size: SH
  16. Install the lower bellhousing nuts.
  17. Tighten
    Tighten the lower bellhousing nuts to 85 N·m (62 lb ft).

    Important: The gold anodized bolt should be installed first. This shouldered bolt centers the torque converter to the flywheel, which aids in the installation of the remaining retaining bolts.

  18. Install the torque converter bolts.
  19. Tighten
    Tighten the torque converter bolts to 50 N·m (37 lb ft).

  20. Install the flywheel inspection cover plate (1) and the bolts (2).
  21. Tighten
    Tighten the flywheel inspection cover plate bolts to 10 N·m (89 lb ft).


    Object Number: 480296  Size: SH
  22. Install the engine brace (3) and the bolts (2) to the right side of the transmission.
  23. Tighten
    Tighten the engine brace bolts to 60 N·m (44 lb ft).


    Object Number: 168476  Size: SH
  24. Install the starter and the lower bolt.
  25. Tighten
    Tighten the starter bolt to 30 N·m (22 lb ft).

  26. Connect the starter electrical connections (1,3).
  27. Install the rear propeller shaft. Refer to Two-Piece Propeller Shaft Replacement .

  28. Object Number: 480337  Size: SH
  29. Install the fluid indicator tube (1), the bolt (2), and the O-ring seal.

  30. Object Number: 480367  Size: SH
  31. Install the shift cable bracket and the bolts.
  32. Tighten
    Tighten the shift cable bolts to 7 N·m (62 lb ft).

  33. Install the shift cable to manual lever (2).
  34. Install the shift cable and retainer (4) to the cable (3) bracket (1).

  35. Object Number: 168476  Size: SH
  36. Lower the vehicle.
  37. Install the upper starter bolt, the nut, and the ground wire (2).
  38. Tighten
    Tighten the upper and lower starter bolt (3) to 30 N·m (22 lb ft).

  39. Install the fluid level indicator.

  40. Object Number: 465396  Size: SH
  41. Route the T.V. cable to the upper engine.
  42. Install the throttle body and bracket (2) bolt (Adjust the T.V. cable as necessary).

  43. Object Number: 480250  Size: SH
  44. Install the center front console while connecting the electrical connectors.
  45. Install the center rear console. Install the screws (1,3,4,6) and the clips (2,5) .
  46. Adjust the shift cable as necessary.
  47. Refill the transmission fluid and inspect for leaks. Refer to Transmission Fluid Check .
  48. Test the transmission for proper installation.