GM Service Manual Online
For 1990-2009 cars only

Gear Control Lever


Object Number: 167997  Size: SH

Gearshift control lever  (1) pattern.

Gear Shift Lever Operation


Object Number: 168064  Size: SH

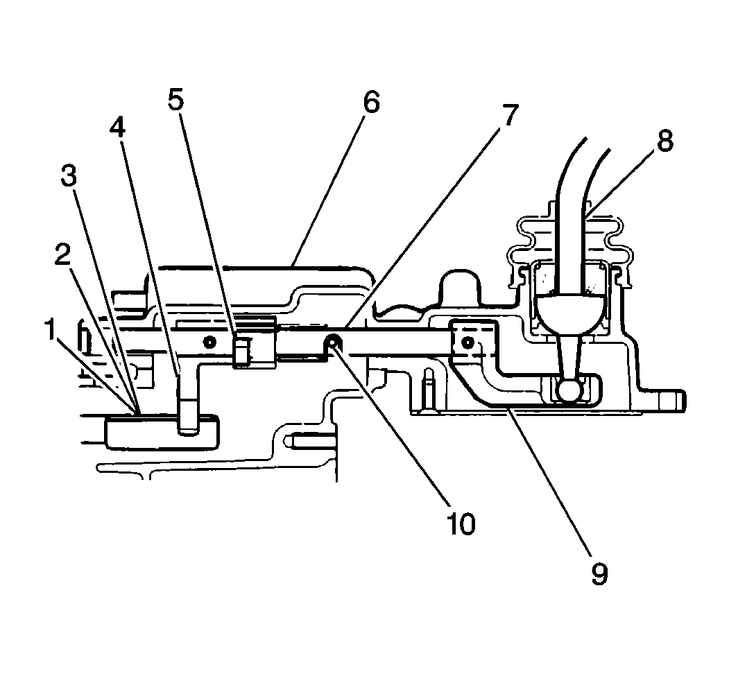
Gear selection is transmitted from the gearshift control lever (8) into the gearshift lever case (6) located at the rear of the transmission. The gearshift lever case (6) contains a gearshift arm (9), a reverse gearshift limit yoke (5), and a gearshift lever (4). These three components are attached to the gearshift shaft (7). The gearshift control lever (8) is fitted into the gearshift arm (9). When the gearshift control lever (8) is moved, the gearshift arm (9), the gearshift shaft (7) and the gearshift lever (4) are moved forward, backward, left or right, depending upon the gear selected.

Gear Shift Lever Components


Object Number: 168064  Size: SH
(1)Low Speed Gearshift Shaft
(2)High Speed Gearshift Shaft
(3)Reverse Gearshift Shaft
(4)Gearshift Lever
(5)Reverse Gearshift Limit Yoke
(6)Gearshift Lever Case
(7)Gearshift Shaft
(8)Gearshift Control Lever
(9)Gearshift Arm
(10)Gearshift Limit Spring