GM Service Manual Online
For 1990-2009 cars only

Removal Procedure


    Object Number: 477498  Size: SH
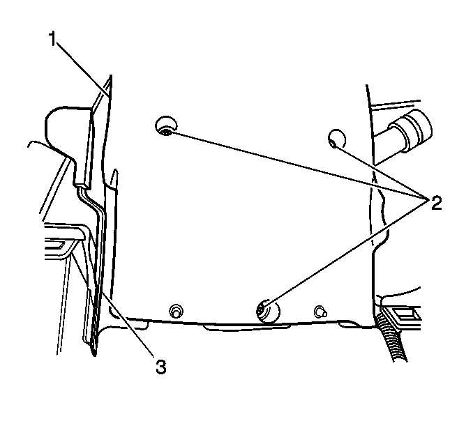
  1. Remove the 3 screws from the steering column lower trim cover (2).

  2. Object Number: 477500  Size: SH
  3. Remove the steering column lower trim cover (2).
  4. Remove the steering column upper trim cover (1).

Installation Procedure


    Object Number: 477500  Size: SH
  1. Install the steering column upper trim cover (1) to the steering column.
  2. Install the steering column lower trim cover (2) to the steering column.

  3. Object Number: 477498  Size: SH
  4. Secure the steering column lower trim cover with the 3 screws (2).