GM Service Manual Online
For 1990-2009 cars only

Rear Door Bumper Replacement 2 Door

Removal Procedure


    Object Number: 473525  Size: SH
  1. Open the endgate panel.
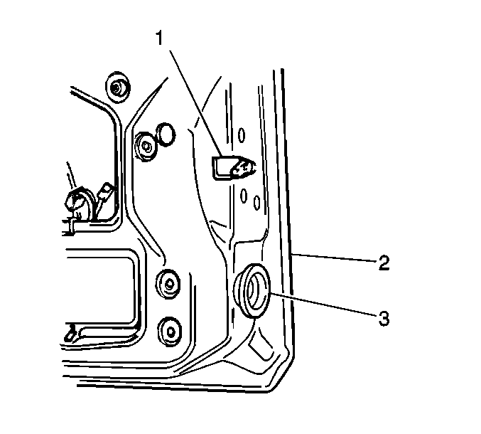
  2. Remove the bolt which secures the endgate bumper (3).
  3. Remove the endgate bumper (3) from the endgate panel (2).

Installation Procedure


    Object Number: 473525  Size: SH

    Notice: Use the correct fastener in the correct location. Replacement fasteners must be the correct part number for that application. Fasteners requiring replacement or fasteners requiring the use of thread locking compound or sealant are identified in the service procedure. Do not use paints, lubricants, or corrosion inhibitors on fasteners or fastener joint surfaces unless specified. These coatings affect fastener torque and joint clamping force and may damage the fastener. Use the correct tightening sequence and specifications when installing fasteners in order to avoid damage to parts and systems.

  1. Install the endgate bumper (3) to the endgate panel (2). Secure the bumper with the 1 mounting bolt.
  2. Tighten
    Tighten the endgate bumper mounting bolt to 20 N·m (15 lb ft).

  3. Close the endgate panel.

Rear Door Bumper Replacement 4 Door

Removal Procedure


    Object Number: 473525  Size: SH
  1. Open the rear door.
  2. Remove the bolt which secures the rear door bumper (3).
  3. Remove the rear door bumper (3) from the rear door (2).

Installation Procedure


    Object Number: 473525  Size: SH

    Notice: Use the correct fastener in the correct location. Replacement fasteners must be the correct part number for that application. Fasteners requiring replacement or fasteners requiring the use of thread locking compound or sealant are identified in the service procedure. Do not use paints, lubricants, or corrosion inhibitors on fasteners or fastener joint surfaces unless specified. These coatings affect fastener torque and joint clamping force and may damage the fastener. Use the correct tightening sequence and specifications when installing fasteners in order to avoid damage to parts and systems.

  1. Install the rear door bumper (3) to the rear door (2). Secure the bumper with the 1 mounting bolt.
  2. Tighten
    Tighten the rear door bumper mounting bolt to 20 N·m (15 lb ft).

  3. Close the rear door.