GM Service Manual Online
For 1990-2009 cars only

Removal Procedure


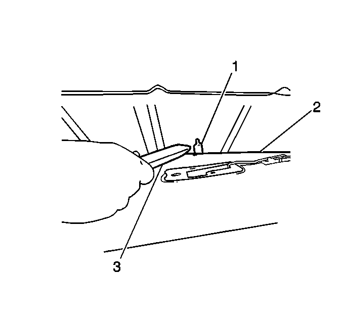
    Object Number: 478172  Size: SH
  1. Remove the windshield side garnish moldings from the vehicle by gently prying loose the plastic retainers which secure the moldings.
  2. Remove the sunshade supports. Refer to Sunshade Anchor Replacement .
  3. Remove the following components from the vehicle:
  4. 3.1. The 2 screws which secure each sunshade
    3.2. The sunshades
  5. Remove the dome lamp. Refer to Dome Lamp Replacement in Lighting Systems.
  6. Remove the upper center pillar trim. Refer to Center Pillar Upper Trim Panel Replacement .
  7. Loosen the front (2) and rear (3) side door opening frame garnish moldings from the pinch weld flange along the top of the front and rear doors.
  8. Remove the upper rear quarter trim panel. Refer to Rear Quarter Upper Trim Panel Replacement .
  9. Remove the rear dome lamp. Refer to Dome Lamp Replacement in Lighting Systems.

  10. Object Number: 478173  Size: SH
  11. Remove the 3 plastic retainers (2) which secure the rear of the headlining trim finish panel (1).
  12. Remove the assist handles. Refer to Assist Handle Replacement .

  13. Object Number: 478174  Size: SH
  14. Beginning at the rear of the headlining (2), pull down slightly and cut through the beads of adhesive (1) with a utility knife (3) in order to unsecure the headlining (2).

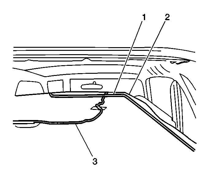
  15. Object Number: 478175  Size: SH
  16. Lower the headlining trim finish panel (2) and position on the top of the front and rear seat back cushions.
  17. Remove the rear window washer nozzle hose (1) from the headlining trim finish panel (2).
  18. Remove the interior lighting wiring harness (3) from the headlining trim finish panel (2).
  19. Remove the headlining (2) from the vehicle by removing through the rear door.

Installation Procedure


    Object Number: 478175  Size: SH
  1. Install the headlining trim finish panel (2) to the vehicle by installing through the rear door.
  2. Route and tape the interior lighting wiring harness (3) to the headlining trim finish panel (2).
  3. Route and tape the rear window washer nozzle hose (1) to the headlining trim finish panel (2).
  4. Apply several beads of adhesive to the roof panel in order to secure the headlining (2) to the panel.

  5. Object Number: 478173  Size: SH
  6. Install the headlining (1) to the roof panel. Secure the rear of the headlining with the 3 plastic retainers (2).
  7. Install the assist handles. Refer to Assist Handle Replacement .

  8. Object Number: 478172  Size: SH
  9. Install the sunshades to the vehicle. Secure each sunshade with 2 screws.
  10. Install the sunshade supports. Refer to Sunshade Anchor Replacement .
  11. Install the windshield side garnish moldings to the vehicle. Ensure that the plastic retainers are fully engaged.
  12. Install the upper center pillar trim. Refer to Center Pillar Upper Trim Panel Replacement .
  13. Install the front (2) and rear (3) side door opening frame garnish moldings to the pinch weld flange by pressing into place.
  14. Install the dome lamp. Refer to Dome Lamp Replacement in Lighting Systems.
  15. Install the rear dome lamp. Refer to Dome Lamp Replacement in Lighting Systems.
  16. Install the upper rear quarter trim panel. Refer to Rear Quarter Upper Trim Panel Replacement .