GM Service Manual Online
For 1990-2009 cars only
Makes
🢒
Chevrolet
🢒
2001
🢒
Tracker - 4WD
🢒 NO TITLE BRAKES
NO TITLE BRAKES
Master Electrical Component List
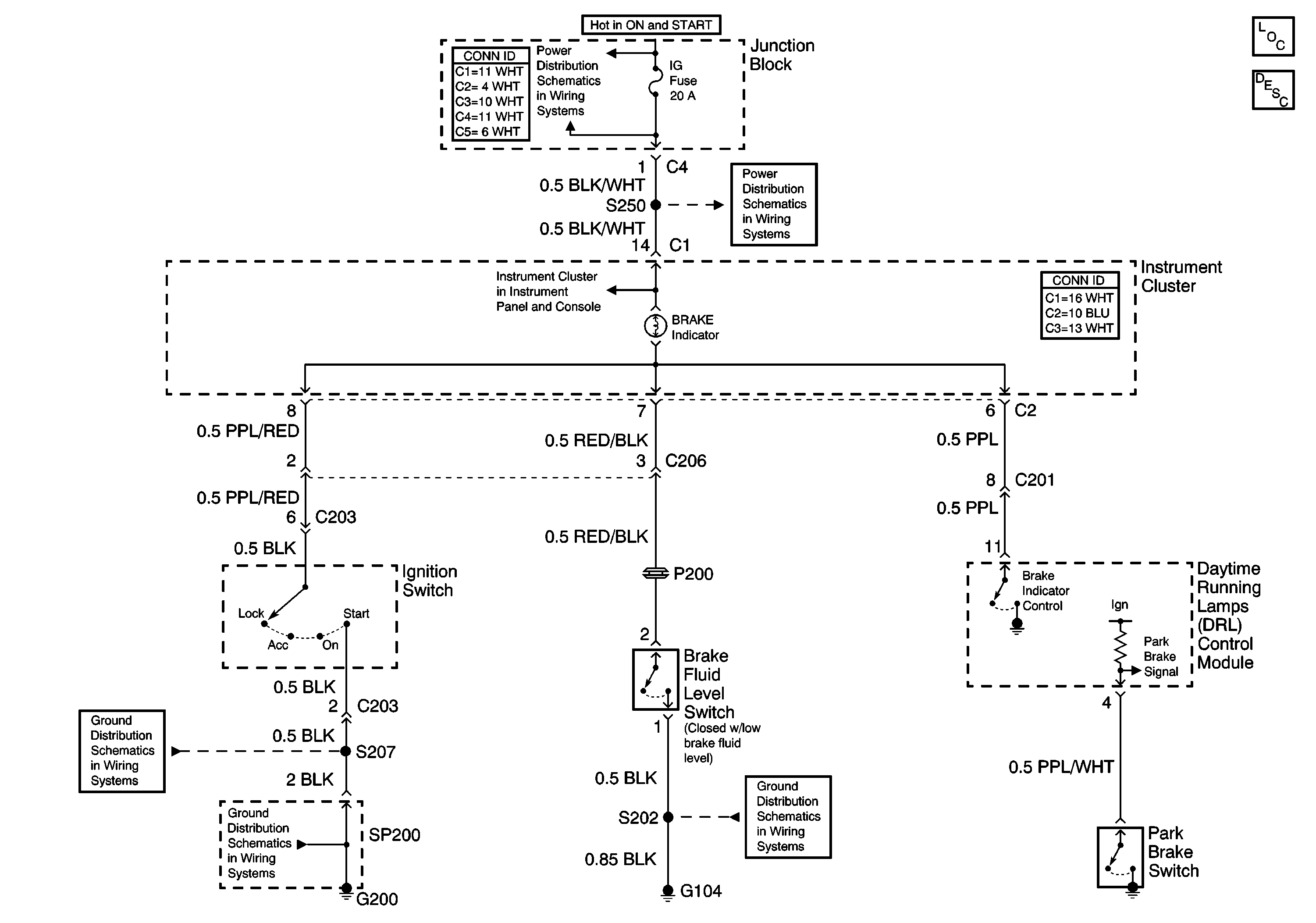
Brake Warning System Description and Operation
G104
ABS Indicator, Brake Indicator, Air Bag Indicator
IG Fuse
G200 (1 of 2)
G200 (1 of 2)