GM Service Manual Online
For 1990-2009 cars only
Makes
🢒
Chevrolet
🢒
2002
🢒
Tracker - 4WD
🢒
Engine
🢒
Engine Controls - 2.5L (LE8)
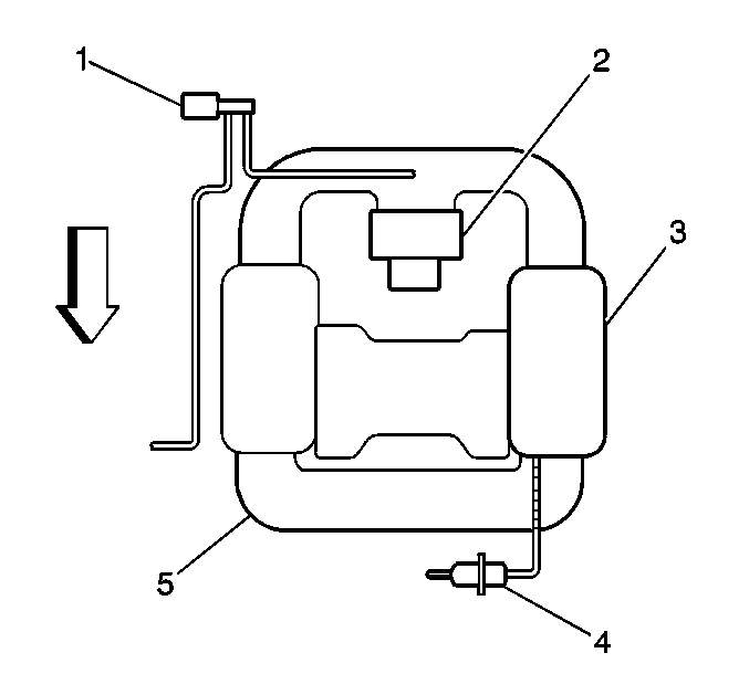
🢒 Emission Hose Routing Diagram
(1)
EVAP Canister Purge Valve
(2)
Throttle Body
(3)
Intake Manifold
(4)
Fuel Pressure Regulator
(5)
Surge Tank