GM Service Manual Online
For 1990-2009 cars only
Table 1: Engine Block - Front/Rear Views
Table 2: Engine Block - Left/Right Side Views
Table 3: Engine Block - Top/Bottom Views
Table 4: Cylinder Head - Top/End Views
Table 5: Cylinder Head - Intake/Exhaust Side Views

Engine Block - Front/Rear Views


Object Number: 1402166  Size: MF

Engine Block - Front/Rear Views

Hole

Thread Size

Insert

Drill

Counterbore Tool

Tap

Driver

Drill Depth - Maximum mm (in)

Tap Depth - Maximum mm (in)

J 42385-

1

M8 x 1.25

210

206

207

208

209

22.5 (0.885)

17.5 (0.688)

2

M10 x 1.5

215

211

212

213

214

27.5 (1.08)

22.0 (0.866)

3

M10 x 1.5

215

211

212

213

214

Thru

Thru

4

M8 x 1.25

210

206

207

208

209

Thru

Thru

5

M10 x 1.5

215

211

212

213

214

25.0 (0.984)

19.5 (0.767)

6

M10 x 1.5

215

211

212

213

214

32.5 (1.279)

25.0 (0.984)

7

M10 x 1.5

215

211

212

213

214

Thru

Thru

Bolt hole 6 is drilled and tapped for aluminum block applications only.

Engine Block - Left/Right Side Views


Object Number: 1402160  Size: SF

Engine Block - Left/Right Side Views

Hole

Thread Size

Insert

Drill

Counterbore Tool

Tap

Driver

Drill Depth - Maximum mm (in)

Tap Depth - Maximum mm (in)

J 42385-

1

M8 x 1.25

210

206

207

208

209

22.5 (0.885)

17.5 (0.688)

2

M6 x 1.0

205

201

202

203

204

22.5 (0.885)

15.0 (0.688)

3

M8 x 1.25

210

206

207

208

209

28.5 (1.122)

23.0 (0.905)

4

M8 x 1.25

210

206

207

208

209

21.5 (0.846)

16.0 (0.629)

5

M10 x 1.25

215

211

212

213

214

29.0 (1.141)

23.0 (0.905)

6

M10 x 1.5

215

211

212

213

214

27.0 (1.062)

21.5 (0.846)

7

M16 x 1.5

N/A

N/A

N/A

N/A

N/A

N/A

N/A

8

M11 x 2.0

108

105

N/A

106

107

69.0 (2.72)

60.0 (2.36)

9

M28 x 1.25

N/A

N/A

N/A

N/A

N/A

N/A

N/A

Bolt hole 8 has a 30 mm (1.18 in) counterbore included in the 69.0 mm (2.72 in) drill depth. Use sleeve J 42385-315 with the drill and tap.

Engine Block - Top/Bottom Views


Object Number: 1402164  Size: MF

Engine Block - Top/Bottom Views

Hole

Thread Size

Insert

Drill

Counterbore Tool

Tap

Driver

Drill Depth - Maximum mm (in)

Tap Depth - Maximum mm (in)

J 42385-

1

M8 x 1.25

210

206

207

208

209

22.5 (0.885)

17.5 (0.688)

2

M10 x 1.5

215

211

212

213

214

42.5 (1.67)

37.0 (1.45)

3

M10 x 2.0

104

101

N/A

102

103

31.0 (1.22)

25.5 (1.0)

4

M10 x 2.0

104

101

N/A

102

103

53.5 (2.10)

44.0 (1.73)

5

M8 x 1.25

210

206

207

208

209

26.5 (1.043)

19.0 (0.748)

    • Bolt hole 2 has an 11.5 mm (0.452 in) counterbore included in the 42.5 mm (1.67 in) drill depth. Use sleeve J 42385-311 with the drill and tap.
    • Bolt hole 3 has a 1.5 mm (0.059 in) counterbore included in the 31.0 mm (1.22 in) drill depth. Use sleeve J 42385-316 with the drill and tap.
    • Bolt hole 4 has a 20.5 mm (0.807 in) counterbore included in the 53.5 mm (2.10 in) drill depth.

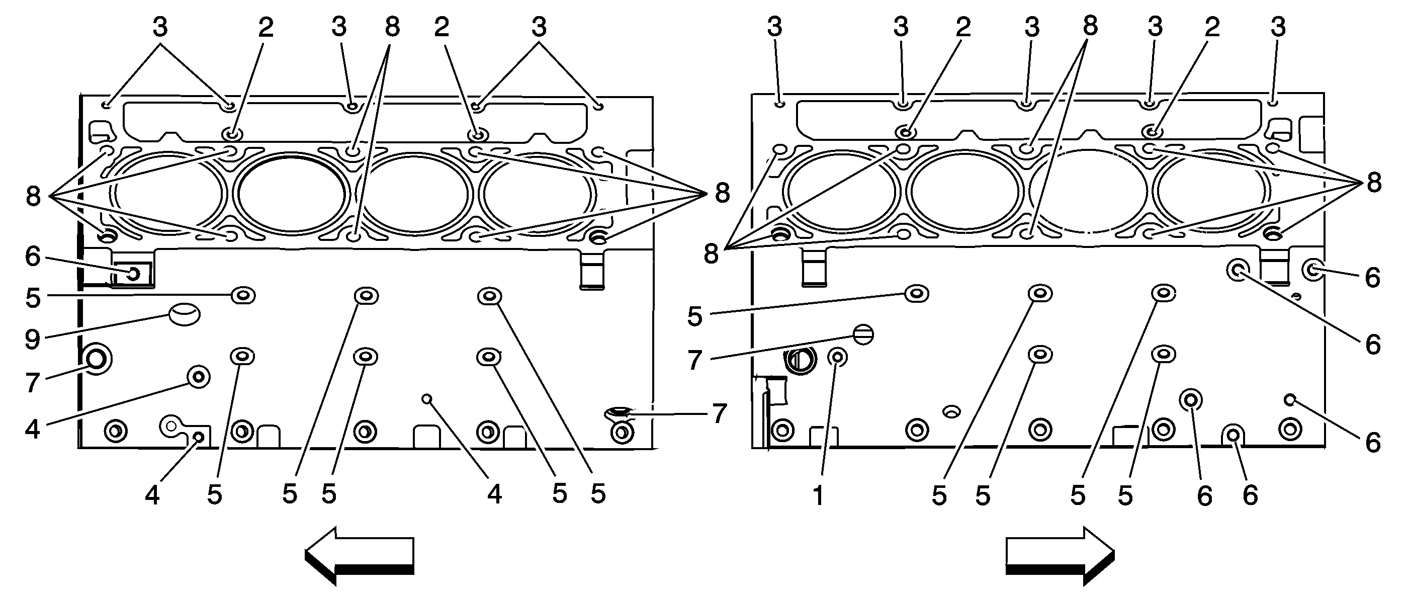
Cylinder Head - Top/End Views


Object Number: 1402168  Size: SF

Cylinder Head - Top/End Views

Hole

Thread Size

Insert

Drill

Counterbore Tool

Tap

Driver

Drill Depth - Maximum mm (in)

Tap Depth - Maximum mm (in)

J 42385-

1

M8 x 1.25

210

206

207

208

209

26.5 (1.04)

19.0 (0.784)

2

M6 x 1.0

205

201

202

203

204

20.05 (0.789)

16.05 (0.632)

3

M10 x 1.5

215

211

212

213

214

28.0 (1.10)

20.0 (0.787)

4

M6 x 1.0

205

201

202

203

204

22.5 (0.885)

15.0 (0.688)

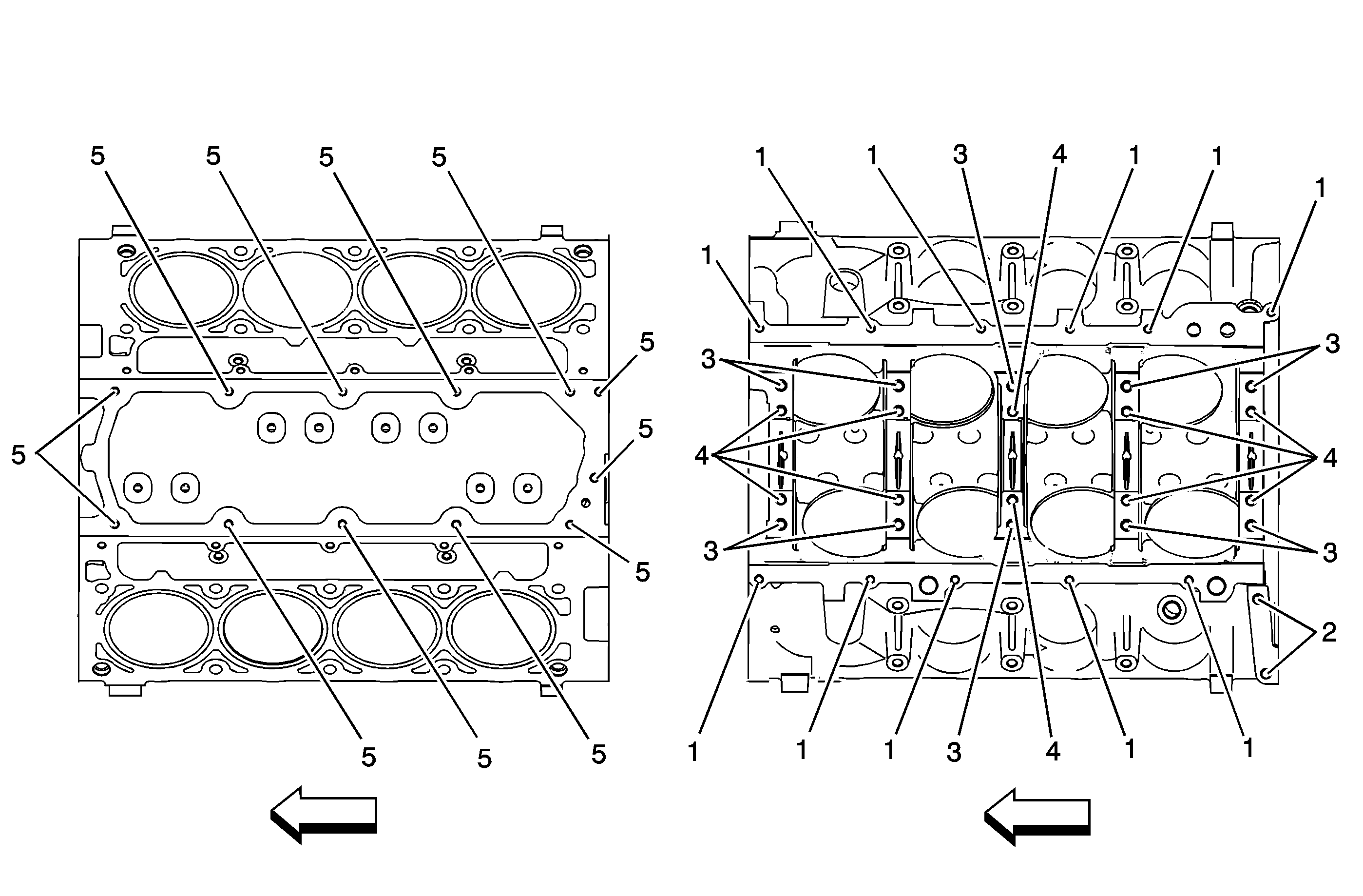
Cylinder Head - Intake/Exhaust Side Views


Object Number: 1402171  Size: MF

Cylinder Head - Intake/Exhaust Side Views

Hole

Thread Size

Insert

Drill

Counterbore Tool

Tap

Driver

Drill Depth - Maximum mm (in)

Tap Depth - Maximum mm (in)

J 42385-

1

M6 x 1.0

205

201

202

203

204

Thru

Thru

2

M10 x 1.5

215

211

212

213

214

28.0 (1.10)

20.0 (0.787)

3

M8 x 1.25

210

206

207

208

209

21.0 (0.826)

16.0 (0.629)

4

M14 x 1.25

N/A

N/A

N/A

N/A

N/A

N/A

N/A

5

M12 x 1.5

N/A

N/A

N/A

N/A

N/A

N/A

N/A