GM Service Manual Online
For 1990-2009 cars only

Removal Procedure

  1. Remove the roof applique covers. Refer to Roof Front Applique Replacement in Exterior Trim.

  2. Object Number: 1218505  Size: SH
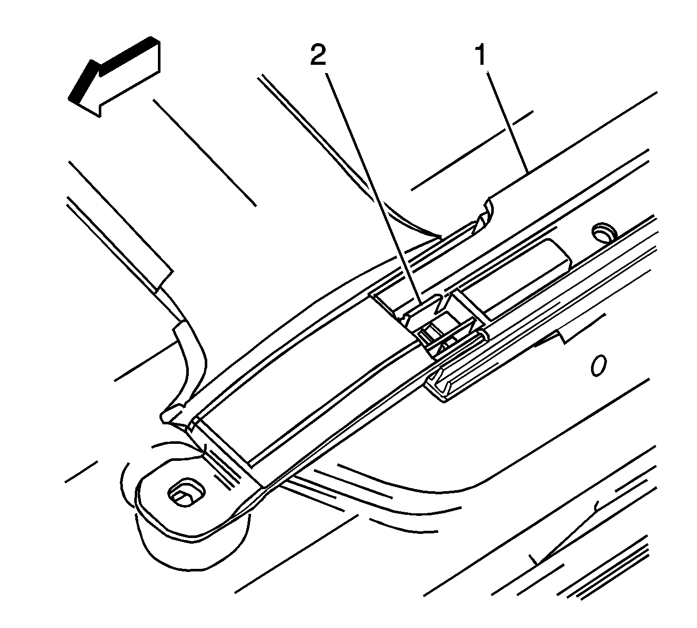
  3. Squeeze the tabs (2) retaining the air deflector to the moveable roof panel frame (1) on each side.

  4. Object Number: 1218509  Size: SH
  5. Lift the air deflector (1) up out of the moveable roof frame.
  6. Remove the air deflector from the retaining channel (2).
  7. Remove the air deflector from the vehicle.
  8. Remove the retaining channel (2) using the following procedure:
  9. 6.1. Heat the retaining channeling using a heat gun. Hold the heat gun approximately 152 mm (6 in) from the surface. Apply the heat using a circular motion for about 30 seconds.

            Important: Be careful not to scratch or chip the paint.

    6.2. Remove the retaining strip (2) from the roof using a plastic flat-bladed tool.
  10. Remove all adhesive from the roof using a 3M Scotchbrite molding adhesive remover disk, 3M P/N 07501 or equivalent.
  11. Clean the roof using Varnish Makers and Paint (VMP) naptha.

Installation Procedure


    Object Number: 1218509  Size: SH
  1. Install the air deflector (1) to the vehicle.

  2. Object Number: 1218505  Size: SH
  3. Press the air deflector into the moveable roof panel frame until the retaining tabs (2) are fully seated in the moveable roof panel frame (1).
  4. Remove the tape liner from the adhesive tape.
  5. Hand roll the air deflector to the roof to ensure proper adhesion.
  6. Install the roof applique covers. Refer to Roof Front Applique Replacement in Exterior Trim.