GM Service Manual Online
For 1990-2009 cars only

Child Restraint Tether Anchor Replacement - Rear No. 1 TrailBlazer, Envoy, Bravada

Removal Procedure


    Object Number: 744907  Size: SH
  1. Open the liftgate.
  2. Remove the bolt that retains the child restraint tether anchor to the floor panel.
  3. Remove the child restraint tether anchor from the floor panel.

Installation Procedure


    Object Number: 744907  Size: SH
  1. Install the child restraint tether anchor to the floor with the pivot point of the anchor ring indexed toward the front of the vehicle.
  2. Notice: Use the correct fastener in the correct location. Replacement fasteners must be the correct part number for that application. Fasteners requiring replacement or fasteners requiring the use of thread locking compound or sealant are identified in the service procedure. Do not use paints, lubricants, or corrosion inhibitors on fasteners or fastener joint surfaces unless specified. These coatings affect fastener torque and joint clamping force and may damage the fastener. Use the correct tightening sequence and specifications when installing fasteners in order to avoid damage to parts and systems.

  3. Install the bolt that retains the child restraint tether anchor to the floor panel.
  4. Tighten
    Tighten the child restraint tether anchor bolt to 35 N·m (26 lb ft).

  5. Close the liftgate.

Child Restraint Tether Anchor Replacement - Rear No. 1 TrailBlazer EXT, Envoy XL

Removal Procedure

  1. Remove the seat from the vehicle. Refer to Rear Seat Replacement .
  2. Remove the trim panel from the seat cushion. Refer to Rear Seat Cushion Trim Panel Replacement .

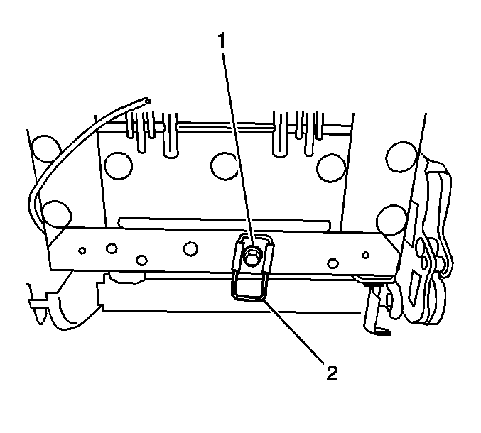
  3. Object Number: 828233  Size: SH
  4. Remove the bolt (1) securing the child tether anchor (2) to the seat cushion frame.
  5. Remove the child tether anchor.

Installation Procedure

Notice: Refer to Fastener Notice in the Preface section.


    Object Number: 828233  Size: SH
  1. Install the child tether anchor (2) to the seat cushion frame with the bolt (1).
  2. Tighten
    Tighten the child restraint tether anchor bolt to 35 N·m (26 lb ft).

  3. Install the trim panel to the seat cushion. Refer to Rear Seat Cushion Trim Panel Replacement .
  4. Install the seat in the vehicle. Refer to Rear Seat Replacement .