GM Service Manual Online
For 1990-2009 cars only

Removal Procedure

  1. Raise the vehicle. Refer to Lifting and Jacking the Vehicle .

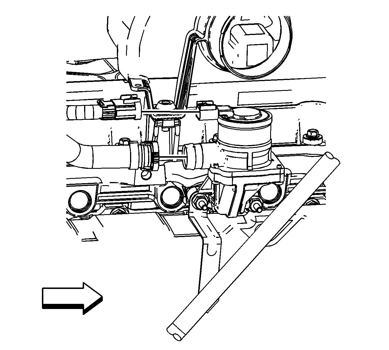
  2. Object Number: 1297763  Size: SH
  3. Disconnect both the air inlet and air outlet hoses from the secondary air injection (AIR) reaction pump.
  4. Remove the air inlet and air outlet pipe retaining clip from the frame rail.
  5. Lower the vehicle.
  6. Important: It is not necessary to remove the throttle body to remove the intake manifold.

  7. Remove the intake manifold. Refer to Intake Manifold Replacement .
  8. Remove the number 6 ignition coil. Refer to Ignition Coil Replacement .

  9. Object Number: 1773134  Size: SH
  10. Disconnect the AIR hose from the air box.

  11. Object Number: 1297815  Size: SH
  12. Disconnect the AIR hose from the solenoid valve.

  13. Object Number: 1713326  Size: SH
  14. Disconnect the engine coolant temperature (ECT) sensor electrical connector.

  15. Object Number: 1773132  Size: SH
  16. Remove the bolt and fir-tree fasteners securing the AIR pipe to the cylinder head.

  17. Object Number: 1765984  Size: SH
  18. Remove the AIR hose assembly by rotating over the top of the engine.

Installation Procedure


    Object Number: 1765984  Size: SH
  1. Install the AIR hose assembly by rotating over the top of the engine.
  2. Notice: Refer to Fastener Notice in the Preface section.

    Important: Add a drop of GM P/N 12345382 (Canadian P/N 10953489) to the bolt threads.

  3. Install the bolt and fir-tree fasteners securing the AIR pipe to the cylinder head. Tighten the bolt until fully seated.

  4. Object Number: 1773134  Size: SH
  5. Connect the AIR hose to the air box.

  6. Object Number: 1297815  Size: SH
  7. Connect the AIR hose to the solenoid valve.

  8. Object Number: 1713326  Size: SH
  9. Connect the ECT sensor electrical connector.
  10. Install the intake manifold. Refer to Intake Manifold Replacement .
  11. Install the number 6 ignition coil. Refer to Ignition Coil Replacement .
  12. Raise the vehicle. Refer to Lifting and Jacking the Vehicle .

  13. Object Number: 1297763  Size: SH
  14. Connect the air inlet and air outlet pipe retaining clip to the frame rail.
  15. Connect both the air inlet and air outlet hoses to the AIR pump.
  16. Lower the vehicle.