GM Service Manual Online
For 1990-2009 cars only
Connector 1: Audio Amplifier C1 (w/UQA)
Connector 2: Audio Amplifier C2 (w/UQA)
Connector 3: Digital Radio Receiver (w/U2K)
Connector 4: Digital Video Disc (DVD) Player (U42)
Connector 5: Radio C1 (w/o UQA)
Connector 6: Radio C1 (w/UQA)
Connector 7: Radio C2
Connector 8: Speaker - LF Door (w/UQA)
Connector 9: Speaker - LF I/P (w/UQA)
Connector 10: Speaker - LR Door (w/o UQA)
Connector 11: Speaker - LR Door (w/UQA)
Connector 12: Speaker - RF Door (w/UQA)
Connector 13: Speaker - RF I/P (w/UQA)
Connector 14: Speaker - RR Door (w/o UQA)
Connector 15: Speaker - RR Door (w/UQA)
Connector 16: Speaker Assembly - LF Door (w/o UQA)
Connector 17: Speaker Assembly - RF Door (w/o UQA)

Audio Amplifier C1 (w/UQA)


Object Number: 73156  Size: CH

Connector Part Information

  • OEM: 12110088
  • Service: 15306210
  • Description: 24-Way F Micro-Pack 100 Series (GY)

Terminal Part Information

  • Pins: A5, A6, A7, A8
  • Terminal/Tray: 12146448/19
  • Core/Insulation Crimp: E/A
  • Release Tool/Test Probe: 12031876-1/J-35616-6 (BN)
  • Pins: A9, A10, A11, A12, B1, B2, B3, B4, B5, B6, B7, B8, B9, B10, B11, B12
  • Terminal/Tray: 12146447/3
  • Core/Insulation Crimp: E/C
  • Release Tool/Test Probe: 12031876-1/J-35616-6 (BN)

Audio Amplifier C1 (w/UQA)

Pin

Wire Color

Circuit No.

Function

A1-A4

--

--

Not Used

A5

TN

201

Left Front Speaker Output (+)

A6

GY

118

Left Front Speaker Output (-)

A7

L-GN

200

Right Front Speaker Output (+)

A8

D-GN

117

Right Front Speaker Output (-)

A9

D-BU

1857

Left Front Midrange Speaker Output (+)

A10

L-BU

1957

Left Front Midrange Speaker Output (-)

A11

OG

1853

Right Front Midrange Speaker Output (+)

A12

D-GN

1953

Right Front Midrange Speaker Output (-)

B1

GY/BK

2334

Radio Mute Signal

B2

PU

493

Rear Seat Audio Enable Signal

B3

BK

1946

Right Rear Low Level Audio Signal (-)

B4

D-BU

546

Right Rear Low Level Audio Signal (+)

B5

D-GN/WH

1547

Left Rear Low Level Audio Signal (-)

B6

BN

599

Left Rear Low Level Audio Signal (+)

B7

OG/BK

1546

Right Front Low Level Audio Signal (-)

B8

L-GN

512

Right Front Low Level Audio Signal (+)

B9

D-GN

1947

Left Front Low Level Audio Signal (-)

B10

TN

511

Left Front Low Level Audio Signal (+)

B11

PK

314

Radio On Signal

B12

BARE

2099

Drain Wire

Audio Amplifier C2 (w/UQA)


Object Number: 1552610  Size: CH

Connector Part Information

  • OEM: 15357040
  • Service: 12110626
  • Description: 8-Way F Metri-Pack 280 Series (L-GY)

Terminal Part Information

  • Pins: A
  • Terminal/Tray: 12110842/4
  • Core/Insulation Crimp: A/B
  • Release Tool/Test Probe: 15315247/J-35616-4A (PU)
  • Pins: B, C, F, G, H
  • Terminal/Tray: 12110844/4
  • Core/Insulation Crimp: C/A
  • Release Tool/Test Probe: 15315247/J-35616-4A (PU)
  • Pins: E
  • Terminal/Tray: 12110844/4
  • Core/Insulation Crimp: E/A
  • Release Tool/Test Probe: 15315247/J-35616-4A (PU)

Audio Amplifier C2 (w/UQA)

Pin

Wire Color

Circuit No.

Function

A

BK

1550

Ground (LWB)

BK

1650

Ground (SWB)

B

BN

199

Left Rear Speaker Output (+)

C

D-BU

46

Right Rear Speaker Output (+)

D

--

--

Not Used

E

BARE

1573

Drain Wire

F

L-BU

115

Right Rear Speaker Output (-)

G

YE

116

Left Rear Speaker Output (-)

H

OG

3740

Battery Positive Voltage

Digital Radio Receiver (w/U2K)


Object Number: 850856  Size: CH

Connector Part Information

  • OEM: 15394150
  • Service: 15394150
  • Description: 16-Way F Micro 64 Series (BK)
  • Pins: 2, 3, 7, 9, 10, 16
  • Terminal/Tray: See Terminal Repair Kit
  • Core/Insulation Crimp: See Terminal Repair Kit
  • Release Tool/Test Probe: See Terminal Repair Kit

Digital Radio Receiver (w/U2K)

Pin

Wire Color

Circuit No.

Function

1

--

--

Not Used

2

BN/WH

367

Left Audio Signal (+)

3

D-GN/WH

368

Right Audio Signal (+)

4-6

--

--

Not Used

7

YE

5679

Class 2 Serial Data

8

--

--

Not Used

9

BK/WH

751

Ground

10

BK/WH

372

Audio Common

11-15

--

--

Not Used

16

OG

340

Battery Positive Voltage

Digital Video Disc (DVD) Player (U42)


Object Number: 850857  Size: CH

Connector Part Information

  • OEM: 15341086
  • Service: 88986454
  • Description: 12-Way F Multilock 040 Series (BK)

Terminal Part Information

  • Pins: 2, 5, 6, 7, 9, 12
  • Terminal/Tray: See Terminal Repair Kit
  • Core/Insulation Crimp: See Terminal Repair Kit
  • Release Tool/Test Probe: See Terminal Repair Kit

Digital Video Disc (DVD) Player (U42)

Pin

Wire Color

Circuit No.

Function

1

--

--

Not Used

2

YE/BK

5485

Class 2 Serial Data

3-4

--

--

Not Used

5

D-GN/WH

368

Right Audio Signal (+)

6

BN/WH

367

Left Audio Signal (+)

7

BK

1350

Ground

8

--

--

Not Used

9

OG

3140

Battery Positive Voltage

10-11

--

--

Not Used

12

BK/WH

372

Audio Common

Radio C1 (w/o UQA)


Object Number: 73156  Size: CH

Connector Part Information

  • OEM: 12110088
  • Service: 15306210
  • Description: 24-Way F Micro-Pack 100 Series (GY)

Terminal Part Information

  • Pins: A1, A8, A9, A10, A11, A12, B1, B8, B9, B10, B11
  • Terminal/Tray: 12146447/3
  • Core/Insulation Crimp: E/C
  • Release Tool/Test Probe: 12031876-1/J-35616-6 (BN)

Radio C1 (w/o UQA)

Pin

Wire Color

Circuit No.

Function

A1

OG

1044

Radio Class 2 Serial Data

A2-A7

--

--

Not Used

A8

TN

201

Left Front Speaker Output (+)

A9

GY

118

Left Front Speaker Output (-)

A10

L-BU

115

Right Rear Speaker Output (-) (w/o UK6)

BK

1946

Right Rear Low Level Audio Signal (-) (w/UK6)

A11

D-BU

46

Right Rear Speaker Output (+) (w/o UK6)

D-BU

546

Right Rear Low Level Audio Signal (+) (w/UK6)

A12

BK/WH

751

Ground

B1

OG

340

Battery Positive Voltage

B2-B7

--

--

Not Used

B8

BN

199

Left Rear Speaker Output (+) (w/o UK6)

BN/WH

599

Left Rear Low Level Audio Signal (+) (w/UK6)

B9

YE

116

Left Rear Speaker Output (-) (w/o UK6)

D-GN/WH

1547

Left Rear Low Level Audio Signal (-) (w/UK6)

B10

D-GN

117

Right Front Speaker Output (-)

B11

L-GN

200

Right Front Speaker Output (+)

B12

--

--

Not Used

Radio C1 (w/UQA)


Object Number: 73156  Size: CH

Connector Part Information

  • OEM: 12110088
  • Service: 15306210
  • Description: 24-Way F Micro-Pack 100 Series (GY)

Terminal Part Information

  • Pins: A1, A3, A5, A8, A9, A10, A11, A12, B1, B3, B6, B8, B9, B10, B11
  • Terminal/Tray: 12146447/3
  • Core/Insulation Crimp: E/C
  • Release Tool/Test Probe: 12031876-1/J-35616-6 (BN)

Radio C1 (w/UQA)

Pin

Wire Color

Circuit No.

Function

A1

OG

1044

Radio Class 2 Serial Data

A2

--

--

Not Used

A3

PU

493

Rear Seat Audio Enable Signal

A4

--

--

Not Used

A5

BARE

2099

Drain Wire

A6-A7

--

--

Not Used

A8

TN

511

Left Front Low Level Audio Signal (+)

A9

D-GN

1947

Left Front Low Level Audio Signal (-)

A10

BK

1946

Right Rear Low Level Audio Signal (-)

A11

D-BU

546

Right Rear Low Level Audio Signal (+)

A12

BK/WH

751

Ground

B1

OG

340

Battery Positive Voltage

B2

--

--

Not Used

B3

PK

314

Radio On Signal

B4-B5

--

--

Not Used

B6

GY/BK

2334

Radio Mute Signal

B7

--

--

Not Used

B8

BN

599

Left Rear Low Level Audio Signal (+)

B9

D-GN/WH

1547

Left Rear Low Level Audio Signal (-)

B10

OG/BK

1546

Right Front Low Level Audio Signal (-)

B11

L-GN

512

Right Front Low Level Audio Signal (+)

B12

--

--

Not Used

Radio C2


Object Number: 73151  Size: CH

Connector Part Information

  • OEM: 12064799
  • Service: 15305996
  • Description: 12-Way F Micro-Pack 100 Series (BK)

Terminal Part Information

  • Pins: C, E, H, J, K, L, M
  • Terminal/Tray: 12146447/3
  • Core/Insulation Crimp: E/C
  • Release Tool/Test Probe: 12031876-1/J-35616-6 (BN)

Radio C2

Pin

Wire Color

Circuit No.

Function

A-B

--

--

Not Used

C

BARE

1573

Drain Wire (U42/U2k))

D

--

--

Not Used

E

D-GN/WH

817

Vehicle Speed Signal (w/UQA)

F-G

--

--

Not Used

H

D-GN/WH

368

Right Audio Signal (+) (U42/U2K)

J

BN/WH

367

Left Audio Signal (-) (U42/U2K)

K

BK/WH

372

Audio Common (U42/U2K)

L

OG/BK

2061

Remote Radio Audio Output (-) (w/UE1)

M

PK/BK

2062

Remote Radio Left Audio Signal (w/UE1)

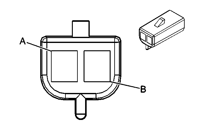
Speaker - LF Door (w/UQA)


Object Number: 130687  Size: CH

Connector Part Information

  • OEM: 12064867
  • Service: 88987981
  • Description: 2-Way F Metri-Pack 150 Series (NA)

Terminal Part Information

  • Terminal/Tray: 12047767/2
  • Core/Insulation Crimp: E/A
  • Release Tool/Test Probe: 12094429/J-35616-2A (GY)

Speaker - LF Door (w/UQA)

Pin

Wire Color

Circuit No.

Function

A

GY

118

Left Front Speaker Output (-)

B

TN

201

Left Front Speaker Output (+)

Speaker - LF I/P (w/UQA)


Object Number: 646421  Size: CH

Connector Part Information

  • OEM: 12059253
  • Service: 12125690
  • Description: 2-Way F Metri-Pack 150 Series (L-GN)

Terminal Part Information

  • Terminal/Tray: 12064971/5
  • Core/Insulation Crimp: E/C
  • Release Tool/Test Probe: 12094429/J-35616-2A (GY)

Speaker - LF I/P (w/UQA)

Pin

Wire Color

Circuit No.

Function

A

L-BU

1957

Left Front Midrange Speaker Output (-)

B

D-BU

1857

Left Front Midrange Speaker Output (+)

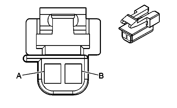
Speaker - LR Door (w/o UQA)


Object Number: 280768  Size: CH

Connector Part Information

  • OEM: 12052832
  • Service: 12101825
  • Description: 2-Way F Metri-Pack 150 Series (BK)

Terminal Part Information

  • Terminal/Tray: 12064971/5
  • Core/Insulation Crimp: E/C
  • Release Tool/Test Probe: 12094429/J-35616-2A (GY)

Speaker - LR Door (w/o UQA)

Pin

Wire Color

Circuit No.

Function

A

BN

199

Left Rear Speaker Output (+)

B

YE

116

Left Rear Speaker Output (-)

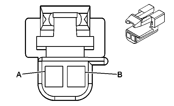
Speaker - LR Door (w/UQA)


Object Number: 130724  Size: CH

Connector Part Information

  • OEM: 12064869
  • Service: 12117323
  • Description: 2-Way F Metri-Pack 150 Series (BU)

Terminal Part Information

  • Terminal/Tray: 12047767/2
  • Core/Insulation Crimp: E/A
  • Release Tool/Test Probe: 12094429/J-35616-2A (GY)

Speaker - LR Door (w/UQA)

Pin

Wire Color

Circuit No.

Function

A

YE

116

Left Rear Speaker Output (-)

B

BN

199

Left Rear Speaker Output (+)

Speaker - RF Door (w/UQA)


Object Number: 130687  Size: CH

Connector Part Information

  • OEM: 12064867
  • Service: 88987981
  • Description: 2-Way F Metri-Pack 150 Series (NA)

Terminal Part Information

  • Terminal/Tray: 12047767/2
  • Core/Insulation Crimp: E/A
  • Release Tool/Test Probe: 12094429/J-35616-2A (GY)

Speaker - RF Door (w/UQA)

Pin

Wire Color

Circuit No.

Function

A

D-GN

117

Right Front Speaker Output (-)

B

L-GN

200

Right Front Speaker Output (+)

Speaker - RF I/P (w/UQA)


Object Number: 646421  Size: CH

Connector Part Information

  • OEM: 12059253
  • Service: 12125690
  • Description: 2-Way F Metri-Pack 150 Series (L-GN)

Terminal Part Information

  • Terminal/Tray: 12064971/5
  • Core/Insulation Crimp: E/C
  • Release Tool/Test Probe: 12094429/J-35616-2A (GY)

Speaker - RF I/P (w/UQA)

Pin

Wire Color

Circuit No.

Function

A

D-GN

1953

Right Front Midrange Speaker Output (-)

B

OG

1853

Right Front Midrange Speaker Output (+)

Speaker - RR Door (w/o UQA)


Object Number: 280768  Size: CH

Connector Part Information

  • OEM: 12052832
  • Service: 12101825
  • Description: 2-Way F Metri-Pack 150 Series (BK)

Terminal Part Information

  • Terminal/Tray: 12064971/5
  • Core/Insulation Crimp: E/C
  • Release Tool/Test Probe: 12094429/J-35616-2A (GY)

Speaker - RR Door (w/o UQA)

Pin

Wire Color

Circuit No.

Function

A

D-BU

46

Right Rear Speaker Output (+)

B

L-BU

115

Right Rear Speaker Output (-)

Speaker - RR Door (w/UQA)


Object Number: 130724  Size: CH

Connector Part Information

  • OEM: 12064869
  • Service: 12117323
  • Description: 2-Way F Metri-Pack 150 Series (BU)

Terminal Part Information

  • Terminal/Tray: 12047767/2
  • Core/Insulation Crimp: E/A
  • Release Tool/Test Probe: 12094429/J-35616-2A (GY)

Speaker - RR Door (w/UQA)

Pin

Wire Color

Circuit No.

Function

A

L-BU

115

Right Rear Speaker Output (-)

B

D-BU

46

Right Rear Speaker Output (+)

Speaker Assembly - LF Door (w/o UQA)


Object Number: 280768  Size: CH

Connector Part Information

  • OEM: 12052832
  • Service: 12101825
  • Description: 2-Way F Metri-Pack 150 Series (BK)

Terminal Part Information

  • Terminal/Tray: 12064971/5
  • Core/Insulation Crimp: E/C
  • Release Tool/Test Probe: 12094429/J-35616-2A (GY)

Speaker Assembly - LF Door (w/o UQA)

Pin

Wire Color

Circuit No.

Function

A

TN

201

Left Front Speaker Output (+)

B

GY

118

Left Front Speaker Output (-)

Speaker Assembly - RF Door (w/o UQA)


Object Number: 280768  Size: CH

Connector Part Information

  • OEM: 12052832
  • Service: 12101825
  • Description: 2-Way F Metri-Pack 150 Series (BK)

Terminal Part Information

  • Terminal/Tray: 12064971/5
  • Core/Insulation Crimp: E/C
  • Release Tool/Test Probe: 12094429/J-35616-2A (GY)

Speaker Assembly - RF Door (w/o UQA)

Pin

Wire Color

Circuit No.

Function

A

L-GN

200

Right Front Speaker Output (+)

B

D-GN

117

Right Front Speaker Output (-)