GM Service Manual Online
For 1990-2009 cars only
Connector 1: A/C Compressor Clutch Assembly
Connector 2: A/C Low Pressure Switch
Connector 3: A/C Refrigerant Pressure Sensor (4.2L)
Connector 4: A/C Refrigerant Pressure Sensor (5.3L/6.0L)
Connector 5: Air Temperature Actuator - Auxiliary (Long Wheel Base)
Connector 6: Air Temperature Actuator - Left
Connector 7: Air Temperature Actuator - Right
Connector 8: Ambient Air Temperature Sensor (DF5)
Connector 9: Auxiliary Water Pump Relay 1 (Long Wheel Base)
Connector 10: Blower Motor
Connector 11: Blower Motor - Auxiliary (Long Wheel Base)
Connector 12: Blower Motor Control Processor - Auxiliary (Long Wheel Base)
Connector 13: Blower Motor Fuse - Auxiliary (Long Wheel Base)
Connector 14: Blower Motor Resistor Assembly
Connector 15: Blower Motor Switch - Front Auxiliary (Long Wheel Base)
Connector 16: Console Mode Actuator - Auxiliary
Connector 17: Coolant Bypass Valve (Long Wheel Base)
Connector 18: Defrost Actuator
Connector 19: HVAC Control Module C1
Connector 20: HVAC Control Module C2
Connector 21: HVAC Control Module - Auxiliary (Short Wheel Base)
Connector 22: HVAC Control Module - Auxiliary (Long Wheel Base)
Connector 23: Mode Actuator
Connector 24: Mode Actuator - Auxiliary (Long Wheel Base)
Connector 25: Recirculation Actuator
Connector 26: Water Pump - Auxiliary (Long Wheel Base)

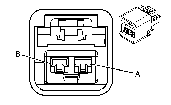
A/C Compressor Clutch Assembly


Object Number: 684807  Size: CH

Connector Part Information

  • OEM: 12110293
  • Service: 12117025
  • Description: 3-Way F Metri-Pack 150 Series Sealed (BK)

Terminal Part Information

  • Terminal/Tray: 12048074/2
  • Core/Insulation Crimp: E/1
  • Release Tool/Test Probe: 12094429/J-35616-2A (GY)

A/C Compressor Clutch Assembly

Pin

Wire Color

Circuit No.

Function

A

BK

350

Ground

B

D-GN

59

A/C Compressor Clutch Supply Voltage

C

L-GN

2278

A/C Compressor Status Signal

A/C Low Pressure Switch


Object Number: 537107  Size: CH

Connector Part Information

  • OEM: 12052644
  • Service: See Catalog
  • Description: 2-Way F Metri-Pack 150 Series Sealed (L-GY)

Terminal Part Information

  • Terminal/Tray: 12048074/2
  • Core/Insulation Crimp: E/1
  • Release Tool/Test Probe: 12094429/J-35616-2A (GY)

A/C Low Pressure Switch

Pin

Wire Color

Circuit No.

Function

A

D-BU

204

A/C Low Pressure Sensor Signal

B

BK

250

Ground

A/C Refrigerant Pressure Sensor (4.2L)


Object Number: 1519475  Size: CH

Connector Part Information

  • OEM: 15466099
  • Service: 88988301
  • Description: 3-Way F GT 150 Series Sealed (BK)

Terminal Part Information

  • Terminal/Tray: See Terminal Repair Kit
  • Core/Insulation Crimp: See Terminal Repair Kit
  • Release Tool/Test Probe: See Terminal Repair Kit

A/C Refrigerant Pressure Sensor (4.2L)

Pin

Wire Color

Circuit No.

Function

1

BK

2751

Low Reference

2

GY

2700

5-Volt Reference

3

RD/BK

380

A/C Refrigerant Pressure Sensor Signal

A/C Refrigerant Pressure Sensor (5.3L/6.0L)


Object Number: 1519475  Size: CH

Connector Part Information

  • OEM: 15477863
  • Service: 88988301
  • Description: 3-Way F GT 150 Series Sealed (BK)

Terminal Part Information

  • Terminal/Tray: 15326267/19
  • Core/Insulation Crimp: E/4
  • Release Tool/Test Probe: 15315247/J-35616-2A (GY)

A/C Refrigerant Pressure Sensor (5.3L/6.0L)

Pin

Wire Color

Circuit No.

Function

1

BK

2751

Low Reference

2

GY

2700

5-Volt Reference

3

RD/BK

380

A/C Refrigerant Pressure Sensor Signal

Air Temperature Actuator - Auxiliary (Long Wheel Base)


Object Number: 258172  Size: CH

Connector Part Information

  • OEM: 12064982
  • Service: 12102633
  • Description: 5-Way F Metri-Pack 100 Series Unsealed (BK)

Terminal Part Information

  • Pins: 1, 3
  • Terminal/Tray: 12146447/3
  • Core/Insulation Crimp: E/C
  • Release Tool/Test Probe: 12031876-1/J-35616-6 (BN)
  • Pins: 2, 4, 5
  • Terminal/Tray: See Terminal Repair Kit
  • Core/Insulation Crimp: See Terminal Repair Kit
  • Release Tool/Test Probe: See Terminal Repair Kit

Air Temperature Actuator - Auxiliary (Long Wheel Base)

Pin

Wire Color

Circuit No.

Function

1

GY/RD

2598

Low Reference

2

D-BU

1199

Auxiliary Air Temperature Door Position Signal

3

GY/BK

598

5-Volt Reference

4

RD

2600

Auxiliary Actuator Door Control

5

YE

2214

Auxiliary Air Temperature Door Control

Air Temperature Actuator - Left


Object Number: 281207  Size: CH

Connector Part Information

  • OEM: 12040953
  • Service: 12102632
  • Description: 6-Way F Micro-Pack 100 Series Unsealed (BK)

Terminal Part Information

  • Pins: 5, 6, 7, 9, 10
  • Terminal/Tray: 12146447/3
  • Core/Insulation Crimp: E/C
  • Release Tool/Test Probe: 12031876-1/J-35616-6 (BN)

Air Temperature Actuator - Left

Pin

Wire Color

Circuit No.

Function

5

BN

341

Ignition 3 Voltage

6

D-BU

1199

Left Air Temperature Door Control

7

YE

1791

Low Reference

8

--

--

Not Used

9

L-BU

733

Left Air Temperature Door Position Signal

10

L-BU /BK

1688

5-Volt Reference

Air Temperature Actuator - Right


Object Number: 281207  Size: CH

Connector Part Information

  • OEM: 12040953
  • Service: 12102632
  • Description: 6-Way F Micro-Pack 100 Series Unsealed (BK)

Terminal Part Information

  • Pins: 5, 6, 7, 9, 10
  • Terminal/Tray: 12146447/3
  • Core/Insulation Crimp: E/C
  • Release Tool/Test Probe: 12031876-1/J-35616-6 (BN)

Air Temperature Actuator - Right

Pin

Wire Color

Circuit No.

Function

5

BN

341

Ignition 3 Voltage

6

WH/BK

1236

Right Air Temperature Door Control

7

YE

1791

Low Reference

8

--

--

Not Used

9

D-BU

1646

Right Air Temperature Door Position Signal

10

L-BU /BK

1688

5-Volt Reference

Ambient Air Temperature Sensor (DF5)


Object Number: 684793  Size: CH

Connector Part Information

  • OEM: 12052642
  • Service: 12101856
  • Description: 2-Way F Micro-Pack 150 Series Sealed (L-GN)

Terminal Part Information

  • Terminal/Tray: 12048074/2
  • Core/Insulation Crimp: E/1
  • Release Tool/Test Probe: 12094429/J-35616-2A (GY)

Ambient Air Temperature Sensor (DF5)

Pin

Wire Color

Circuit No.

Function

A

L-GN/BK

735

Ambient Air Temperature Sensor Signal

B

BN

718

Low Reference

Auxiliary Water Pump Relay 1 (Long Wheel Base)


Object Number: 535912  Size: CH

Connector Part Information

  • OEM: 12129716
  • Service: 15306045
  • Description: 4-Way F Metri-Pack 280 Series Sealed (GY)

Terminal Part Information

  • Terminal/Tray: 12110847/4
  • Core/Insulation Crimp: See Terminal Repair Kit
  • Release Tool/Test Probe: 15315247/J-35616-4A (PU)

Auxiliary Water Pump Relay 1 (Long Wheel Base)

Pin

Wire Color

Circuit No.

Function

30

OG

3040

Battery Positive Voltage

85

GY

2603

TXV Solenoid Control

86

BN

241

Ignition 3 Voltage

87

L-GN/BK

6554

Water Pump Supply Voltage

Blower Motor


Object Number: 523591  Size: CH

Connector Part Information

  • OEM: 12066681
  • Service: 12126446
  • Description: 2-Way F Metri-Pack 630 Series Sealed (BK)

Terminal Part Information

  • Terminal/Tray: See Terminal Repair Kit
  • Core/Insulation Crimp: See Terminal Repair Kit
  • Release Tool/Test Probe: See Terminal Repair Kit

Blower Motor

Pin

Wire Color

Circuit No.

Function

A

PU

65

Blower Motor Supply Voltage

B

BK

850

Ground

Blower Motor - Auxiliary (Long Wheel Base)


Object Number: 695495  Size: CH

Connector Part Information

  • OEM: 15326870
  • Service: 88953160
  • Description: 2-Way F GT 280 Series Unsealed (BK)

Terminal Part Information

  • Terminal/Tray: See Terminal Repair Kit
  • Core/Insulation Crimp: See Terminal Repair Kit
  • Release Tool/Test Probe: See Terminal Repair Kit

Blower Motor - Auxiliary (Long Wheel Base)

Pin

Wire Color

Circuit No.

Function

A

OG

840

Battery Positive Voltage

B

BK

250

Ground

Blower Motor Control Processor - Auxiliary (Long Wheel Base)


Object Number: 684908  Size: CH

Connector Part Information

  • OEM: 15326631
  • Service: 15306360
  • Description: 4-Way F GT 280 Series Sealed (D-GY)

Terminal Part Information

  • Terminal/Tray: See Terminal Repair Kit
  • Core/Insulation Crimp: See Terminal Repair Kit
  • Release Tool/Test Probe: See Terminal Repair Kit

Blower Motor Control Processor - Auxiliary (Long Wheel Base)

Pin

Wire Color

Circuit No.

Function

A

BK

1650

Ground

B

BK

250

Ground

C

GY

2604

Auxiliary Blower Motor Speed Control

D

OG

840

Battery Positive Voltage

Blower Motor Fuse - Auxiliary (Long Wheel Base)


Object Number: 350882  Size: CH

Connector Part Information

  • OEM: 12010105
  • Service: See Catalog
  • Description: Fuse Block Pack-Con Series (BK)

Terminal Part Information

  • Terminal/Tray: See Terminal Repair Kit
  • Core/Insulation Crimp: See Terminal Repair Kit
  • Release Tool/Test Probe: See Terminal Repair Kit

Blower Motor Fuse - Auxiliary (Long Wheel Base)

Pin

Wire Color

Circuit No.

Function

A

OG

840

Battery Positive Voltage

B

OG

840

Battery Positive Voltage

OG

840

Battery Positive Voltage

Blower Motor Resistor Assembly


Object Number: 73146  Size: CH

Connector Part Information

  • OEM: 12052854
  • Service: 88953358
  • Description: 7-Way F Metri-Pack 280 Series Unsealed (BK)

Terminal Part Information

  • Pins: A, B, C, D, F
  • Terminal/Tray: 12015858/4
  • Core/Insulation Crimp: See Terminal Repair Kit
  • Release Tool/Test Probe: 12094430/J-35616-4A (PU)
  • Pins: E, G
  • Terminal/Tray: 12015858/4
  • Core/Insulation Crimp: F/G
  • Release Tool/Test Probe: 12094430/J-35616-4A (PU)

Blower Motor Resistor Assembly

Pin

Wire Color

Circuit No.

Function

A

TN

63

Medium 1 Blower Motor Control

B

YE

60

Low Blower Motor Control

C

PU

73

Medium 3 Blower Motor Control

D

L-BU

72

Medium 2 Blower Motor Control

E

BK

2250

Ground

F

OG

52

High Blower Motor Control

G

RD

542

Battery Positive Voltage

Blower Motor Switch - Front Auxiliary (Long Wheel Base)


Object Number: 333035  Size: CH

Connector Part Information

  • OEM: 12047781
  • Service: 12101864
  • Description: 3-Way F Metri-Pack 150 Series Unsealed (BK)

Terminal Part Information

  • Terminal/Tray: 12064971/5
  • Core/Insulation Crimp: E/C
  • Release Tool/Test Probe: 12094429/J-35616-2A (GY)

Blower Motor Switch - Front Auxiliary (Long Wheel Base)

Pin

Wire Color

Circuit No.

Function

A

YE

2277

Auxiliary HVAC Enable Control

B

GY

2598

Low Reference

C

BN/WH

230

Instrument Panel Lamps Dimming Control

Console Mode Actuator - Auxiliary


Object Number: 258172  Size: CH

Connector Part Information

  • OEM: 12064982
  • Service: 12102633
  • Description: 5-Way F Micro-Pack 100 Series Unsealed (BK)

Terminal Part Information

  • Pins: 1,3, 4
  • Pins:2 (Short Wheel Base)
  • Terminal/Tray: 12146447/3
  • Core/Insulation Crimp: E/C
  • Release Tool/Test Probe: 12031876-1/J-35616-6 (BN)
  • Pins: 5
  • Pins: 2 (Long Wheel Base)
  • Terminal/Tray: See Terminal Repair Kit
  • Core/Insulation Crimp: See Terminal Repair Kit
  • Release Tool/Test Probe: See Terminal Repair Kit

Console Mode Actuator - Auxiliary

Pin

Wire Color

Circuit No.

Function

1

GY

2598

Low Reference (Long Wheel Base)

BN

341

Ignition 3 Voltage (Short Wheel Base)

2

L-BU

5433

Console Mode Door Position Signal (Long Wheel Base)

WH

119

Auxiliary Mode Door Control (Short Wheel Base)

3

GY

598

5-Volt Reference (Long Wheel Base)

BK

2250

Ground (Short Wheel Base)

4

GY

2599

Auxiliary Mode Door Control (Long Wheel Base)

5

L-GN

5434

Console Mode Door Control (Long Wheel Base)

Coolant Bypass Valve (Long Wheel Base)


Object Number: 635009  Size: CH

Connector Part Information

  • OEM: 12052641
  • Service: 12102747
  • Description: 2-Way F Metri-Pack 150 Series Sealed (BK)

Terminal Part Information

  • Terminal/Tray: 12048074/2
  • Core/Insulation Crimp: E/1
  • Release Tool/Test Probe: 12094429/J-35616-2A (GY)

Coolant Bypass Valve (Long Wheel Base)

Pin

Wire Color

Circuit No.

Function

A

GY/BK

1596

Coolant Bypass Solenoid Control

B

BK

250

Ground

Defrost Actuator


Object Number: 281207  Size: CH

Connector Part Information

  • OEM: 12040953
  • Service: 12102632
  • Description: 6-Way F Micro-Pack 100 Series Unsealed (BK)

Terminal Part Information

  • Pins: 5, 6, 7, 9, 10
  • Terminal/Tray: 12146447/3
  • Core/Insulation Crimp: E/C
  • Release Tool/Test Probe: 12031876-1/J-35616-6 (BN)

Defrost Actuator

Pin

Wire Color

Circuit No.

Function

5

BN

341

Ignition 3 Voltage

6

TN/BK

2274

Defrost Door Control

7

YE

1791

Low Reference

8

--

--

Not Used

9

L-GN/BK

2276

Defrost Door Position Signal

10

L-BU/BK

1688

5-Volt Reference

HVAC Control Module C1


Object Number: 130690  Size: CH

Connector Part Information

  • OEM: 12110206
  • Service: 12110206
  • Description: 24-Way F Micro-Pack 100 Series Unsealed (L-BU)

Terminal Part Information

  • Pins: A1, A2, A3, A4, A5, A7, A8, A9, A10, A12, B1, B2, B3, B4, B5, B6, B7, B8, B9, B11, B12
  • Terminal/Tray: 12146447/3
  • Core/Insulation Crimp: E/C
  • Release Tool/Test Probe: 12031876-1/J-35616-6 (BN)
  • Pins: A11
  • Terminal/Tray: 12146448/19
  • Core/Insulation Crimp: E/A
  • Release Tool/Test Probe: 12031876-1/J-35616-6 (BN)

HVAC Control Module C1

Pin

Wire Color

Circuit No.

Function

A1

D-GN

1614

Recirculation Door Control

A2

D-BU

1646

Right Air Temperature Door Position Signal

A3

L-BU

733

Left Air Temperature Door Position Signal

A4

L-GN/BK

2276

Defrost Door Position Signal

A5

L-GN

2275

Mode Door Position Signal

A6

--

--

Not Used

A7

BN/WH

230

Instrument Panel Lamps Dimming Control

A8

BK/WH

751

Ground

A9

GY/BK

1596

Coolant Bypass Solenoid Control (Long Wheel Base Except XUV)

A10

YE

2277

Auxiliary HVAC Enable Control

A11

D-GN

71

OFF Blower Motor Control

A12

D-BU

204

A/C Low Pressure Sensor Signal

B1

WH/BK

1236

Right Air Temperature Door Control

B2

D-BU

1199

Left Air Temperature Door Control

B3

TN/BK

2274

Defrost Door Control

B4

TN

2273

Mode Door Control

B5

BN

341

Ignition 3 Voltage

B6

YE

1791

Low Reference

B7

OG

4340

Battery Positive Voltage

B8

L-BU/BK

1688

5-Volt Reference

B9

BK

2250

Ground

B10

--

--

Not Used

B11

WH

1038

Class 2 Serial Data

B12

L-GN

2278

A/C Compressor Status Signal

HVAC Control Module C2


Object Number: 556473  Size: CH

Connector Part Information

  • OEM: 15326924
  • Service: 15306174
  • Description: 8-Way F GT 280 Series Unsealed (BK)

Terminal Part Information

  • Pins: H
  • Terminal/Tray: 15304711/8
  • Core/Insulation Crimp: 2/A
  • Release Tool/Test Probe: 15315247/J-35616-4A (PU)
  • Pins: A, B, C, D, F
  • Terminal/Tray: 15304713/19
  • Core/Insulation Crimp: 4/4
  • Release Tool/Test Probe: 15315247/J-35616-4A (PU)
  • Pins: G
  • Terminal/Tray: 15304713/19
  • Core/Insulation Crimp: F/D
  • Release Tool/Test Probe: 15315247/J-35616-4A (PU)

HVAC Control Module C2

Pin

Wire Color

Circuit No.

Function

A

PU

73

Medium 3 Blower Motor Control

B

L-BU

72

Medium 2 Blower Motor Control

C

TN

63

Medium 1 Blower Motor Control

D

YE

60

Low Blower Motor Control

E

--

--

Not Used

F

OG

52

High Blower Motor Control

G

BN

141

Ignition 3 Voltage

H

D-GN

71

OFF Blower Motor Control

HVAC Control Module - Auxiliary (Short Wheel Base)


Object Number: 280793  Size: CH

Connector Part Information

  • OEM: 12052444
  • Service: 12101874
  • Description: 8-Way F Micro-Pack 100 Series Unsealed (BK)

Terminal Part Information

  • Pins: 1, 4, 6, 7, 8
  • Terminal/Tray: 12146447/3
  • Core/Insulation Crimp: E/C
  • Release Tool/Test Probe: 12031876-1/J-35616-6 (BN)

HVAC Control Module - Auxiliary (Short Wheel Base)

Pin

Wire Color

Circuit No.

Function

1

BN

341

Ignition 3 Voltage

2-3

--

--

Not Used

4

YE

2277

Auxiliary HVAC Enable Control

5

--

--

Not Used

6

WH

119

Auxiliary Mode Door Control

7

BK

2250

Ground

8

BN/WH

230

Instrument Panel Lamps Dimming Control

HVAC Control Module - Auxiliary (Long Wheel Base)


Object Number: 73156  Size: CH

Connector Part Information

  • OEM: 12110088
  • Service: 15306210
  • Description: 24-Way F Micro-Pack 100 Series Unsealed (GY)

Terminal Part Information

  • Pins: A8, B4
  • Terminal/Tray: See Terminal Repair Kit
  • Core/Insulation Crimp: See Terminal Repair Kit
  • Release Tool/Test Probe: See Terminal Repair Kit
  • Pins: A1, A2, A3, A4, A5, A6, A7, A9, A11, B1, B2, B3, B5, B12
  • Terminal/Tray: 12146447/3
  • Core/Insulation Crimp: E/C
  • Release Tool/Test Probe: 12031876-1/J-35616-6 (BN)

HVAC Control Module - Auxiliary (Long Wheel Base)

Pin

Wire Color

Circuit No.

Function

A1

BN/WH

230

Instrument Panel Lamps Dimming Control

A2

OG

4340

Battery Positive Voltage

A3

GY

2603

TXV Solenoid Control

A4

GY

2599

Auxiliary Mode Door Control

A5

RD

2600

Auxiliary Actuator Door Control

A6

YE

2277

Auxiliary HVAC Enable Control

A7

D-BU

1199

Auxiliary Air Temperature Door Position Signal

A8

L-BU

5433

Console Mode Door Position Signal

A9

GY

598

5-Volt Reference

A10

--

--

Not Used

A11

GY

2289

Rear HVAC/Audio Class 2 Serial Data

A12

--

--

Not Used

B1

BK

2250

Ground

B2

GY

2598

Low Reference

B3

YE

2214

Auxiliary Air Temperature Door Control

B4

L-GN

5434

Console Mode Door Control

B5

BN/WH

2601

Auxiliary Mode Door Position Signal

B6-B11

--

--

Not Used

B12

GY

2604

Auxiliary Blower Motor Speed Control

Mode Actuator


Object Number: 281207  Size: CH

Connector Part Information

  • OEM: 12040953
  • Service: 12102632
  • Description: 6-Way F Micro-Pack 100 Series (BK)

Terminal Part Information

  • Pins: 5, 6, 7, 9, 10
  • Terminal/Tray: 12146447/3
  • Core/Insulation Crimp: E/C
  • Release Tool/Test Probe: 12031876-1/J-35616-6 (BN)

Mode Actuator

Pin

Wire Color

Circuit No.

Function

5

BN

341

Ignition 3 Voltage

6

TN

2273

Mode Door Control

7

YE

1791

Low Reference

8

--

--

Not Used

9

L-GN

2275

Mode Door Position Signal

10

L-BU/BK

1688

5-Volt Reference

Mode Actuator - Auxiliary (Long Wheel Base)


Object Number: 258172  Size: CH

Connector Part Information

  • OEM: 12064982
  • Service: 12102633
  • Description: 5-Way F Metri-Pack 100 Series Unsealed (BK)

Terminal Part Information

  • Pins: 1, 3
  • Terminal/Tray: 12146447/3
  • Core/Insulation Crimp: E/C
  • Release Tool/Test Probe: 12031876-1/J-35616-6 (BN)
  • Pins: 2, 4, 5
  • Terminal/Tray: See Terminal Repair Kit
  • Core/Insulation Crimp: See Terminal Repair Kit
  • Release Tool/Test Probe: See Terminal Repair Kit

Mode Actuator - Auxiliary (Long Wheel Base)

Pin

Wire Color

Circuit No.

Function

1

GY

2598

Low Reference

2

BN/WH

2601

Auxiliary Mode Door Position Signal

3

GY/BK

598

5-Volt Reference

4

RD

2600

Auxiliary Actuator Door Control

5

GY/WH

2599

Auxiliary Mode Door Control

Recirculation Actuator


Object Number: 281207  Size: CH

Connector Part Information

  • OEM: 12040953
  • Service: 12102632
  • Description: 6-Way F Micro-Pack 100 Series Unsealed (BK)

Terminal Part Information

  • Pins: 5, 6, 7
  • Terminal/Tray: 12146447/3
  • Core/Insulation Crimp: E/C
  • Release Tool/Test Probe: 12031876-1/J-35616-6 (BN)

Recirculation Actuator

Pin

Wire Color

Circuit No.

Function

5

BN

341

Ignition 3 Voltage

6

D-GN

1614

Recirculation Door Control

7

BK

2250

Ground

8-10

--

--

Not Used

Water Pump - Auxiliary (Long Wheel Base)


Object Number: 1405759  Size: CH

Connector Part Information

  • OEM: 12131678
  • Service: 89046833
  • Description: 2-Way F Timer Mini-Power Series Sealed (BK)

Terminal Part Information

  • Pins: 1
  • Terminal/Tray: See Terminal Repair Kit
  • Core/Insulation Crimp: See Terminal Repair Kit
  • Release Tool/Test Probe: See Terminal Repair Kit
  • Pins: 2
  • Terminal/Tray: 4-964286-1/16
  • Core/Insulation Crimp: E/1
  • Release Tool/Test Probe: 12093647/J-35616-4A (PU)

Water Pump - Auxiliary (Long Wheel Base)

Pin

Wire Color

Circuit No.

Function

1

L-GN/BK

6654

Right Rear Door Handle Switch Signal

2

BK

250

Ground