GM Service Manual Online
For 1990-2009 cars only

The New Venture Gear (NVG) model NV120, RPO NR9 transfer case is a single speed, full-time, all wheel drive (AWD), transfer case that incorporates a front/rear drive differential carrier assembly. The following are details of this system:

    • The front/rear drive differential carrier assembly is an open differential in the transfer case that is always sending torque to both the front and rear axles. The front/rear drive differential carrier assembly is a torque-biasing devise that senses torque and multiplies it to the other wheel, so if 1 axle is on a low friction surface and loses traction, the front/rear drive differential carrier assembly applies more torque to the other axle, such as if the rear wheels are on ice, more torque is applied to the front axle, and vise versa.
    • This is a true full-time system since it is always active with torque split between front and rear axles so torque adjustments occur instantly and smoothly.
    • The ratio of front/rear drive differential carrier assembly application is split with 33 percent to the front axle and 67 percent to the rear axle under normal conditions, but since the system is torque biased, that ratio can range from a more balanced 45:55 split up to a 25:75 split depending on road conditions and driver demands.

Object Number: 1605997  Size: LF

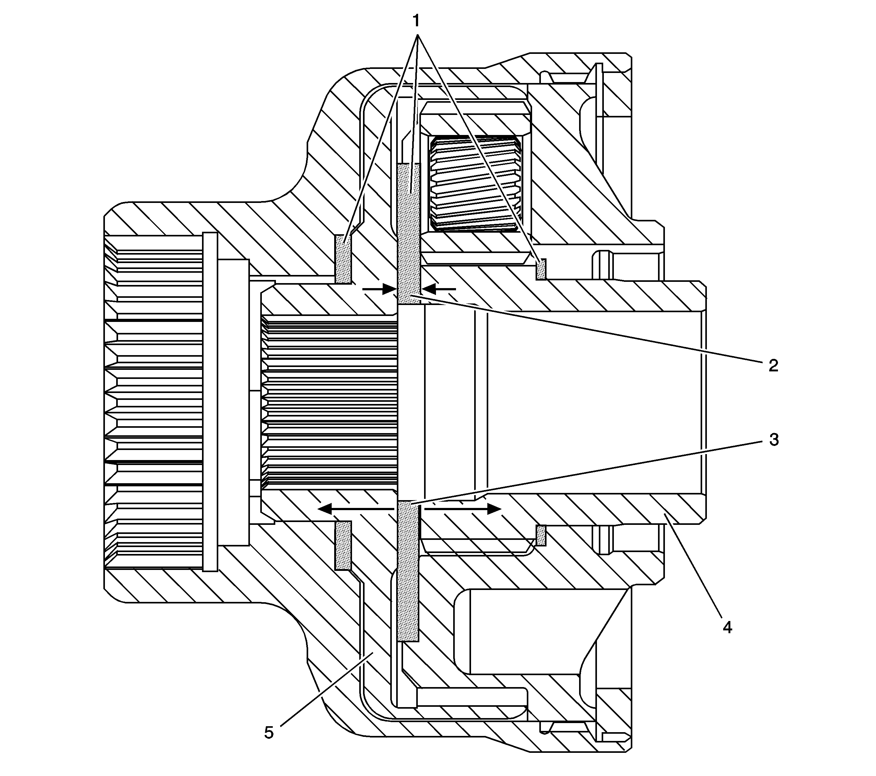
The front/rear drive differential carrier assembly uses helical gearing in a planetary arrangement. There are no clutches or preload springs. Under a no-load condition, it differentiates freely similar to an open differential. When torque is applied, thrust forces generated by the helical gearing create friction and resist differentiation resulting in limited slip capability. These forces act to drive the ring gear (5) and sun gear (4) either together (2), during coast torque, or apart (3), during drive torque. Thrust washers (1) with controlled friction surfaces react against the separating force and create friction to oppose the relative motion. It does not require differentiation or wheel slip to properly distribute torque. The locking capacity of the differential is a result of the gear design. Therefore, as long as it transmits torque and differentiates, it is operating properly. The front/rear drive differential carrier assembly is a non-serviceable assembly and must be replaced with a new assembly if damage is suspect.

The following actions occur because of the front/rear drive differential carrier assembly:

    • If the vehicle is on a hoist, the front propeller shaft can be rotated by hand.
    • The vehicle cannot be driven if 1 propeller shaft is removed.
    • Operating the vehicle on a hoist can damage the front/rear drive differential carrier assembly pinion gears, by over-spinning.
    • Operating the vehicle with 1 propeller shaft removed causes over-spinning of the front/rear drive differential carrier assembly pinion gears.

To prevent damage to the front/rear drive differential carrier assembly, DO NOT:

    • Tow with only 2 wheels down
    • Drive without 1 propeller shaft
    • Drive with a donut spare for an extended period of time
    • Operate the vehicle on a hoist to diagnosis the driveline components

Power Flow - No Wheels Slip


Object Number: 1561108  Size: LF

During normal operation, torque is delivered from the transmission (1) to the input shaft. The torque is split 67 percent to the rear propeller shaft (2) and 33 percent to the front propeller shaft (3), by the front/rear drive differential carrier assembly. Because there is not a loss in traction or slip in the front or rear wheels, the torque bias remains constant.

Power Flow - Front Wheels Slip


Object Number: 1606014  Size: LF

When traction is lost at the front wheels, the front/rear drive differential carrier assembly biases the torque more to the rear wheels. The rear torque goes higher than 67 percent, and increases as high as 75 percent to the rear propeller shaft (2). The torque at the front output shaft (3) is lowered from 33 percent, to as low as 25 percent.

Power Flow - Rear Wheels Slip


Object Number: 1606012  Size: LF

When traction is lost at the rear wheels, the front/rear drive differential carrier assembly biases the torque more to the front wheels. The front torque goes higher than 33 percent, and increases as high as 45 percent to the front propeller shaft (3). The torque at the rear output shaft (2) is lowered from 67 percent, to as low as 55 percent.