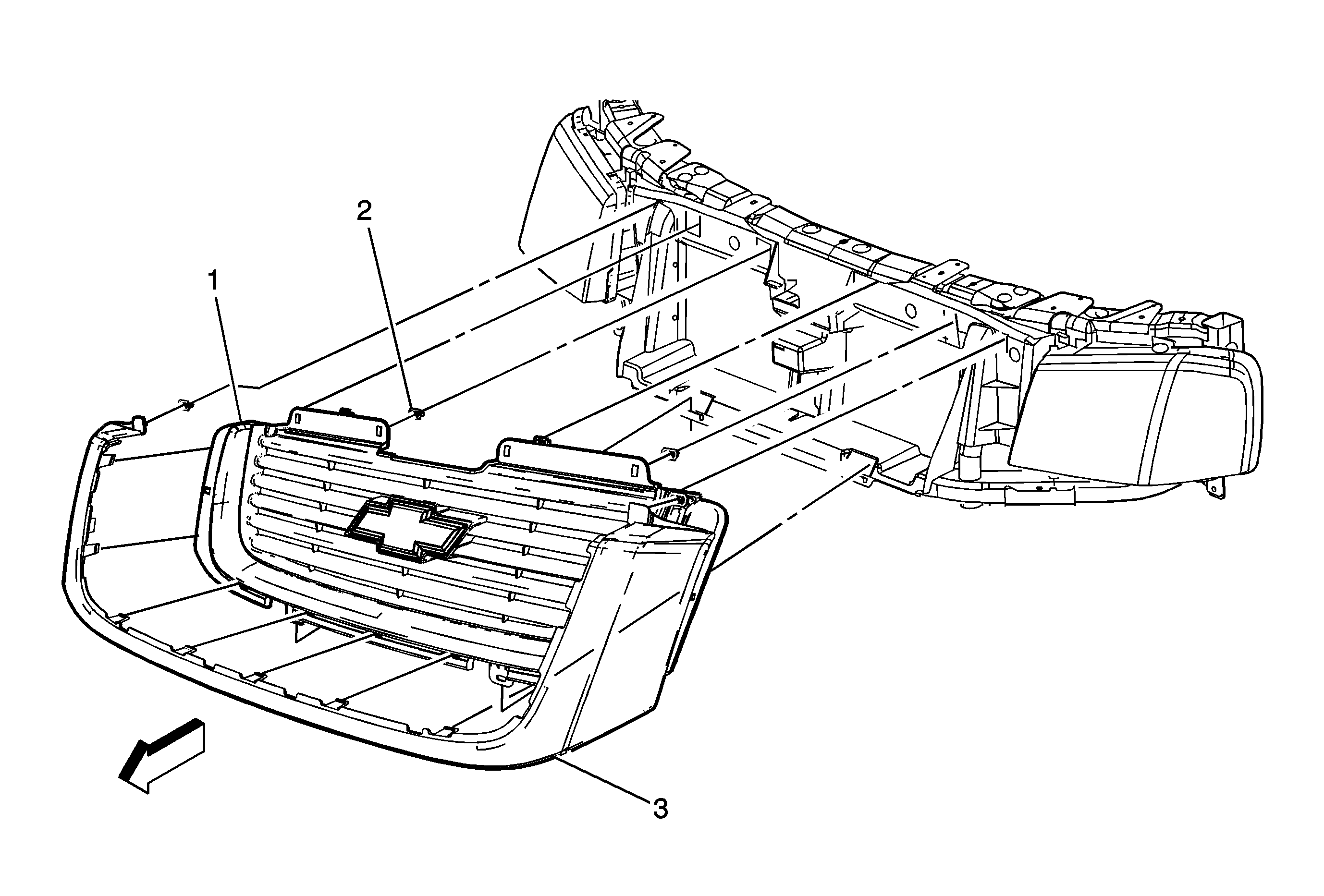
Callout
| Component Name
|
Preliminary Procedure
- The TrailBlazer outer grille assembly is a paint to match replacement part. Prior to servicing the outer grille assembly, refer to the following information:
- Open and support the hood in order to access and release the grille retention clips from the headlamp housing panel.
|
1
| Inner Grille Assembly
Tip Carefully release the retention clips and pull the grille assembly forward then upward in order to release from the headlamp panel assembly. |
2
| Retention Clip (Qty: 6)
Tip Replace any clip that is damaged or broken upon removal of the grille assembly. |
3
| Outer Grille Assembly
Tip Install the new outer grille on the old inner grille assembly. |