GM Service Manual Online
For 1990-2009 cars only
Makes
🢒
Chevrolet
🢒
2004
🢒
TrailBlazer - 4WD
🢒 Rear Mode Controls - Short Wheel Base
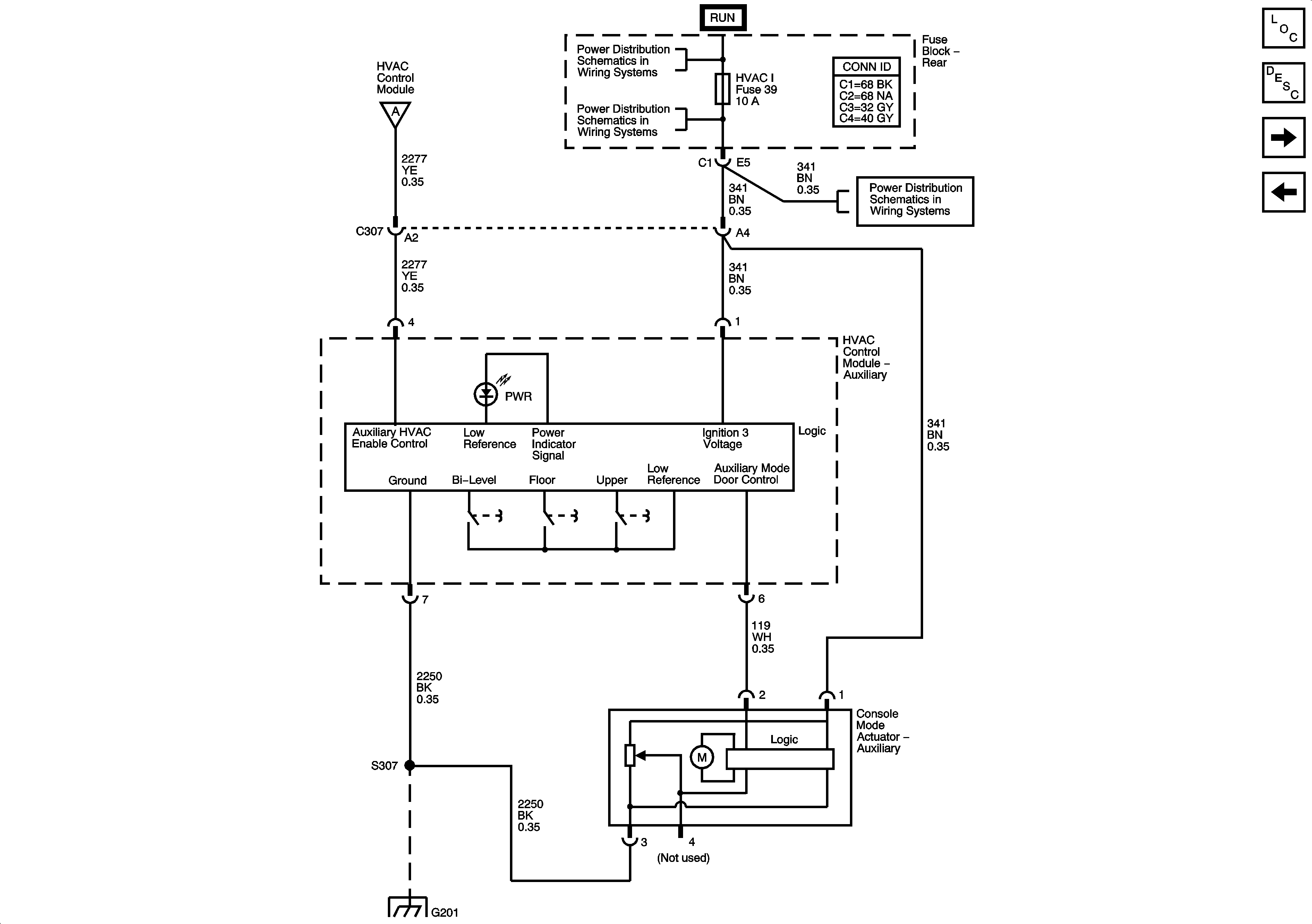
Rear Mode Controls - Short Wheel Base
Rear Mode Controls - Short Wheel Base
Master Electrical Component List
Air Delivery Description and Operation
Rear Mode Controls - Long Wheel Base
Air Delivery/Temperature Actuators
ACCY/RUN/START, RUN, and START Bus Bars
Module Power, Ground, Serial Data, Blower Motor, and Coolant Bypass Valve
HVAC I, BRAKE, and TBC RUN Fuses
HVAC I, BRAKE, and TBC RUN Fuses
G201 - 1 of 2