GM Service Manual Online
For 1990-2009 cars only

Removal Procedure

Important:  An 8-digit identification number is located on the fuel rail. Refer to this model identification number if servicing or part replacement is required.

  1. Remove the air cleaner outlet duct. Refer to Air Cleaner Resonator Outlet Duct Replacement .
  2. Relieve the fuel system pressure. Refer to Fuel Pressure Relief .

  3. Object Number: 1485981  Size: SH
  4. Remove the positive crankcase ventilation (PCV) foul air hose.

  5. Object Number: 898468  Size: SH
  6. Disconnect the air conditioning (A/C) compressor pressure switch electrical connector (2).
  7. Remove the wire harness from the clip (1) on the cylinder head.

  8. Object Number: 1204792  Size: SH
  9. Disconnect the mass air flow (MAF)/intake air temperature (IAT) sensor electrical connector (1).

  10. Object Number: 898329  Size: SH
  11. Disconnect the generator electrical connector.

  12. Object Number: 898331  Size: SH
  13. Disconnect the following electrical connectors on the right hand side of the engine:
  14. • Coil main electrical harness (1)
    • Electronic throttle control (ETC) (2)
    • Fuel injectors (3)

    Object Number: 1209783  Size: SH
  15. Perform the following steps in order to disconnect the fuel injector electrical connectors.
  16. 9.1. Mark the connectors to their corresponding injectors to ensure correct reassembly.
    9.2. Pull the connector position assurance (CPA) retainer (2) on the connector up 1 click.
    9.3. Push the tab (1) on the connector in.
    9.4. Disconnect the fuel injector electrical connector.
    9.5. Repeat the steps for each injector electrical connector.
  17. Remove the electrical harness from the clips on ignition coil bracket.

  18. Object Number: 898326  Size: SH
  19. Disconnect the following electrical connectors on the left hand side of the engine:
  20. • The evaporative emission (EVAP) purge solenoid (1)
    • The knock sensor (2)
    • The manifold absolute pressure (MAP) sensor (3)
    • The main coil (5)
    • The fuel injectors (4)
  21. Remove the electrical harness from the clips on ignition coil bracket.

  22. Object Number: 899740  Size: SH
  23. Remove the upper engine wire harness retainer nut (1).
  24. Reposition the upper engine wire harness aside.

  25. Object Number: 1485984  Size: SH
  26. Disconnect the fuel feed pipe (1) from the fuel rail. Refer to Metal Collar Quick Connect Fitting Service .
  27. Remove the EVAP canister purge solenoid from the fuel rail. Refer to Evaporative Emission Canister Purge Solenoid Valve Replacement .

  28. Object Number: 1485986  Size: SH
  29. Remove the fuel rail bolts (2 and 3).
  30. Loosen but do not remove the fuel rail crossover pipe retainer clip screws.
  31. Notice: 

       • Remove the fuel rail assembly carefully in order to prevent damage to the injector electrical connector terminals and the injector spray tips. Support the fuel rail after the fuel rail is removed in order to avoid damaging the fuel rail components.
       • Cap the fittings and plug the holes when servicing the fuel system in order to prevent dirt and other contaminants from entering open pipes and passages.

    Important: Before removal, clean the fuel rail with a spray type engine cleaner, GM X-30A or equivalent, if necessary. Follow the package instructions. Do not soak the fuel rail in liquid cleaning solvent.

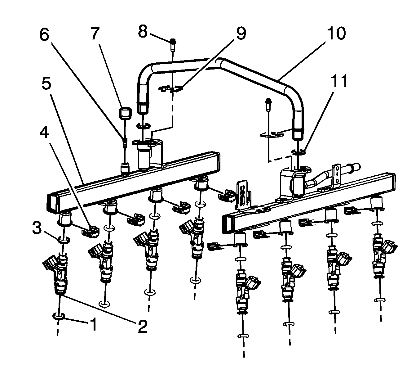
  32. Remove the fuel rail assembly (1).
  33. Remove the fuel injector lower O-ring seal (4) from each injector, if necessary.
  34. Discard the O-ring seals.
  35. If the fuel rail is not being replaced, go to the Installation Procedure.

Disassembly Procedure


    Object Number: 1485987  Size: SH
  1. Remove the fuel injectors (2) from the fuel rail (5). Refer to Fuel Injector Replacement .
  2. Remove the fuel rail crossover pipe retaining clip screws (8) and retainer clips (9).
  3. Remove the fuel rail crossover pipe (10) from the left and right hand fuel rails.
  4. Remove and discard the fuel rail crossover pipe O-rings (11).
  5. Remove the service port cap (7) and valve (6) from the fuel rail (5).

Assembly Procedure


    Object Number: 1485987  Size: SH
  1. Install the service port cap (7) and valve (6) to the fuel rail (5).
  2. Lubricate the NEW fuel rail crossover pipe O-rings (11) with clean engine oil.
  3. Install the NEW fuel rail crossover pipe O-rings (11) onto the crossover pipe (10).
  4. Install the fuel rail crossover pipe (10) to the left and right hand fuel rails.
  5. Install the fuel rail crossover fuel pipe retainer clips (9).
  6. Important: When installing the retaining clip screws for the fuel rail crossover pipe, always start the screws by hand. This will prevent stripping of the threads on the fuel rail.

  7. Install the fuel rail retainer clip screws (8) but do not tighten at this time.
  8. Install the fuel injectors (2) to the fuel rail (5). Refer to Fuel Injector Replacement .

Installation Procedure


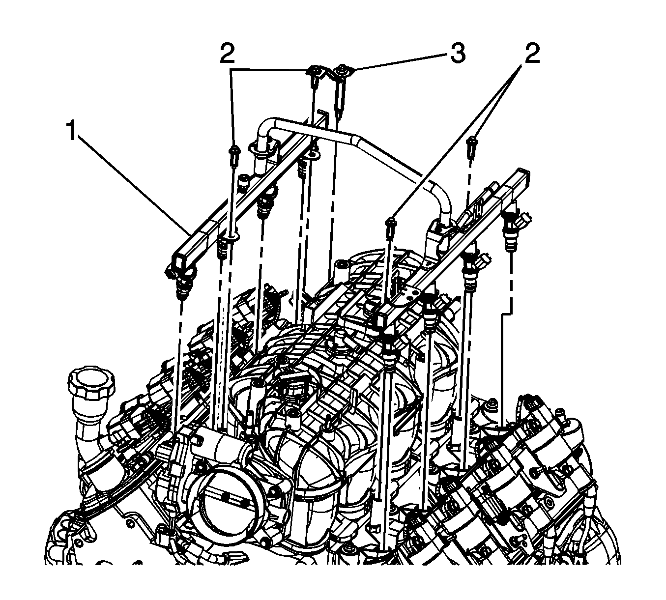
Object Number: 260098  Size: SH

Caution: The fuel rail stop bracket must be installed onto the engine assembly. The stop bracket serves as a protective shield for the fuel rail in the event of a vehicle frontal crash. If the fuel rail stop bracket is not installed and the vehicle is involved in a frontal crash, fuel could be sprayed possibly causing a fire and personal injury from burns.


    Object Number: 1485988  Size: SH
  1. Lubricate the NEW lower injector O-ring seals with clean engine oil.
  2. Install the NEW O-ring seals onto each injector.

  3. Object Number: 1485986  Size: SH
  4. Install the fuel rail (1).
  5. Notice: Refer to Fastener Notice in the Preface section.

  6. Apply a 5 mm (0.2 in) band of threadlock GM P/N 12345382 (Canadian P/N 10953489) or equivalent, to the threads of the fuel rail bolts (2 and 3).
  7. Install the fuel rail bolts (2 and 3).
  8. Tighten
    Tighten the bolts to 10 N·m (89 lb in).

  9. Tighten the fuel rail retainer clip screws.
  10. Tighten
    Tighten the screws to 3.8 N·m (34 lb in).


    Object Number: 1485984  Size: SH
  11. Connect the fuel feed pipe (1) to the fuel rail. Refer to Metal Collar Quick Connect Fitting Service .

  12. Object Number: 899740  Size: SH
  13. Position the upper engine wire harness over the engine.
  14. Install the upper engine wire harness retainer nut (1).
  15. Tighten
    Tighten the nut to 5 N·m (44 lb in).


    Object Number: 898326  Size: SH
  16. Connect the following electrical connectors on the left hand side of the engine:
  17. • The EVAP purge solenoid (1)
    • The knock sensor (2)
    • The MAP sensor (3)
    • The main coil (5)
    • The fuel injectors (4)

    Object Number: 1209783  Size: SH
  18. Perform the following steps in order to connect the fuel injector electrical connectors.
  19. 11.1. Install the connectors to their corresponding injectors to ensure correct reassembly.
    11.2. Connect the fuel injector electrical connector.
    11.3. Push the CPA retainer (2) on the connector in 1 click.
    11.4. Repeat the steps for each injector electrical connector.
  20. Install the electrical harness to the clips on ignition coil bracket.

  21. Object Number: 898331  Size: SH
  22. Connect the following electrical connectors on the right hand side of the engine:
  23. • The coil main electrical harness (1)
    • The ETC (2)
    • The fuel injectors (3)
  24. Install the electrical harness to the clips on ignition coil bracket.

  25. Object Number: 898329  Size: SH
  26. Connect the generator electrical connector.

  27. Object Number: 1204792  Size: SH
  28. Connect the MAF/IAT sensor electrical connector (1).

  29. Object Number: 898468  Size: SH
  30. Install the wire harness to the clip (1) on the cylinder head.
  31. Connect the A/C compressor pressure switch electrical connector (2).

  32. Object Number: 1485981  Size: SH
  33. Install the PCV foul air hose.
  34. Install the air cleaner outlet duct. Refer to Air Cleaner Resonator Outlet Duct Replacement .
  35. Install the fuel fill cap.
  36. Connect the negative battery cable. Refer to Battery Negative Cable Disconnection and Connection .
  37. Use the following procedure in order to inspect for leaks:
  38. 23.1. Turn the ignition ON, with the engine OFF, for 2 seconds.
    23.2. Turn the ignition OFF for 10 seconds.
    23.3. Turn the ignition ON, with the engine OFF.
    23.4. Inspect for fuel leaks.