GM Service Manual Online
For 1990-2009 cars only
Connector 1: Engine Control Module (ECM) C1
Connector 2: Engine Control Module (ECM) C2
Connector 3: Engine Control Module (ECM) C3

Engine Control Module (ECM) C1


Object Number: 1228485  Size: CH

Connector Part Information

  • OEM: 15491996
  • Service: 88953346
  • Description: 37-Way F Micro-Pack 64 Series Sealed (BU)

Terminal Part Information

  • Pins: 1, 2, 4, 7, 8, 10, 13, 14, 15, 16, 17, 18, 19, 20, 21, 22, 23, 24, 26, 27, 29, 30, 31, 32, 33, 35, 36, 37, 41, 45, 46, 48, 49, 51, 52, 54, 55
  • Terminal/Tray: 15359541/4
  • Core/Insulation Crimp: M/M
  • Release Tool/Test Probe: 15381651-2/J-35616-64B (L-BU)

Engine Control Module (ECM) C1

Pin

Wire Color

Circuit No.

Function

1

TN/WH

2500

High Speed GMLAN Serial Data Bus (+)

2

TN

2501

High Speed GMLAN Serial Data Bus (-)

3

--

--

Not Available

4

BN/WH

419

MIL Control

5-6

--

--

Not Available

7

BN

1271

Low Reference

8

PU

1272

Low Reference

9

--

--

Not Available

10

YE

5991

Powertrain Relay Coil Control

11-12

--

--

Not Available

13

YE/BK

625

Starter Enable Relay Control

14

PK

839

Ignition 1 Voltage

15

YE

710

Class 2 Serial Data

16

D-GN

1049

Class 2 Serial Data

17

GY

397

Cruise Control On Switch Signal (K34)

18

PK

1020

Ignition 0 Voltage

19

PK

439

Ignition 1 Voltage

20

OG

240

Battery Positive Voltage

21

D-GN/WH

817

Vehicle Speed Signal

22

D-BU

1161

APP Sensor 1 Signal

23

D-BU

2364

Cooling Fan Speed Signal

24

D-GN

890

Fuel Tank Pressure Sensor Signal

25

--

--

Not Available

26

RD/BK

380

A/C Refrigerant Pressure Sensor Signal

27

D-BU

84

Cruise Control Set/Coast Switch Signal (K34)

28

--

--

Not Available

29

TN

1274

5-Volt Reference

30

GY

2700

5-Volt Reference

31

GY

2709

5-Volt Reference

32

L-BU

1320

CHMSL Supply Voltage (K34)

33

GY/BK

87

Cruise Control Resume/Accel Switch Signal (K34)

34

--

--

Not Available

35

WH/BK

1164

5-Volt Reference

36

WH/BK

2366

Cooling Fan Clutch Control

37

PU

1589

Fuel Level Sensor Signal

38-40

--

--

Not Available

41

L-BU

1162

APP Sensor 2 Signal

42-44

--

--

Not Available

45

D-GN/WH

465

Fuel Pump Relay Control

46

PU

420

TCC Brake Switch/Cruise Control Release Signal

47

--

--

Not Available

48

WH

121

Engine Speed Signal

49

YE/BK

1827

Vehicle Speed Signal

50

--

--

Not Available

51

OG/BK

1786

Ignition Lock Cylinder Control Actuator Signal

52

PU

806

Crank Voltage

53

--

--

Not Available

54

WH

1310

EVAP Canister Vent Solenoid Control

55

BK

2751

Low Reference

56

--

--

Not Available

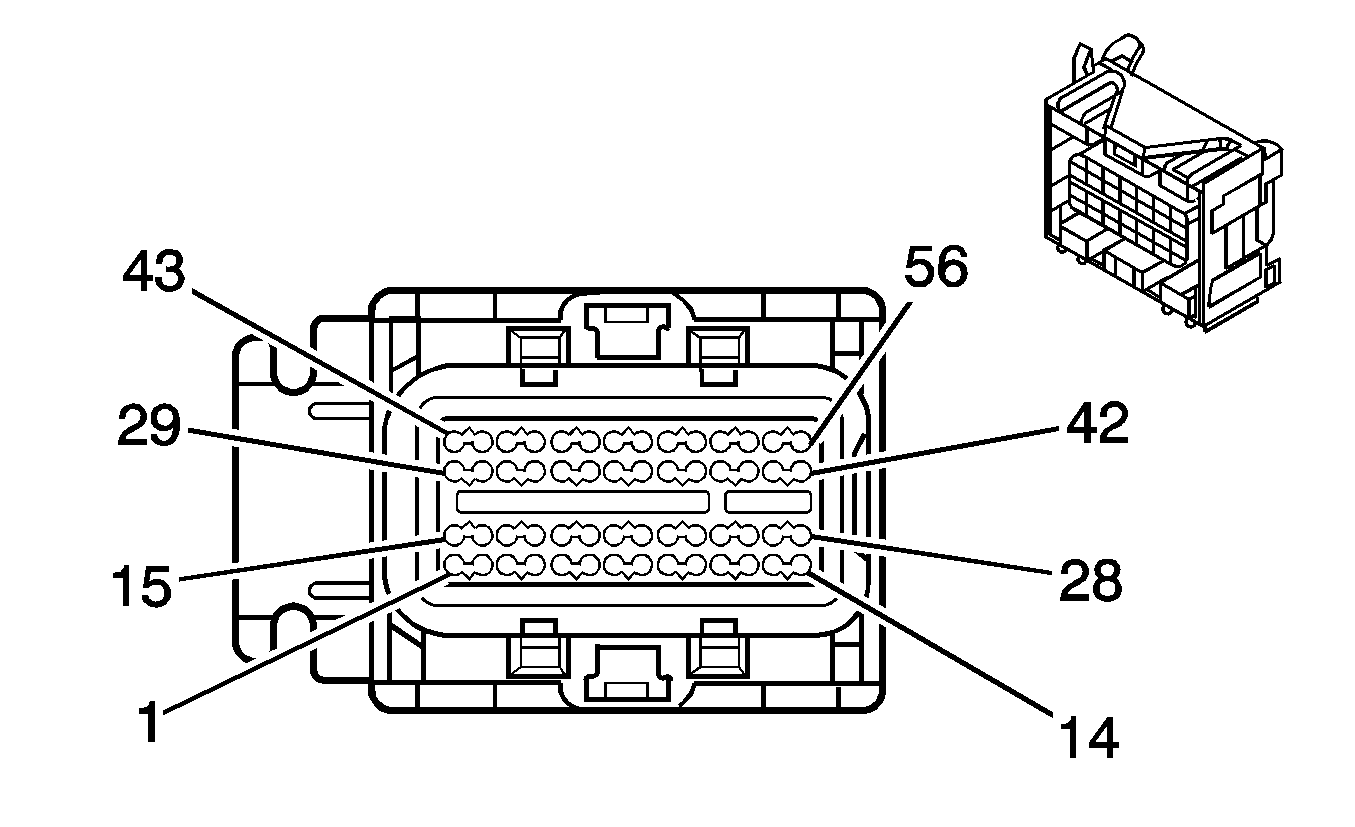
Engine Control Module (ECM) C2


Object Number: 1335545  Size: CH

Connector Part Information

  • OEM: 15481009
  • Service: 88953274
  • Description: 56-Way F GT 280 Micro 64 Series Sealed (BK)

Terminal Part Information

  • Pins: 1, 2, 4, 5, 6, 7, 8, 9, 10, 13, 14, 15, 16, 20, 21, 24, 26, 29, 31, 35, 36, 37, 41, 43, 44, 45, 46, 48, 49, 50, 51, 52, 53, 54, 55, 56, 57, 58, 59, 60, 61, 62, 63, 64, 65, 66, 68, 69, 70, 71, 72
  • Terminal/Tray: 15359541/4
  • Core/Insulation Crimp: M/M
  • Release Tool/Test Probe: 15381651-2/J-35616-64B (L-BU)
  • Pins: 73
  • Terminal/Tray: 15304720/19
  • Core/Insulation Crimp: 4/5
  • Release Tool/Test Probe: 15315247/J-35616-4A (PU)

Engine Control Module (ECM) C2

Pin

Wire Color

Circuit No.

Function

1

L-GN

3212

HO2S Heater Low Control - Bank 2 Sensor 1

2

BK/WH

3113

HO2S Heater Low Control - Bank 1 Sensor 1

3

--

--

Not Available

4

D-BU/WH

878

Fuel Injector 8 Control

5

BK

1744

Fuel Injector 1 Control

6

L-GN/BK

1745

Fuel Injector 2 Control

7

RD/BK

877

Fuel Injector 7 Control

8

L-BU/BK

844

Fuel Injector 4 Control

9

PK/BK

1746

Fuel Injector 3 Control

10

BK/WH

845

Fuel Injector 5 Control

11-12

--

--

Not Available

13

YE/BK

846

Fuel Injector 6 Control

14

YE/BK

1868

Low Reference

15

PK/BK

632

Low Reference

16

BN

2129

Low Reference

17-18

--

--

Not Used

19

--

--

Not Available

20

OG/BK

469

Low Reference

21

BK

2755

Low Reference

22-23

--

--

Not Available

24

TN/WH

332

Oil Pressure Sensor Signal

25

--

--

Not Available

26

BN/WH

633

CMP Sensor Signal

27-28

--

--

Not Available

29

PU

486

TP Sensor 2 Signal

30

--

--

Not Available

31

D-GN

485

TP Sensor 1 Signal

32

--

--

Not Available

33-34

--

--

Not Used

35

GY

2704

5-Volt Reference

36

BK/WH

1704

Low Reference

37

GY

2705

5-Volt Reference

38-40

--

--

Not Available

41

L-BU/BK

1688

5-Volt Reference

42

--

--

Not Available

43

L-GN

1867

12-Volt Reference

44

RD

631

12-Volt Reference

45

GY

23

Generator Field Duty Cycle Signal

46

L-GN

432

MAP Sensor Signal

47

--

--

Not Available

48

PU/WH

1665

HO2S High Signal - Bank 1 Sensor 1

49

TN

1664

HO2S Low Signal - Bank 1 Sensor 1

50

D-GN/WH

428

EVAP Canister Purge Solenoid Control

51

PU

1666

HO2S High Signal - Bank 2 Sensor 1

52

BK

2761

Low Reference

53

RD

2127

IC 7 Control

54

PU

2121

IC 1 Control

55

YE

410

ECT Sensor Signal

56

RD

225

Generator Turn On Signal

57

L-BU/WH

2126

IC 6 Control

58

D-GN/WH

2124

IC 4 Control

59

D-GN

2125

IC 5 Control

60

BN

582

TAC Motor Control - 2

61

L-BU

2123

IC 3 Control

62

D-BU/WH

1869

CKP Sensor Signal

63

YE

581

TAC Motor Control - 1

64

BN/WH

2130

Low Reference

65

PU/WH

2128

IC 8 Control

66

RD/WH

2122

IC 2 Control

67

--

--

Not Available

68

D-BU

496

KS 1 Signal

69

GY

1716

KS 1 Signal

70

TN

1667

HO2S Low Signal - Bank 2 Sensor 1

71

GY

2303

KS 2 Signal

72

L-BU

1876

KS 2 Signal

73

BK

450

Ground

Engine Control Module (ECM) C3


Object Number: 1283894  Size: CH

Connector Part Information

  • OEM: 15481007
  • Service: 88953347
  • Description: 20-Way F Micro-Pack 64 Series Sealed (GY)

Terminal Part Information

  • Pins: 2, 3, 11, 18, 19, 20, 21, 24, 29, 33, 34, 35, 38, 45, 47, 49, 51
  • Terminal/Tray: 15359541/4
  • Core/Insulation Crimp: M/M
  • Release Tool/Test Probe: 15381651-2/J-35616-64B (L-BU)

Engine Control Module (ECM) C3

Pin

Wire Color

Circuit No.

Function

1

--

--

Not Available

2

BN

2391

HO2S Heater Low Control - Bank 1 Sensor 2

3

RD/WH

3223

HO2S Heater Low Control - Bank 2 Sensor 2

4-5

--

--

Not Available

6

--

--

Not Used

7-10

--

--

Not Available

11

YE

492

MAF Sensor Signal

12-14

--

--

Not Available

15

--

--

Not Used

16-17

--

--

Not Available

18

TN/WH

1669

HO2S Low Signal - Bank 1 Sensor 2

19

PU/WH

1668

HO2S High Signal - Bank 1 Sensor 2

20

PU

1670

HO2S High Signal - Bank 2 Sensor 2

21

TN

1671

HO2S Low Signal - Bank 2 Sensor 2

22-23

--

--

Not Available

24

BK

2760

Low Reference

25-28

--

--

Not Available

29

GY/BK

1694

4WD Low Signal

30-32

--

--

Not Available

33

GY

2365

Low Reference

34

TN

472

IAT Sensor Signal

35

GY

597

5-Volt Reference

36

--

--

Not Used

37

--

--

Not Available

38

TN/BK

464

Delivered Torque Signal

39-44

--

--

Not Available

45

YE

400

Signal High - Front

46

--

--

Not Available

47

OG/BK

463

Requested Torque Signal

48

--

--

Not Available

49

BK

2759

Low Reference

50

--

--

Not Available

51

D-GN/WH

459

A/C Compressor Clutch Relay Control

52-56

--

--

Not Available