GM Service Manual Online
For 1990-2009 cars only
Connector 1: Body Control Module (BCM) C1
Connector 2: Body Control Module (BCM) C2
Connector 3: Body Control Module (BCM) C3
Connector 4: Data Link Connector (DLC)

Body Control Module (BCM) C1


Object Number: 73156  Size: CH

Connector Part Information

  • OEM: 12110088
  • Service: 15306210
  • Description: 24-Way F Micro-Pack 100 Series (GY)

Terminal Part Information

  • Pins: A2, A3, A4, A5, A6, A12, B1, B2, B3, B4, B5, B6, B7, B8, B9, B10, B11, B12
  • Terminal/Tray: 12146447/3
  • Core/Insulation Crimp: E/C
  • Release Tool/Test Probe: 12031876-1/J-35616-6 (BN)

Body Control Module (BCM) C1

Pin

Wire Color

Circuit No.

Function

A1

--

--

Not Used

A2

WH

2282

Headlamp Washer Relay Control (CE4)

A3

OG

1140

Battery Positive Voltage

A4

BK/WH

1969

Headlamp High Beam Relay Control

A5

PK/WH

1970

Headlamp Low Beam Relay Control

A6

PK

5363

Inclination Sensor Low Reference (BAE)

A7-A11

--

--

Not Used

A12

WH

278

Ambient Light Sensor Signal

B1

L-GN

1037

Class 2 Serial Data

B2

BK

279

Ambient Light Sensor Low Reference

B3

L-GN

2270

Rear Window Washer Relay Control

B4

GY/BK

2226

Instrument Panel Lamps Dimmer Switch Low Reference

B5

GY

705

5-Volt Reference

B6

WH

2283

12-Volt Reference

B7

OG/BK

2090

Courtesy Lamps Supply Voltage

B8

L-GN

1011

Remote Radio Control Signal (STW)

B9

GY

391

Rear Window Wiper Switch Signal

B10

YE

1836

Security System Sensor Signal

B11

GY

2521

Right Sunload Sensor Signal (CJ2)

B12

L-BU/BK

2519

Left Sunload Sensor Signal (CJ2)

Body Control Module (BCM) C2


Object Number: 646417  Size: CH

Connector Part Information

  • OEM: 12110112
  • Service: 12110112
  • Description: 32-Way F Micro-Pack 100 Series (TN)

Terminal Part Information

  • Pins: E3, E4, E5, E6, E7, E8, E9, E11, E12, E14, F3, F4, F5, F6, F7, F8, F9, F10, F11, F13
  • Terminal/Tray: 12146447/3
  • Core/Insulation Crimp: E/C
  • Release Tool/Test Probe: 12031876-1/J-35616-6 (BN)

Body Control Module (BCM) C2

Pin

Wire Color

Circuit No.

Function

E1-E2

--

--

Not Used

E3

L-GN

80

Key In Ignition Switch Signal

E4

YE

307

Headlamp Switch Flash to Pass Signal

E5

GY/BK

308

Park Lamp Switch On Signal

E6

PK/BK

109

Hood Ajar Switch Signal (UA2)

E7

PK

1348

Headlamp On Indicator Control

E8

BK

1835

Security System Sensor Low Reference

E9

RD/WH

812

12-Volt Reference

E10

--

--

Not Used

E11

D-GN/WH

1317

Fog Lamp Relay and Indicator Control (T96)

E12

BK

28

Horn Relay Control

E13

--

--

Not Used

E14

TN

5463

Daytime Running Lamp Override Indicator

E15-E16

--

--

Not Used

F1-F2

--

--

Not Used

F3

D-GN

113

Windshield Wiper Switch Signal 2

F4

D-BU/WH

1495

Courtesy Lamps On Signal

F5

BN/WH

1871

Headlamp Washer Switch Signal (CE4)

F6

OG

192

Front Fog Lamps Switch Signal (T96)

F7

L-BU

187

Rear Fog Lamps Switch Signal (T79)

F8

L-GN

5462

DRL Defeat Switch Signal

F9

WH

103

Headlamp Switch Headlamps On Signal

F10

L-GN

11

Headlamp High Beam Supply Voltage

F11

PU

328

Interior Lamp Defeat Switch Signal

F12

--

--

Not Used

F13

PK

5068

Intrusion Sensor Switch Disable Signal (BAE)

F14-F16

--

--

Not Used

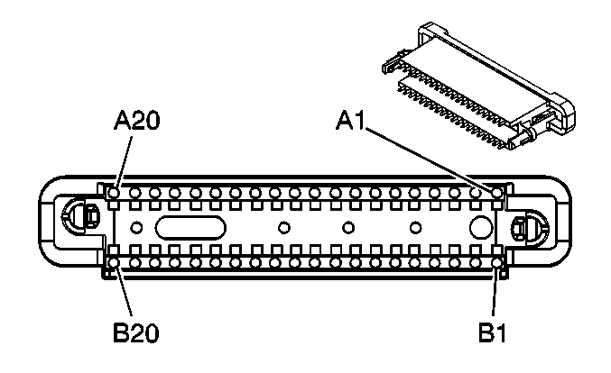
Body Control Module (BCM) C3


Object Number: 697009  Size: CH

Connector Part Information

  • OEM: 15354796
  • Service: See Catalog
  • Description: 40-Way F Printed Circuit Flexible (GY)

Terminal Part Information

  • Pins: A1, A2, A3, A4, A5, A6, A8, A11, A12, A13, A14, A15, A16, A18, A19, A20, B1, B2, B3, B4, B5, B6, B7, B8, B9, B11, B12, B13, B14, B15, B17, B18, B19, B20
  • Terminal/Tray: See Terminal Repair Kit
  • Core/Insulation Crimp: See Terminal Repair Kit
  • Release Tool/Test Probe: See Terminal Repair Kit

Body Control Module (BCM) C3

Pin

Wire Color

Circuit No.

Function

A1

--

2140

Battery Positive Voltage

A2

--

2140

Battery Positive Voltage

A3

--

748

Right Rear Door Ajar Switch Signal

A4

--

1134

Park Brake Switch Signal

A5

--

195

Door Lock Control

A6

--

2265

Power Window Lockout Left Rear Control

A7

--

--

Not Used

A8

--

747

Left Rear Door Ajar Switch Signal

A9- A10

--

--

Not Used

A11

--

1350

Ground

A12

--

1353

RAP Supply Voltage

A13

--

194

Door Unlock Control

A14

--

1080

Park Lamp Relay Control

A15

--

5168

Power Sounder Enable Signal (BAE)

A16

--

5204

Intrusion Sensor Data Signal (BAE)

A17

--

--

Not Used

A18

--

992

Ignition 0 Voltage

A19

--

39

Ignition 1 Voltage

A20

--

541

Ignition 3 Voltage

B1

--

230

Instrument Panel Lamps Dimming Control

B2

--

230

Instrument Panel Lamps Dimming Control

B3

--

690

Courtesy Lamp Supply Voltage

B4

--

2240

Battery Positive Voltage

B5

--

1186

Power Window Switch Right Rear Up Signal

B6

--

2266

Power Window Lockout Right Rear Control

B7

--

1188

Power Window Switch Right Rear Down Signal

B8

--

1185

Power Window Switch Left Rear Up Signal

B9

--

1187

Power Window Switch Left Rear Down Signal

B10

--

--

Not Used

B11

--

1350

Ground

B12

--

24

Backup Lamp Supply Voltage

B13

--

4440

Battery Positive Voltage

B14

--

1382

LED Dimming Signal

B15

--

543

Accessory Voltage

B16

--

--

Not Used

B17

--

4040

Battery Positive Voltage

B18

--

1732

Courtesy Lamps Supply Voltage

B19

--

1977

Rear Fog Lamp Relay and Indicator Control

B20

--

5362

Incline Sensor Signal (BAE)

Data Link Connector (DLC)


Object Number: 68793  Size: CH

Connector Part Information

  • OEM: 12110250
  • Service: 12110250
  • Description: 16-Way F Metri-Pack 150 Series (BK)

Terminal Part Information

  • Pins: 2, 5, 6, 14
  • Terminal/Tray: 12129484/19
  • Core/Insulation Crimp: E/C
  • Release Tool/Test Probe: 12094429/J-35616-2A (GY)
  • Pins: 4, 16
  • Terminal/Tray: 12129484/19
  • Core/Insulation Crimp: E/A
  • Release Tool/Test Probe: 12094429/J-35616-2A (GY)

Data Link Connector (DLC)

Pin

Wire Color

Circuit No.

Function

1

--

--

Not Used

2

PU

1132

DLC Class 2 Serial Data

3

--

--

Not Used

4

BK

2250

Ground

5

BK/WH

751

Ground

6

D-BU

6105

High Speed GMLAN Serial Data (+)

7-13

--

--

Not Used

14

L-BU

6106

High Speed GMLAN Serial Data (-)

15

--

--

Not Used

16

OG

640

Battery Positive Voltage