GM Service Manual Online
For 1990-2009 cars only

Model and RPO Codes

D CURB

J CURB

K CURB

Z CURB

Long Wheel Chevrolet Cargo Van (Cargo Van = RPO Code Z10)

166-186 mm (6.54-7.32 in)

240-260 mm (9.45-10.24 in)

279-299 mm (10.98-11.77 in)

58-78 mm (2.28-3.07 in)

All Other Long Wheel Base Vans

139-159 mm (5.47-6.26 in)

234-254 mm (9.21-10.00 in)

255-275 mm (10.03-10.83 in)

58-78 mm (2.28-3.07 in)

Short Wheel Base Vans with P205/70R15 Tires

133-153 mm (5.24-6.02 in)

228-248 mm (8.98-9.76 in)

249-269 mm (9.80-10.59 in)

58-78 mm (2.28-3.07 in)

Short Wheel Base Vans with P215/70R15 Tires

133-153 mm (5.24-6.02 in)

235-255 mm (9.25-10.04 in)

256-276 mm (10.08-10.87 in)

58-78 mm (2.28-3.07 in)

Figure 1:

J and K Trim Height Measurements


Object Number: 194798  Size: MF
(1)Ground Line
(1)Ground Line
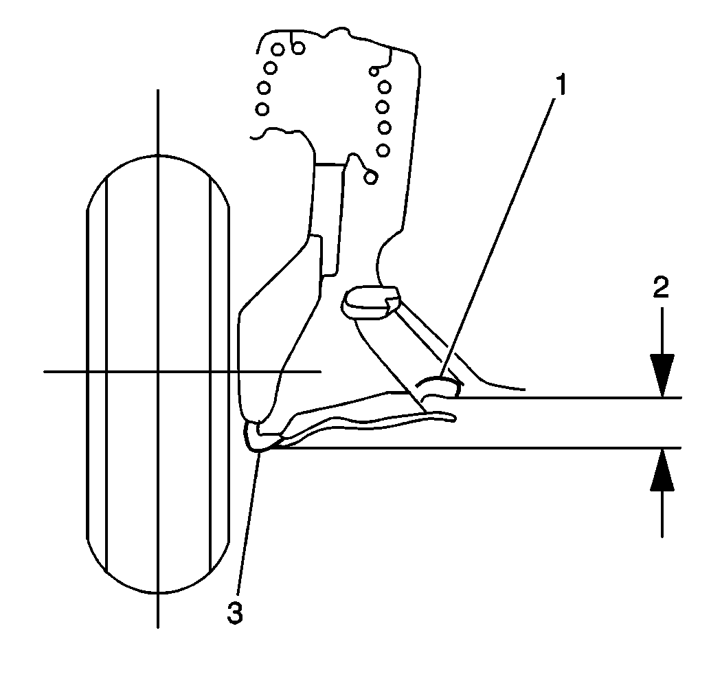
Figure 2:

Z Front Suspension Trim Height Measurements


Object Number: 194709  Size: SH
(1)Center Bolt (Rear Bushing)
(2)Z Height
(3)Lowest Point on Ball Stud