GM Service Manual Online
For 1990-2009 cars only
Figure 1:

Front, LH Side of Engine Compartment


Object Number: 447365  Size: LF
(1)LH Strut Tower
(2)Engine Harness
(3)A/C Refrigerant Pressure Sensor
Figure 2:

Behind Rear Left Wheelhouse


Object Number: 1553432  Size: MF
(1)Auxiliary Blower Motor Resistor Connector
(2)Auxiliary Blower Motor Connector
(3)Body Harness
(4)Auxiliary Temperature Valve Actuator
Figure 3:

Center of IP


Object Number: 590170  Size: MF
(1)Heater-A/C Vacuum Hose
(2)Heater-A/C Control
(3)Heater-A/C Control Connector C1 (Blower Motor Switch)
(4)Heater-A/C Control Connector C2 (Compressor, Air Delivery Control, and Rear Defogger)
(5)I/P Harness
(6)Center of I/P
Figure 4:

RH Side of IP


Object Number: 447167  Size: LF
(1)Electric Slave Actuator
(2)I/P Harness
(3)Connector to Electric Air Inlet Actuator
(4)Pass Through P100
(5)Blower Motor Resistor
(6)Blower Motor
Figure 5:

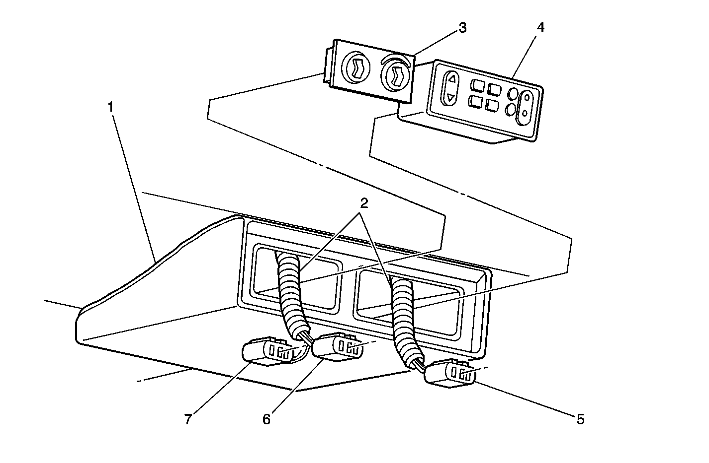
LH Rear Armrest, Auxiliary Heater-AC Control (4 Door)


Object Number: 590171  Size: MF
(1)Auxiliary Heater-A/C Control Connector C1 (Temperature Control)
(2)Auxiliary Heater-A/C Control (4 Door)
(3)Radio Rear Seat Audio Control
(4)Auxiliary Heater-A/C Control Connector C2 (Auxiliary Blower Switch)
Figure 6:

Roof Rear Console, Roof Headliner Behind Driver's Seat (5-Door)


Object Number: 590173  Size: MF
(1)Roof Rear Console
(2)Body Harness
(3)Auxiliary Heater-A/C Control (5 Door)
(4)Radio Rear Seat Audio Control (5 Door)
(5)Connector to Radio Rear Seat Audio Control
(6)Auxiliary Heater-A/C Control Connector C1 (Temperature Control)
(7)Auxiliary Heater-A/C Control Connector C2 (Auxiliary Blower Switch)
Figure 7:

Roof Rear Overhead Console (U42)


Object Number: 416782  Size: LF
(1)Auxiliary Heater-A/C Control
(2)Auxiliary Video Module (AVM)
(3)Video Screen
(4)Second Seat Audio (SSA) Control
(5)Radio Rear Seat Audio Control
Figure 8:

Under the Front Bumper


Object Number: 590176  Size: MF
(1)Ambient Air Temperature Sensor/ Auxiliary Coolant Pump Switch
(2)Forward Lamp Harness
Figure 9:

Lower Right Front of the Engine


Object Number: 590180  Size: MF
(1)Engine Wiring Harness
(2)A/C Compressor Clutch Coil Connector
(3)A/C Compressor
(4)Engine
(5)Engine Oil Filter
Figure 10:

Auxiliary Coolant Bypass Pump


Object Number: 795125  Size: LF
(1)Auxiliary Coolant Bypass Pump