GM Service Manual Online
For 1990-2009 cars only

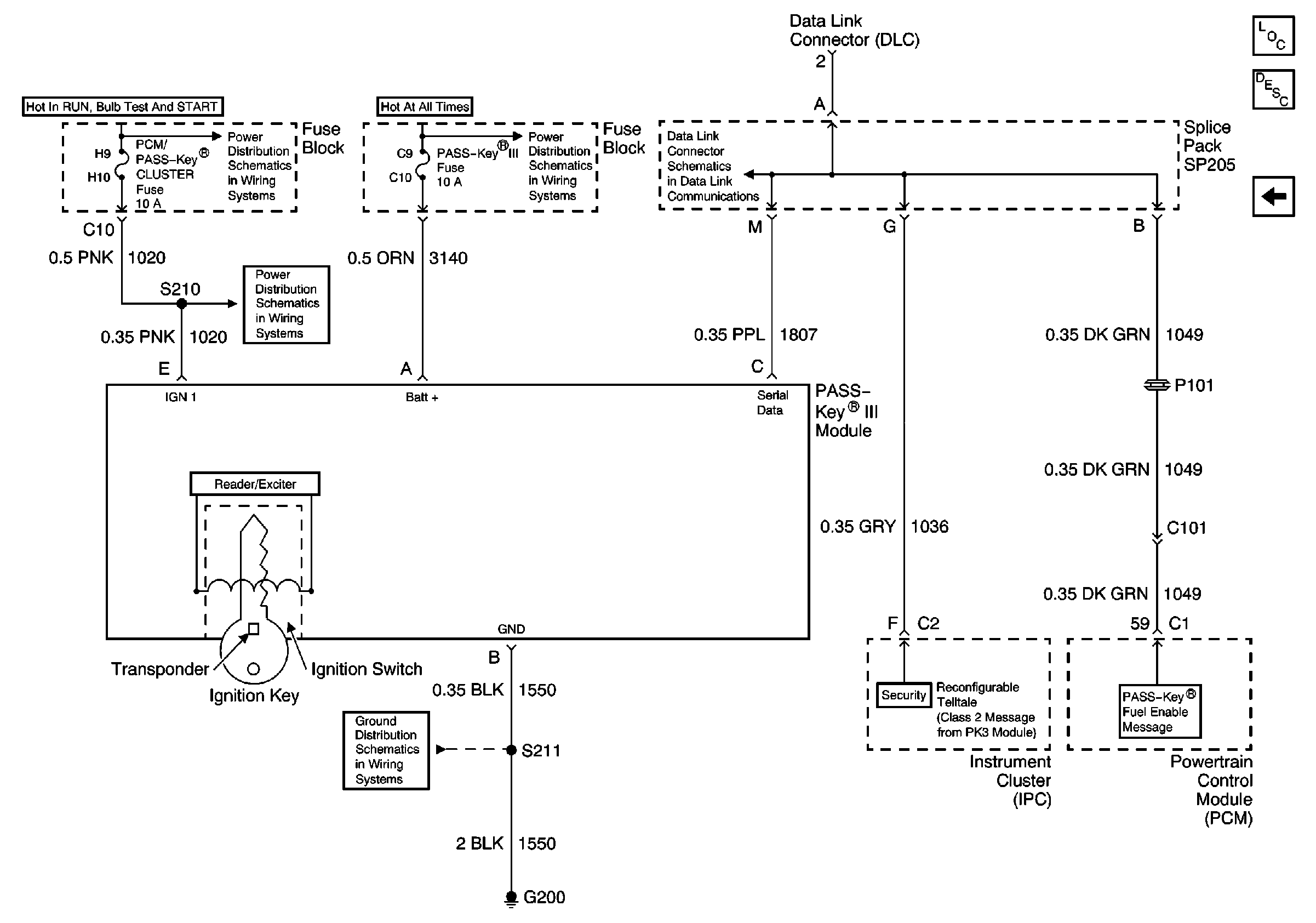
Schematic

Refer to

Pass Key III Module


Object Number: 611395  Size: FS
Theft Deterrent System Components
Vehicle Theft Deterrent (VTD) Description
Cell 133: G200, G302
DLC Schematic
Stop Lamp, Hazard, and Pass Key Fuses, FRT HVAC MI BLWR and Headlamp Circuit Breakers
IGN, SIR, T/S/G, Cruise, and PCM/Pass Key 1 Cluster Fuses
IGN, SIR, T/S/G, Cruise, and PCM/Pass Key 1 Cluster Fuses
Cell 14: G200
schematic

Circuit Description

When an ignition key is inserted into the ignition lock cylinder, the transponder embedded in the head of the key is energized by the exciter coils surrounding the ignition lock cylinder. The energized transponder transmits a signal that contains its unique value, which is received by the VTD (Pass Key® III) Module . The VTD (Pass Key® III) Module then compares this value to a value stored in memory (learned key code). If the value is correct the VTD (Pass Key® III) Module sends the enable password via the class 2 serial data circuit to the PCM.

Conditions for Running the DTC

The ignition switch must be in RUN. The VTD (Pass Key® III) Module cannot have a current DTC B1327.

Conditions for Setting the DTC

The VTD (Pass Key® III) Module is unable to measure the ignition key transponder value for one second. This may be due to a damaged or missing transponder pellet, a non Pass Key® III key, or a damaged exciter. If the conditions occur after the engine is running, setting the DTC may take up to 30 seconds. See Important below.

Action Taken When the DTC Sets

    Important: If the VTD (Pass Key® III) Module is unable to measure the ignition key transponder value for 30 consecutive seconds, after the vehicle has started, the module will enter a fail enable state. The vehicle will not stall or stop running. If the VTD (Pass Key® III) Module is in a fail enable state when the ignition is turned to OFF, it will remain fail enabled until the next time the vehicle is started. If the VTD (Pass Key® III) Module is fail enabled the Pass Key® III system is NOT active and the vehicle will start. The module WILL send its enable password even if a transponder value is not received. The VTD (Pass Key® III) Module will remain fail enabled until it measures a valid key transponder value.

  1. The VTD (Pass Key® III) Module sends a class 2 message containing a disable password to the PCM.
  2. The vehicle will not start.
  3. The VTD (Pass Key® III) Module sends a class 2 message to the instrument cluster to illuminate the SECURITY indicator on steady.

Conditions for Clearing the MIL/DTC

The VTD clears the current status of the DTC when it senses a key code from the exciter. If the code is not from a learned key, a DTC B2960 will be set.

Test Description

The numbers below refer to the step numbers on the diagnostic table:

  1. The key must be a Pass Key® III transponder key with an operating transponder for the system to work.

  2. The only method to confirm whether the transponder in the key or the VTD (Pass Key® III) Module is malfunctioning is to try a alternative component in the system. The vehicle was delivered with four keys.

  3. It is unlikely that more than one key will be defective. If all keys do not work, the VTD (Pass Key® III) Module must be malfunctioning.

  4. If the vehicle has a malfunctioning VTD (Pass Key® III) Module that malfunctioned during an ignition cycle, the system will be "fail enabled" and the vehicle will start for all keys. In this case the code B3055 will remain set and be current for all keys.

  5. If a new key must be tried, it must have the proper mechanical cut and the VTD (Pass Key® III) Module must "learn" the transponder value.

  6. If only one key was available for the vehicle and the replacement key does not work, the VTD (Pass Key® III) Module must be malfunctioning.

Step

Action

Yes

No

1

Did you perform the Theft Deterrent System Diagnostic System Check?

Go to Step 2

Go to Diagnostic System Check - Theft Deterrent

2

Inspect the vehicle's key for damage to the molded head and for "PK3" embossed on the shank.

Is the head of the key damaged or missing the "PK3" embossing?

Go to Step 7

Go to Step 3

3

Are more than one of the vehicle's keys available?

Go to Step 4

Go to Step 7

4

  1. Attempt to start the vehicle using all of the vehicle's available keys.
  2. With a scan tool, observe for any VTD DTC's.

Do any of the available keys start the vehicle?

Go to Step 5

Go to Step 9

5

Do all of the available keys cause DTC B3055 to set?

Go to Step 9

Go to Step 6

6

Do any of the available keys cause DTC B3055 to set?

Go to Step 7

Go to Diagnostic Aids

7

  1. Replace the damaged/inoperative/suspect key.
  2. Copy the mechanical cut of the available key on a Pass Key® III replacement key.
  3. Perform the VTD (Pass Key® III) Module learn procedure. Refer to Programming Theft Deterrent System Components .

Is the replacement complete?

Go to Step 8

-

8

Does the replacement key cause DTC B3055 to set?

Go to Step 9

Go to Step 10

9

Replace the VTD Module.

Perform the VTD (Pass Key® III) Module learn procedure. Refer to Programming Theft Deterrent System Components .

Is the replacement complete?

Go to Step 10

-

10

Important: If you perform a 10-minute or 30-minute re-learn procedure, all keys not learned at that time have been erased and will not be recognized. Perform the quick learn procedure or instruct the customer on how to perform the quick learn procedure. Refer to Programming Theft Deterrent System Components .

  1. Use a scan tool in order to clear the DTC's
  2. Attempt to start the vehicle.

Does the DTC reset?

Go to Step 2

System OK