GM Service Manual Online
For 1990-2009 cars only
Connector 1: A/C Compressor Clutch
Connector 2: A/C Refrigerant Pressure Sensor
Connector 3: Air Temperature Actuator - Auxiliary (C69)
Connector 4: Air Temperature Actuator (C60)
Connector 5: Air Temperature Actuator - Left (CJ3)
Connector 6: Air Temperature Actuator - Right (CJ3)
Connector 7: Blower Motor
Connector 8: Blower Motor - Auxiliary (C69)
Connector 9: Blower Motor Control Module - Auxiliary (C69)
Connector 10: Blower Motor Resistor Assembly
Connector 11: Defrost Actuator
Connector 12: Evaporator Temperature Sensor
Connector 13: HVAC Control Module C1
Connector 14: HVAC Control Module C2
Connector 15: HVAC Control Module C3
Connector 16: Mode Actuator - Auxiliary (C69)
Connector 17: Recirculation Actuator
Connector 18: Vent and Floor Actuator

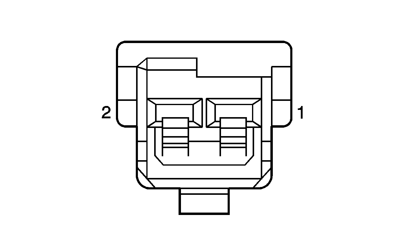
A/C Compressor Clutch


Object Number: 537107  Size: CH

Connector Part Information

  • OEM: 12052644
  • Service: See Catalog
  • Description: 2-Way F Metri-Pack 150 Series, Sealed (GY)

Terminal Part Information

  • Terminal: 12048074/Tray 2
  • Core/Insulation Crimp: E/1
  • Release Tool/Test Probe: 12094429/J-35616-2A

A/C Compressor Clutch

Pin

Wire Color

Circuit No.

Function

A

D-GN

59

A/C Compressor Clutch Supply Voltage

B

BK

1050

Ground

A/C Refrigerant Pressure Sensor


Object Number: 1519475  Size: CH

Connector Part Information

  • OEM: 15477863
  • Service: 88988301
  • Description: 3-Way F GT 150 Series, Sealed (BK)

Terminal Part Information

  • Terminal: 15326267/Tray 19
  • Core/Insulation Crimp: See Terminal Repair Kit
  • Release Tool/Test Probe: 15315247/J-35616-2A

A/C Refrigerant Pressure Sensor

Pin

Wire Color

Circuit No.

Function

1

BK/WH

2751

Low Reference

2

GY

2700

5-Volt Reference

3

OG/BK

380

A/C Refrigerant Pressure Sensor Signal

Air Temperature Actuator - Auxiliary (C69)


Object Number: 1538773  Size: CH

Connector Part Information

  • OEM: 15417306
  • Service: 88987985
  • Description: 6-Way F Receptacle 0.64 (BK)

Terminal Part Information

  • Terminal: Not Serviced in Kit
  • Core/Insulation Crimp: N/A
  • Release Tool/Test Probe: N/A

Air Temperature Actuator - Auxiliary (C69)

Pin

Wire Color

Circuit No.

Function

1

OG

2215

Auxiliary Air Temperature Door Control

2-5

--

--

Not Used

6

YE

1791

Common Door Control

Air Temperature Actuator (C60)


Object Number: 1538773  Size: CH

Connector Part Information

  • OEM: 15417306
  • Service: 88987985
  • Description: 6-Way F Receptacle 0.64 (BK)

Terminal Part Information

  • Terminal: Not Serviced in Kit
  • Core/Insulation Crimp: N/A
  • Release Tool/Test Probe: N/A

Air Temperature Actuator (C60)

Pin

Wire Color

Circuit No.

Function

1

D-BU

1199

Air Temperature Door Control

2-5

--

--

Not Used

6

YE

1791

Common Door Control

Air Temperature Actuator - Left (CJ3)


Object Number: 1538773  Size: CH

Connector Part Information

  • OEM: 15417306
  • Service: 88987985
  • Description: 6-Way F Receptacle 0.64 (BK)

Terminal Part Information

  • Terminal: Not Serviced in Kit
  • Core/Insulation Crimp: N/A
  • Release Tool/Test Probe: N/A

Air Temperature Actuator - Left (CJ3)

Pin

Wire Color

Circuit No.

Function

1

D-BU

1199

Left Air Temperature Door Control

2-5

--

--

Not Used

6

YE

1791

Common Door Control

Air Temperature Actuator - Right (CJ3)


Object Number: 1538773  Size: CH

Connector Part Information

  • OEM: 15417306
  • Service: 88987985
  • Description: 6-Way F Receptacle 0.64 (BK)

Terminal Part Information

  • Terminal: Not Serviced in Kit
  • Core/Insulation Crimp: N/A
  • Release Tool/Test Probe: N/A

Air Temperature Actuator - Right (CJ3)

Pin

Wire Color

Circuit No.

Function

1

WH/BK

1236

Right Air Temperature Door Control

2-5

--

--

Not Used

6

YE

1791

Common Door Control

Blower Motor


Object Number: 62488  Size: CH

Connector Part Information

  • OEM: 12084957
  • Service: 12126461
  • Description: 2-Way F Metri-Pack 280 Series (BK)

Terminal Part Information

  • Terminal: 12015858/Tray 4
  • Core/Insulation Crimp: F/G
  • Release Tool/Test Probe: 12094430/J-35616-4A

Blower Motor

Pin

Wire Color

Circuit No.

Function

A

RD

--

Blower Motor Speed Control

B

BK/WH

--

Ground

Blower Motor - Auxiliary (C69)


Object Number: 62488  Size: CH

Connector Part Information

  • OEM: 12084957
  • Service: 12126461
  • Description: 2-Way F Metri-Pack 280 Series (BK)

Terminal Part Information

  • Terminal: 12015858/Tray 4
  • Core/Insulation Crimp: F/G
  • Release Tool/Test Probe: 12094430/J-35616-4A

Blower Motor - Auxiliary (C69)

Pin

Wire Color

Circuit No.

Function

A

BN

641

Ignition 3 Voltage

B

GY/BK

754

Blower Motor Speed Control

Blower Motor Control Module - Auxiliary (C69)


Object Number: 821354  Size: CH

Connector Part Information

  • OEM: 12105056
  • Service: 88987868
  • Description: 4-Way F (BK)

Terminal Part Information

  • Pins: 1, 4
  • Terminal: 7116-2092/Tray 12
  • Core/Insulation Crimp: A/G
  • Release Tool/Test Probe: 12094430/J-35616-42
  • Pins: 2, 3
  • Terminal: 7116-2090/Tray 12
  • Core/Insulation Crimp: C/B
  • Release Tool/Test Probe: 12094430/J-35616-42

Blower Motor Control Module - Auxiliary (C69)

Pin

Wire Color

Circuit No.

Function

1

GY/BK

754

Blower Motor Speed Control

2

D-GN

2211

Auxiliary Blower Motor Speed Control

3

WH

2613

Auxiliary Blower Motor Speed Control

4

BK

350

Ground

Blower Motor Resistor Assembly


Object Number: 73146  Size: CH

Connector Part Information

  • OEM: 12052854
  • Service: 88953358
  • Description: 7-Way F Metri-Pack 280 Series (BK)

Terminal Part Information

  • Pins: A-E, G
  • Terminal: 12015858/Tray 4
  • Core/Insulation Crimp: F/G
  • Release Tool/Test Probe: 12094430/J-35616-4A
  • Pins: F
  • Terminal: 12034046/Tray 2
  • Core/Insulation Crimp: C/D
  • Release Tool/Test Probe: 12094430/J-35616-4A

Blower Motor Resistor Assembly

Pin

Wire Color

Circuit No.

Function

A

TN

63

Medium 1 Blower Motor Control

B

YE

60

Low Blower Motor Control

C

PU

73

Medium 3 Blower Motor Control

D

L-BU

72

Medium 2 Blower Motor Control

E

BK

150

Ground

F

OG

52

High Blower Motor Control

G

RD/BK

442

Battery Positive Voltage

Defrost Actuator


Object Number: 1538773  Size: CH

Connector Part Information

  • OEM: 15417306
  • Service: 88987985
  • Description: 6-Way F Receptacle 0.64 (BK)

Terminal Part Information

  • Terminal: Not Serviced in Kit
  • Core/Insulation Crimp: N/A
  • Release Tool/Test Probe: N/A

Defrost Actuator

Pin

Wire Color

Circuit No.

Function

1

WH

119

Defrost Door Control

2-5

--

--

Not Used

6

YE

1791

Common Door Control

Evaporator Temperature Sensor


Object Number: 280768  Size: CH

Connector Part Information

  • OEM: 12052832
  • Service: 12101825
  • Description: 2-Way F Metri-Pack 150 Series (BK)

Terminal Part Information

  • Terminal: 12064971/Tray 5
  • Core/Insulation Crimp: E/C
  • Release Tool/Test Probe: 12094429/J-35616-2A

Evaporator Temperature Sensor

Pin

Wire Color

Circuit No.

Function

A

WH

2622

Evaporator Temperature Sensor Signal

B

TN

552

Low Reference

HVAC Control Module C1


Object Number: 73151  Size: CH

Connector Part Information

  • OEM: 12064799
  • Service: 15305996
  • Description: 12-Way F Micro-Pack 100 Series (BK)

Terminal Part Information

  • Pins: A, C, E, F, H-M
  • Terminal: 12146447/Tray 3
  • Core/Insulation Crimp: E/C
  • Release Tool/Test Probe: 12031876-1/J-35616-6
  • Pins: D, G
  • Terminal: 12146448/Tray 19
  • Core/Insulation Crimp: Pin D: E/C, Pin G: E/A
  • Release Tool/Test Probe: 12031876-1/J-35616-6

HVAC Control Module C1

Pin

Wire Color

Circuit No.

Function

A

BK/WH

1551

Ground

B-C

--

--

Not Used

D

RD/WH

1040

Battery Positive Voltage

E

PK

739

Ignition 1 Voltage

F

--

--

Not Used

G

WH

2613

Auxiliary Blower Motor Speed Control

H

WH

1038

Class 2 Serial Data

J

BK

1450

Ground

K

GY

8

Instrument Panel Lamp Supply Voltage

L

WH

2622

Evaporator Temperature Sensor Signal

M

TN

552

Low Reference

HVAC Control Module C2


Object Number: 684939  Size: CH

Connector Part Information

  • OEM: 15336594
  • Service: Not Serviced
  • Description: 12-Way F Micro-Pack 100 Series (GY)

Terminal Part Information

  • Pins: A, G
  • Terminal: 12146448/Tray 19
  • Core/Insulation Crimp: E/A
  • Release Tool/Test Probe: 12031876-1/J-35616-6
  • Pins: C-F, H-M
  • Terminal: 12146447/Tray 3
  • Core/Insulation Crimp: E/C
  • Release Tool/Test Probe: 12031876-1/J-35616-6

HVAC Control Module C2

Pin

Wire Color

Circuit No.

Function

A

D-GN

71

Off Blower Motor Control

B

--

--

Not Used

C

GY

2614

Auxiliary Mode Door Control (C69)

D

OG

2215

Auxiliary Air Temperature Door Control (C69)

E

D-BU

1199

Left Air Temperature Door Control

F

YE

1791

Common Door Control

G

OG

52

Blower Motor High Control

H

TN/BK

2274

Recirculation Door Control

J

WH/BK

1236

Right Air Temperature Door Control

K

TN

2273

Vent and Floor Door Control

L

WH

119

Defrost Door Control

M

D-GN

2211

Auxiliary Blower Motor Speed Control (C69)

HVAC Control Module C3


Object Number: 73146  Size: CH

Connector Part Information

  • OEM: 12052854
  • Service: 88953358
  • Description: 7-Way F Metri-Pack 280 Series (BK)

Terminal Part Information

  • Pins: A, F
  • Terminal: 12034046/Tray 2
  • Core/Insulation Crimp: C/D
  • Release Tool/Test Probe: 12094430/J-35616-4A
  • Pins: B-E, G
  • Terminal: 12015858/Tray 4
  • Core/Insulation Crimp: See Terminal Repair Kit
  • Release Tool/Test Probe: 12094430/J-35616-4A

HVAC Control Module C3

Pin

Wire Color

Circuit No.

Function

A

OG

52

High Blower Motor Control

B

PU

73

Medium 3 Blower Motor Control

C

L-BU

72

Medium 2 Blower Motor Control

D

TN

63

Medium 1 Blower Motor Control

E

YE

60

Low Blower Motor Control

F

D-GN

71

Off Blower Motor Control

G

BN

41

Ignition 3 Voltage

Mode Actuator - Auxiliary (C69)


Object Number: 1538762  Size: CH

Connector Part Information

  • OEM: 15454491
  • Service: See Catalog
  • Description: 2-Way F Multi-Lock Plug Housing (GY)

Terminal Part Information

  • Terminal: 173630-7/Tray 7
  • Core/Insulation Crimp: E/4
  • Release Tool/Test Probe: 15315247/J-35616-33

Mode Actuator - Auxiliary (C69)

Pin

Wire Color

Circuit No.

Function

1

GY

2614

Auxiliary Mode Door Control

2

YE

1791

Common Door Control

Recirculation Actuator


Object Number: 1538773  Size: CH

Connector Part Information

  • OEM: 15417306
  • Service: 88987985
  • Description: 6-Way F Receptacle 0.64 (BK)

Terminal Part Information

  • Terminal: Not Serviced in Kit
  • Core/Insulation Crimp: N/A
  • Release Tool/Test Probe: N/A

Recirculation Actuator

Pin

Wire Color

Circuit No.

Function

1

TN/BK

2274

Recirculation Door Control

2-5

--

--

Not Used

6

YE

1791

Common Door Control

Vent and Floor Actuator


Object Number: 1538773  Size: CH

Connector Part Information

  • OEM: 15417306
  • Service: 88987985
  • Description: 6-Way F Receptacle 0.64 (BK)

Terminal Part Information

  • Terminal: Not Serviced in Kit
  • Core/Insulation Crimp: N/A
  • Release Tool/Test Probe: N/A

Vent and Floor Actuator

Pin

Wire Color

Circuit No.

Function

1

TN

2273

Vent and Floor Door Control

2-5

--

--

Not Used

6

YE

1791

Common Door Control