| Connector 1: | Fuse Block - Underhood Label (Early Production) |
| Connector 2: | Fuse Block - Underhood Label (Late Production) |
| Connector 3: | Fuse Block - Underhood Top View |
| Connector 4: | Fuse Block - Underhood Bottom View |
| Connector 5: | Fuse Block - Underhood C1 |
| Connector 6: | Fuse Block - Underhood C2 (Early Production) |
| Connector 7: | Fuse Block - Underhood C2 (Late Production) |
| Connector 8: | Fuse Block - Underhood C3 |
| Connector 9: | Fuse Block - I/P Label |
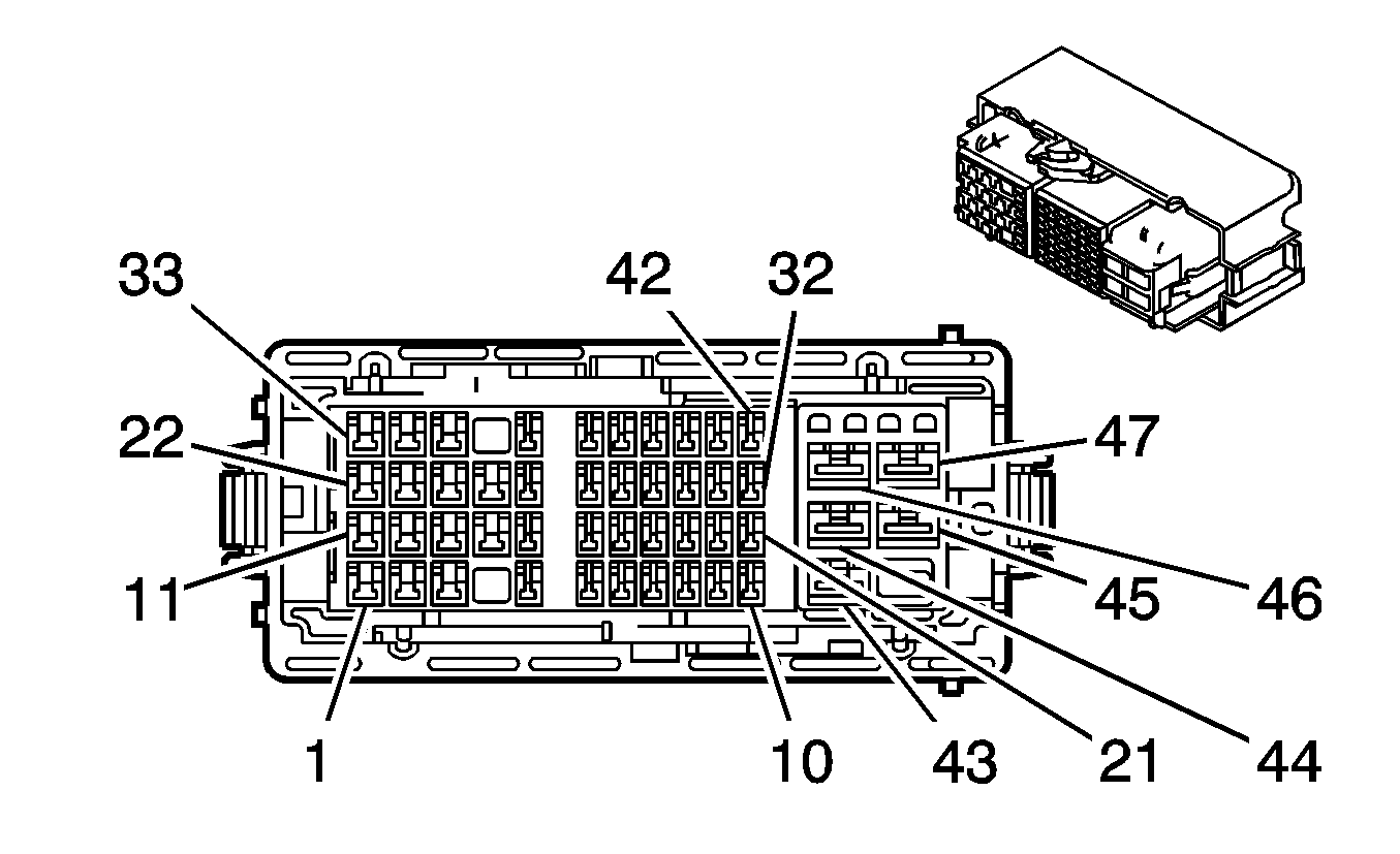
| Connector 10: | Fuse Block - I/P Top View |
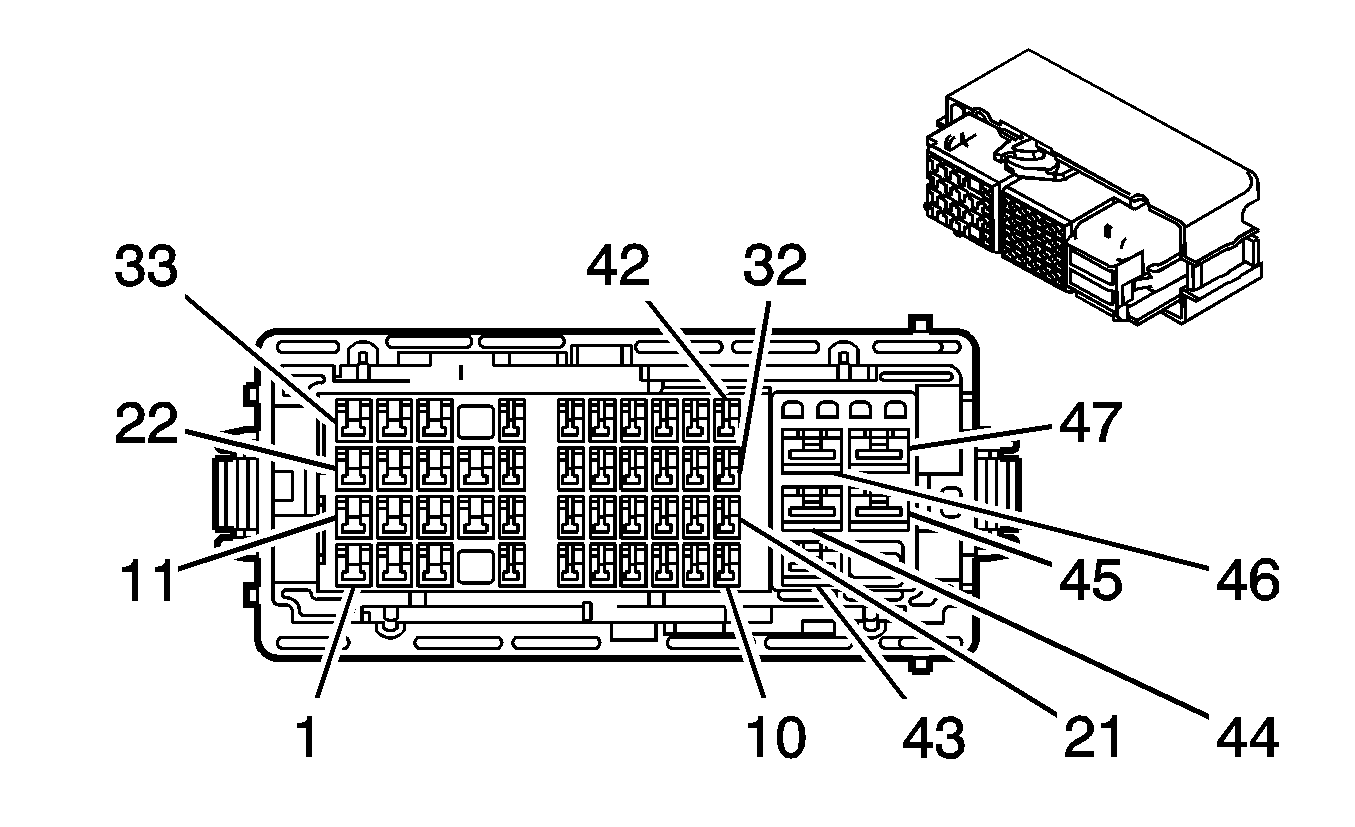
| Connector 11: | Fuse Block - I/P Bottom View |
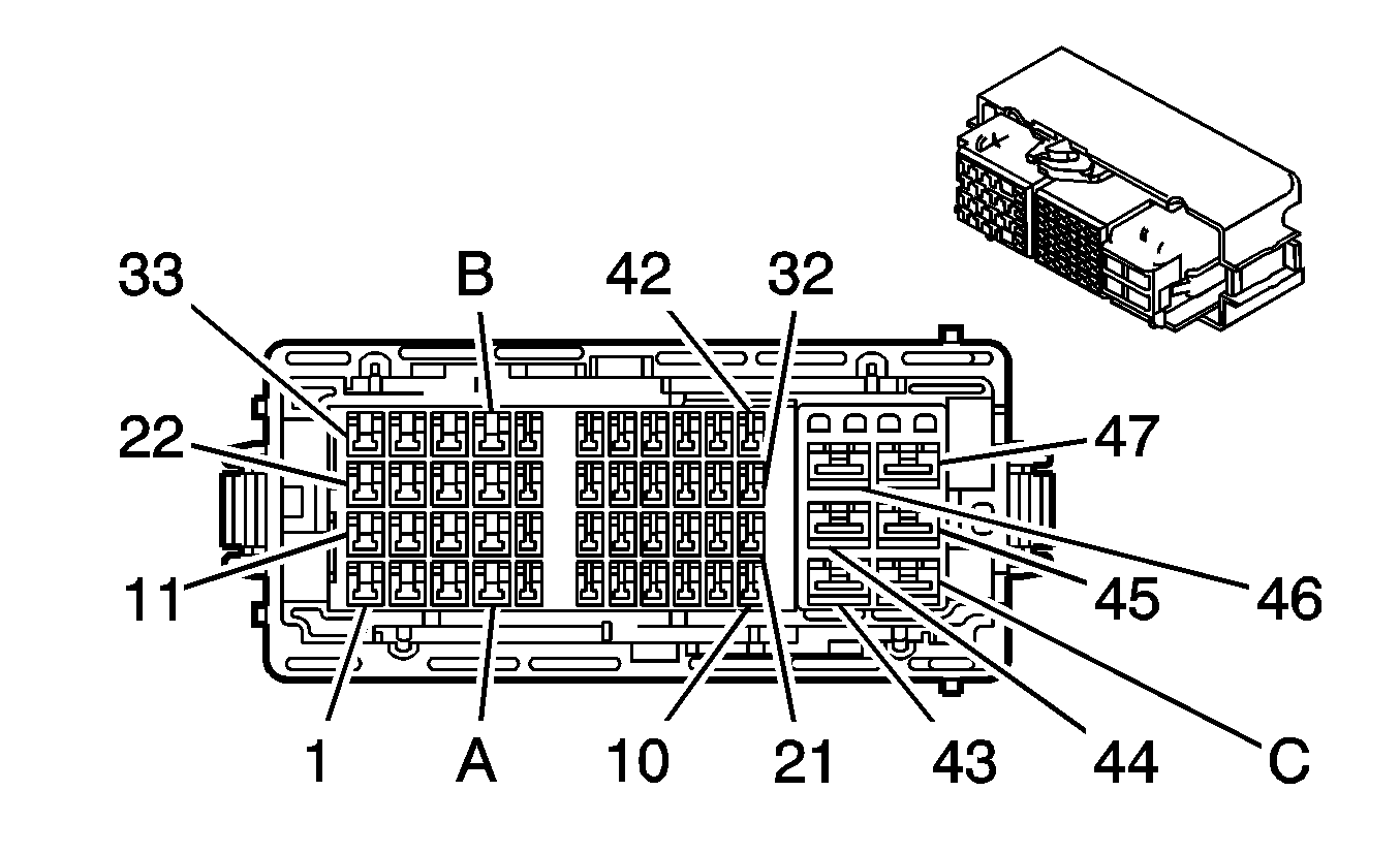
| Connector 12: | Fuse Block - I/P C1 (Early Production) |
| Connector 13: | Fuse Block - I/P C1 (Late Production) |
| Connector 14: | Fuse Block - I/P C2 |
| Connector 15: | Sit-N-Lift Seat Fuse Block (AQW) |
No. | Device | Rating | Description |
|---|---|---|---|
1 | RH HI BEAM Fuse | 10A | Headlamp - High Beam - Right |
2 | FUEL PUMP Fuse | 15A | FUEL PUMP Relay |
3 | DIODE | -- | AC/CLTCH Relay |
4 | LH HI BEAM Fuse | 10A | Headlamp - High Beam - Left |
5 | -- | -- | Not Used |
6 | A/C CLTCH Fuse | 10A | AC/CLTCH Relay |
7 | HORN Fuse | 15A | HORN Relay |
8 | LH LO BEAM Fuse | 10A | Headlamp - Low Beam - Left |
9 | PCM ETC Fuse | 15A | PCM |
10 | -- | -- | Not Used |
11 | TRANS SOLS Fuse | 10A | 1-2 SS Valve, 2-3 SS Valve, and TCC Solenoid Valve |
12 | RH LO BEAM Fuse | 10A | Headlamp - Low Beam - Right |
13 | ABS Fuse | 10A | EBCM |
14 | PCM IGN Fuse | 10A | CRNK Relay and PCM |
15 | ELEC IGN Fuse | 15A | ICM |
16 | FUEL INJ Fuse | 15A | Fuel Injectors 1-6 |
17 | HVAC/RPA/CRUISE Fuse | 10A | CRUISE/SWTCH Fuse, HVAC Control Module, and Rear Object Sensor Control Module |
18 | ETC Fuse | 15A | TAC Module |
19 | ENG SNSR/EVAP Fuse | 15A | HO2S1 and HO2S2 |
20 | AIRBAG Fuse | 10A | Inflatable Restraint PASSENGER AIR BAG ON/OFF Indicator, PPS Module, and SDM |
21 | -- | -- | Not Used |
22 | EMIS/AWD Fuse | 15A | Differential Clutch Pump Actuator Check Valve |
23 | AUX/PWR 12VDC Fuse | 25A | Auxiliary Power Outlet - Rear and Cigar Lighter |
24 | FRT WSW Fuse | 15A | BCM |
25 | AC/DC INVRTR Fuse | 25A | Accessory AC/DC Power Control Module |
26 | RR BLWR/110VAC Fuse | 25A | Blower Motor - Auxiliary |
27 | FRT/BLWR Fuse | 25A | HVAC Control Module |
28 | FRT WPR Fuse | 25A | WPR1 Relay |
29 | FAN1 Fuse | 30A | FAN1 Relay |
30 | STRTR SOL Fuse | 40 | CRNK Relay |
31 | ABS MOTOR Fuse | 60A | EBCM |
32 | -- | -- | Not Used |
33 | FAN2 Fuse | 40A | FAN2 and FAN3 Relays |
34 | FRT BLWR HI | 40A | Blower Motor Resistor Assembly |
35 | BATT MAIN 3 Fuse | 60A | ELC, TRUNK/LKS and Spare Fuses |
36 | RR DEFOG Fuse | 40A | RR DEFOG Relay |
37 | BATT MAIN 2 Fuse | 60A | HTD/SEATS, LH - PSD, PWR/MIR, RH - PSD, and STOP/TRN Fuses, PWR SEATS Circuit Breaker |
38 | BATT MAIN 1 Fuse | 40A | CNSTR/VENT, CHMSL BCK/UP, CLSTR/HVAC, INT/LAMP, ONSTAR, PRK/LAMP, PSD, RADIO AMP, and RFA MDLS Fuses (Early Production) |
-- | AC/CLTCH Relay | -- | DIODE 3 and A/C Compressor Clutch |
-- | CRNK Relay | -- | Starter Motor |
-- | FAN1 Relay | -- | Cooling Fan - Left |
-- | FAN2 Relay | -- | Cooling Fan - Right |
-- | FAN3 Relay | -- | Cooling Fan - Right |
-- | FUEL PUMP Relay | -- | Fuel Pump and Sender Assembly |
-- | HI BEAM Relay | -- | LH HI BEAM and RH HI BEAM Fuses |
-- | HORN Relay | -- | Horn - Left and Horn - Right |
-- | IGN MAIN Relay | -- | ABS, AIRBAG, HVAC/RPA/CRUISE, PCM IGN, and TRANS SOLS Fuses, AC/CLTCH Relay |
-- | LO BEAM Relay | -- | LH LO BEAM and RH LO BEAM Fuses |
-- | PWR/TRN Relay | -- | ELEC IGN, EMIS/AWD, ENG SNSR/EVAP, ETC, FUEL INJ, and Spare Fuses |
-- | RUN RLY Relay | -- | FRT/BLWR and RR BLWR/110VAC Fuses |
-- | WPR1 Relay | -- | WPR2 Relay |
-- | WPR2 Relay | -- | Windshield Wiper Motor |
Connector Part Information
|
Terminal Part Information
|
Pin | Wire Color | Circuit No. | Function |
|---|---|---|---|
1 | PU | 6 | Starter Solenoid Crank Voltage |
2 | PK | 639 | Ignition 1 Voltage |
3 | -- | -- | Not Used |
4 | D-GN/WH | 2087 | 5-Volt Reference (JL4) |
5 | -- | -- | Not Used |
6 | D-GN | 335 | Low Speed Cooling Fan Relay Control |
7 | RD/WH | 540 | Battery Positive Voltage |
8 | BK | 1050 | Ground |
9 | D-GN/WH | 459 | A/C Compressor Clutch Relay Control |
10 | BK/WH | 451 | Ground |
11 | PK | 239 | Ignition 1 Voltage |
12 | PK | 1039 | Ignition 1 Voltage |
13 | PK | 439 | Ignition 1 Voltage |
14 | -- | -- | Not Used |
15 | L-GN | 526 | Stop Lamp Supply Voltage |
16 | PK | 1339 | Ignition 1 Voltage |
17 | D-GN | 59 | A/C Compressor Clutch Supply Voltage |
18 | YE/BK | 625 | Starter Enable Relay Control |
19 | PK | 439 | Ignition 1 Voltage |
20 | GY | 1884 | Cruise Control Switch Signal |
21 | BN | 5069 | Powertrain Relay Control |
22 | PK | 39 | Ignition 1 Voltage |
23 | -- | -- | Not Used |
24 | PK | 839 | Ignition 1 Voltage |
PK | 839 | Ignition 1 Voltage | |
25 | PK | 839 | Ignition 1 Voltage |
PK | 839 | Ignition 1 Voltage | |
26 | L-BU | 1764 | Steering Wheel Position Signal B (JL4) |
27 | L-BU | 1296 | Axle Actuator - Control (w/o JL4) |
28 | BN/WH | 419 | MIL Control |
29 | L-GN | 1763 | Steering Wheel Position Signal A (JL4) |
30 | L-BU | 2088 | Low Reference (JL4) |
31 | -- | -- | Not Used |
32 | D-BU | 473 | High Speed Cooling Fan Relay Control |
33 | -- | -- | Not Used |
34 | D-GN | 389 | Vehicle Speed Signal |
D-GN | 389 | Vehicle Speed Signal | |
35 | L-GN | 526 | Stop Lamp Supply Voltage |
L-GN | 526 | Stop Lamp Supply Voltage | |
36 | L-BU/WH | 2088 | Low Reference (JL4) |
37 | L-BU | 1122 | Class 2 Serial Data |
38 | D-GN | 1049 | Class 2 Serial Data |
39 | L-GN | 1338 | Lateral Accelerometer Signal (JL4) |
40 | L-BU | 910 | Yaw Rate Sensor Signal (JL4) |
41 | D-GN | 2087 | 5-Volt Reference (JL4) |
42 | D-GN/WH | 465 | Fuel Pump Relay Control |
43 | RD/BK | 1442 | Battery Positive Voltage |
44-47 | -- | -- | Not Used |
Connector Part Information
|
Terminal Part Information
|
Pin | Wire Color | Circuit No. | Function |
|---|---|---|---|
1 | PK | 339 | Ignition 1 Voltage |
2 | RD/WH | 2440 | Battery Positive Voltage |
3 | BN | 641 | Ignition 3 Voltage |
4 | PK | 1139 | Ignition 1 Voltage |
5 | L-BU | 1296 | Axle Actuator - Control |
6 | L-BU | 1122 | Class 2 Serial Data |
7 | D-GN | 1049 | Class 2 Serial Data |
8 | BN/WH | 419 | MIL Control |
9 | TN/WH | 1969 | Headlamp High Beam Relay Control |
10 | PK | 1439 | Ignition 1 Voltage |
11 | BN | 9 | Park Lamp Supply Voltage |
12 | BN | 41 | Ignition 3 Voltage |
13 | BK | 1650 | Ground |
14 | RD/BK | 1342 | Battery Positive Voltage |
15 | D-GN | 389 | Vehicle Speed Signal |
16 | L-BU/WH | 2088 | Low Reference |
17 | L-GN/BK | 1338 | Lateral Accelerometer Signal |
18 | L-GN | 526 | Stop Lamp Supply Voltage |
19 | PK/WH | 1970 | Headlamp Low Beam Relay Control |
20 | TN | 860 | Front Windshield Wiper Switch High Signal |
21 | L-BU | 910 | Yaw Rate Sensor Signal |
22 | RD/WH | 2540 | Battery Positive Voltage |
23 | GY | 120 | Fuel Pump Supply Voltage |
24 | -- | -- | Not Used |
25 | D-GN | 95 | Windshield Wiper Motor Low Speed Control |
26 | L-BU | 1764 | Steering Wheel Position Signal B |
27 | PK | 739 | Ignition 1 Voltage |
28 | PK | 739 | Ignition 1 Voltage |
29 | OG | 300 | Run Relay Control |
30 | D-GN | 2087 | 5-Volt Reference |
31 | TN | 28 | Horn Relay Control |
TN | 28 | Horn Relay Control | |
32 | GY | 91 | Windshield Wiper Switch Signal 2 |
33 | RD/WH | 2540 | Battery Positive Voltage |
34 | -- | -- | Not Used |
35 | PU | 92 | Windshield Wiper Motor High Speed Control |
36 | L-GN | 1763 | Steering Wheel Position Signal A |
37 | D-GN/WH | 2087 | 5-Volt Reference |
38 | PK/BK | 109 | Hood Ajar Switch Signal |
39 | D-BU/WH | 1315 | Right Front Turn Signal Lamp Supply Voltage |
40 | L-BU/WH | 1314 | Left Front Turn Signal Lamp Supply Voltage |
41 | GY | 1884 | Cruise Control Switch Signal |
42 | L-BU | 2088 | Low Reference |
43 | RD/BK | 742 | Battery Positive Voltage |
44 | RD/BK | 842 | Battery Positive Voltage |
45 | RD/BK | 442 | Battery Positive Voltage |
46 | RD/BK | 642 | Battery Positive Voltage |
47 | -- | -- | Not Used |
Connector Part Information
|
Terminal Part Information
|
Pin | Wire Color | Circuit No. | Function |
|---|---|---|---|
1 | PK | 339 | Ignition 1 Voltage |
2 | RD/WH | 2440 | Battery Positive Voltage |
3 | BN | 641 | Ignition 3 Voltage |
4 | PK | 1139 | Ignition 1 Voltage |
5 | L-BU | 1296 | Axle Actuator - Control |
6 | L-BU | 1122 | Class 2 Serial Data |
7 | D-GN | 1049 | Class 2 Serial Data |
8 | BN/WH | 419 | MIL Control |
9 | TN/WH | 1969 | Headlamp High Beam Relay Control |
10 | PK | 1439 | Ignition 1 Voltage |
11 | BN | 9 | Park Lamp Supply Voltage |
12 | BN | 41 | Ignition 3 Voltage |
13 | BK | 1650 | Ground |
14 | RD/BK | 1342 | Battery Positive Voltage |
15 | D-GN | 389 | Vehicle Speed Signal |
16 | L-BU/WH | 2088 | Low Reference |
17 | L-GN/BK | 1338 | Lateral Accelerometer Signal |
18 | L-GN | 526 | Stop Lamp Supply Voltage |
19 | PK/WH | 1970 | Headlamp Low Beam Relay Control |
20 | TN | 860 | Front Windshield Wiper Switch High Signal |
21 | L-BU | 910 | Yaw Rate Sensor Signal |
22 | RD/WH | 2540 | Battery Positive Voltage |
23 | GY | 120 | Fuel Pump Supply Voltage |
24 | -- | -- | Not Used |
25 | D-GN | 95 | Windshield Wiper Motor Low Speed Control |
26 | L-BU | 1764 | Steering Wheel Position Signal B |
27 | PK | 739 | Ignition 1 Voltage |
28 | PK | 739 | Ignition 1 Voltage |
29 | OG | 300 | Run Relay Control |
30 | D-GN | 2087 | 5-Volt Reference |
31 | TN | 28 | Horn Relay Control |
TN | 28 | Horn Relay Control | |
32 | GY | 91 | Windshield Wiper Switch Signal 2 |
33 | RD/WH | 2540 | Battery Positive Voltage |
34 | -- | -- | Not Used |
35 | PU | 92 | Windshield Wiper Motor High Speed Control |
36 | L-GN | 1763 | Steering Wheel Position Signal A |
37 | D-GN/WH | 2087 | 5-Volt Reference |
38 | PK/BK | 109 | Hood Ajar Switch Signal |
39 | D-BU/WH | 1315 | Right Front Turn Signal Lamp Supply Voltage |
40 | L-BU/WH | 1314 | Left Front Turn Signal Lamp Supply Voltage |
41 | GY | 1884 | Cruise Control Switch Signal |
42 | L-BU | 2088 | Low Reference |
43 | RD/BK | 742 | Battery Positive Voltage |
44 | RD/BK | 842 | Battery Positive Voltage |
45 | RD/BK | 442 | Battery Positive Voltage |
46 | RD/BK | 642 | Battery Positive Voltage |
47 | -- | -- | Not Used |
A-C | -- | -- | Not Used |
Connector Part Information
|
Terminal Part Information
|
Pin | Wire Color | Circuit No. | Function |
|---|---|---|---|
1-12 | -- | -- | Not Used |
13 | D-GN | 29 | Horn Control |
14-19 | -- | -- | Not Used |
20 | L-GN/BK | 311 | Right Headlamp High Beam Supply Voltage |
21 | -- | -- | Not Used |
22 | BN | 9 | Park Lamp Supply Voltage |
BN | 9 | Park Lamp Supply Voltage | |
23-30 | -- | -- | Not Used |
31 | D-GN/WH | 711 | Left Headlamp High Beam Supply Voltage |
32 | -- | -- | Not Used |
33 | BN | 9 | Park Lamp Supply Voltage |
BN | 9 | Park Lamp Supply Voltage | |
34-35 | -- | -- | Not Used |
36 | YE | 712 | Left Headlamp Low Beam Supply Voltage |
37 | TN/WH | 312 | Right Headlamp Low Beam Supply Voltage |
38-39 | -- | -- | Not Used |
40 | L-BU/WH | 1314 | Left Front Turn Signal Lamp Supply Voltage |
41 | D-BU/WH | 1315 | Right Front Turn Signal Lamp Supply Voltage |
42 | PK/BK | 109 | Hood Ajar Switch Signal (AP3) |
43 | -- | -- | Not Used |
44 | WH | 504 | Left Cooling Fan Motor Supply Voltage |
45 | L-BU | 409 | Right Cooling Fan Motor Supply Voltage |
46 | GY | 532 | Left Cooling Fan Motor Low Control |
47 | BK | 1250 | Ground |
No. | Device | Rating | Description |
|---|---|---|---|
1 | TRUNK/LKS Fuse | 15A | BCM |
2 | ELC Fuse | 20A | ALC Sensor, Multifunction Switch - Overhead Console and Rear Window Washer Fluid Pump Relay |
3 | RR WPR Fuse | 15A | Rear Window Wiper Motor |
4 | RADIO AMP Fuse | 20A | DVD Player and Radio |
5 | INT/LAMP Fuse | 10A | BCM |
6 | ONSTAR Fuse | 10A | DLC and VCU |
7 | RFA MDLS Fuse | 10A | Digital Radio Receiver and RCDLR |
8 | CLSTR/HVAC Fuse | 10A | HVAC Control Module and IPC |
9 | CRUISE/SWTCH Fuse | 2A | Cruise Control Lever |
10 | STRG WHL ILLUM Fuse | 2A | Steering Wheel Control Switch Assembly - Left and Steering Wheel Control Switch Assembly - Right |
11 | PWR/MIR Fuse | 10A | Garage Door Opener and Outside Rearview Mirror Switch |
12 | STOP/TRN Fuse | 20A | BCM |
13 | HTD/SEATS Fuse | 20A | Heated Seat Relay - Driver and Heated Seat Relay - Passenger |
14 | -- | -- | Not Used |
15 | ELC Fuse | 25A | ALC Compressor, ALC Inflator Air Switch, ALC Sensor, ALC Solenoid Valve, and Trailer Wiring Blunt Cut |
16 | HTD/MIR Fuse | 10A | Outside Rearview Mirror - Driver and Outside Rearview Mirror - Passenger |
17 | CHMSL BCK/UP Fuse | 15A | BCM |
18 | -- | -- | Not Used |
19 | CNSTR/VENT Fuse | 10A | EVAP Canister Vent Solenoid |
20 | PRK/LAMP Fuse | 10A | PRK LAMP Relay |
21 | PSD Fuse | 15A | LSDM and RSDM |
22-23 | -- | -- | Not Used |
24 | LH-PSD Fuse | 40A | LSDM |
25 | RH-PSD Fuse | 40A | RSDM |
26-27 | -- | -- | Not Used |
28 | PRK LAMP Relay | -- | License Lamp - Left, License Lamp - Right, Tail Lamp - Left, Tail Lamp - Right, Tail/Stop and Turn Signal Lamp - Left, Tail/Stop and Turn Signal Lamp - Right, and Trailer Wiring Blunt Cut |
29 | RAP Relay | -- | ELC and RR WPR Fuses, and PWR WNDW Circuit Breaker |
30 | RR DEFOG Relay | -- | HTD/MIR Fuse and Rear Window Defogger Grid |
31 | PWR SEATS Circuit Breaker | 25A | Seat Adjuster Switch - Driver or Memory Seat Module - Driver and Seat Adjuster Switch - Passenger |
32 | PWR WNDW Circuit Breaker | 25A | Window Switch - Driver and Window Switch - Passenger |
Connector Part Information
|
Terminal Part Information
|
Pin | Wire Color | Circuit No. | Function |
|---|---|---|---|
1-2 | -- | -- | Not Used |
3 | RD/WH | 240 | Battery Positive Voltage |
4 | TN | 707 | RAP Relay Coil Control |
5 | RD/WH | 640 | Battery Positive Voltage |
6 | RD/WH | 2340 | Battery Positive Voltage (UE1) |
7 | -- | -- | Not Used |
8 | GY | 8 | Instrument Panel Lamp Supply Voltage |
9 | PK | 739 | Ignition 1 Voltage |
10 | -- | -- | Not Used |
11 | RD/WH | 2040 | Battery Positive Voltage |
12 | RD/WH | 340 | Battery Positive Voltage |
13 | BN | 9 | Park Lamp Supply Voltage |
14 | -- | -- | Not Used |
15 | BN | 9 | Park Lamp Supply Voltage |
16 | RD/WH | 640 | Battery Positive Voltage (U2K) |
17 | RD/WH | 2340 | Battery Positive Voltage |
18 | RD/WH | 1040 | Battery Positive Voltage |
19-20 | -- | -- | Not Used |
21 | PK | 1539 | Ignition 1 Voltage |
22-24 | -- | -- | Not Used |
25 | RD/WH | 1240 | Battery Positive Voltage |
26-29 | -- | -- | Not Used |
30 | RD/WH | 1040 | Battery Positive Voltage |
31-37 | -- | -- | Not Used |
38 | L-GN | 526 | Stop Lamp Supply Voltage |
39 | L-GN | 526 | Stop Lamp Supply Voltage |
40 | -- | -- | Not Used |
41 | GY | 1458 | Instrument Panel Lamp Supply Voltage |
42 | WH | 1080 | Park Lamp Relay Control |
43 | RD/BK | 642 | Battery Positive Voltage |
44 | RD/BK | 242 | Battery Positive Voltage |
45 | RD/BK | 842 | Battery Positive Voltage |
46 | -- | -- | Not Used |
47 | RD/BK | 742 | Battery Positive Voltage |
Connector Part Information
|
Terminal Part Information
|
Pin | Wire Color | Circuit No. | Function |
|---|---|---|---|
1-2 | -- | -- | Not Used |
3 | RD/WH | 240 | Battery Positive Voltage |
4 | TN | 707 | RAP Relay Coil Control |
5 | RD/WH | 640 | Battery Positive Voltage |
6 | RD/WH | 2340 | Battery Positive Voltage (UE1) |
7 | -- | -- | Not Used |
8 | GY | 8 | Instrument Panel Lamp Supply Voltage |
9 | PK | 739 | Ignition 1 Voltage |
10 | -- | -- | Not Used |
11 | RD/WH | 2040 | Battery Positive Voltage |
12 | RD/WH | 340 | Battery Positive Voltage |
13 | BN | 9 | Park Lamp Supply Voltage |
14 | -- | -- | Not Used |
15 | BN | 9 | Park Lamp Supply Voltage |
16 | RD/WH | 640 | Battery Positive Voltage (U2K) |
17 | RD/WH | 2340 | Battery Positive Voltage |
18 | RD/WH | 1040 | Battery Positive Voltage |
19-20 | -- | -- | Not Used |
21 | PK | 1539 | Ignition 1 Voltage |
22-24 | -- | -- | Not Used |
25 | RD/WH | 1240 | Battery Positive Voltage |
26-29 | -- | -- | Not Used |
30 | RD/WH | 1040 | Battery Positive Voltage |
31-37 | -- | -- | Not Used |
38 | L-GN | 526 | Stop Lamp Supply Voltage |
39 | L-GN | 526 | Stop Lamp Supply Voltage |
40 | -- | -- | Not Used |
41 | GY | 1458 | Instrument Panel Lamp Supply Voltage |
42 | WH | 1080 | Park Lamp Relay Control |
43 | RD/BK | 642 | Battery Positive Voltage |
44 | RD/BK | 242 | Battery Positive Voltage |
45 | RD/BK | 842 | Battery Positive Voltage |
46 | -- | -- | Not Used |
47 | RD/BK | 742 | Battery Positive Voltage |
A-C | -- | -- | Not Used |
Connector Part Information
|
Terminal Part Information
|
Pin | Wire Color | Circuit No. | Function |
|---|---|---|---|
1 | -- | -- | Not Used |
2 | RD/WH | 1440 | Battery Positive Voltage |
3 | -- | -- | Not Used |
4 | OG | 2267 | Mirror Heating Element Supply Voltage |
5-8 | -- | -- | Not Used |
9 | RD/WH | 2840 | Battery Positive Voltage |
10 | RD/WH | 1840 | Battery Positive Voltage |
11 | YE | 643 | Accessory Voltage |
12-13 | -- | -- | Not Used |
14 | RD/WH | 1140 | Battery Positive Voltage |
15-18 | -- | -- | Not Used |
19 | WH | 193 | Rear Defog Relay Control |
20-21 | -- | -- | Not Used |
22 | RD/WH | 2040 | Battery Positive Voltage |
23 | RD/WH | 1140 | Battery Positive Voltage |
24 | -- | -- | Not Used |
25 | YE | 143 | Accessory Voltage |
26-34 | -- | -- | Not Used |
35 | RD/WH | 140 | Battery Positive Voltage |
36 | RD/WH | 440 | Battery Positive Voltage |
37 | -- | -- | Not Used |
38 | YE | 843 | Accessory Voltage |
39 | -- | -- | Not Used |
40 | GY | 8 | Instrument Panel Lamp Supply Voltage |
41 | PK | 739 | Ignition 1 Voltage |
42 | RD/WH | 840 | Battery Positive Voltage |
43 | RD/BK | 2940 | Battery Positive Voltage |
44 | -- | -- | Not Used |
45 | RD/WH | 1940 | Battery Positive Voltage |
46 | D-GN | 1927 | Rear Window Defog Supply Voltage |
47 | -- | -- | Not Used |
Connector Part Information
|
Terminal Part Information
|
Pin | Wire Color | Circuit No. | Function |
|---|---|---|---|
1 | WH | AJ01 | Battery Positive Voltage |
2 | RD | AJ02 | Battery Positive Voltage |
3 | RD/GN | AS32 | Battery Positive Voltage |
4 | RD | AJ05 | Battery Positive Voltage |