The tools you will need are located in the storage compartment at the rear of the vehicle, on the passenger's side.
To remove the tools, do the following:
Jack
Strap
Bracket
Wing Nut
Bag and Tools
Tire Bag and Cable Storage for All-Wheel-Drive Vehicles
The tools you will be using include the jack (A), extension (B), and folding wrench (C).
The compact spare tire is located under the rear of the vehicle. See Compact Spare Tire for more information about the compact spare.
To remove the compact spare tire, do the following:
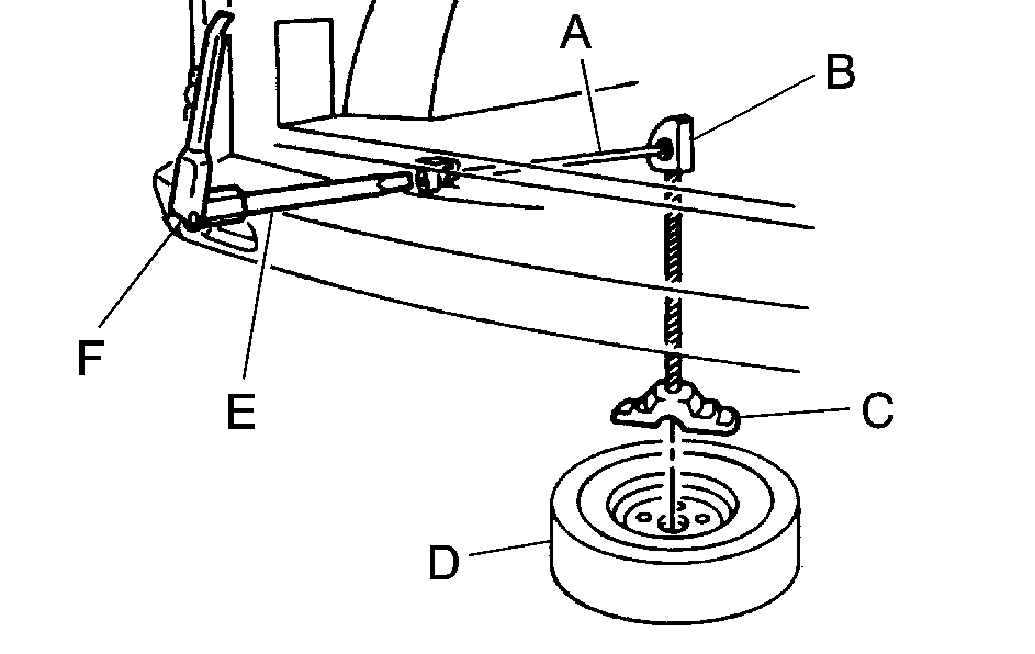
Hoist Shaft
Hoist Assembly
Retainer
Compact Spare Tire
Extension (Chisel End)
Folding Wrench
If you have a front-wheel-drive vehicle, the hoist is used to store a full-size or a flat road tire under the vehicle. See "Storing the Flat Tire on an Front-Wheel-Drive Vehicle" under Storing a Flat or Spare Tire and Tools for more information.
If your vehicle is an AWD vehicle, after removing the compact spare tire, turn the wrench counterclockwise to raise the cable back up. On an AWD vehicle, you can not store a full-size tire under the vehicle. It should be stowed inside the vehicle by the cable provided. See "Storing the Flat Tire on an All-Wheel-Drive Vehicle" under Storing a Flat or Spare Tire and Tools for more information.
If the compact spare tire will not lower, check under the vehicle to see if the tire is hanging loose and the cable end and spring under the wheel plate are missing. If so, the secondary latch system is engaged. See Secondary Latch System .
To continue changing the flat tire, see Removing the Flat Tire and Installing the Spare Tire .