GM Service Manual Online
For 1990-2009 cars only

Caution: Storing a jack, a tire, or other equipment in the passenger compartment of the vehicle could cause injury. In a sudden stop or collision, loose equipment could strike someone. Store all these in the proper place.

Storing the Spare Tire

Caution: The underbody-mounted spare tire needs to be stored with the valve stem pointing down. If the spare tire is stored with the valve stem pointing upwards, the secondary latch will not work properly and the spare tire could loosen and suddenly fall from the vehicle. If this happened when the vehicle was being driven, the tire might contact a person or another vehicle, causing injury and damage to itself. Be sure the underbody-mounted spare tire is stored with the valve stem pointing down.

To store the spare tire, do the following:

  1. Lay the tire near the rear of the vehicle with the valve stem down.
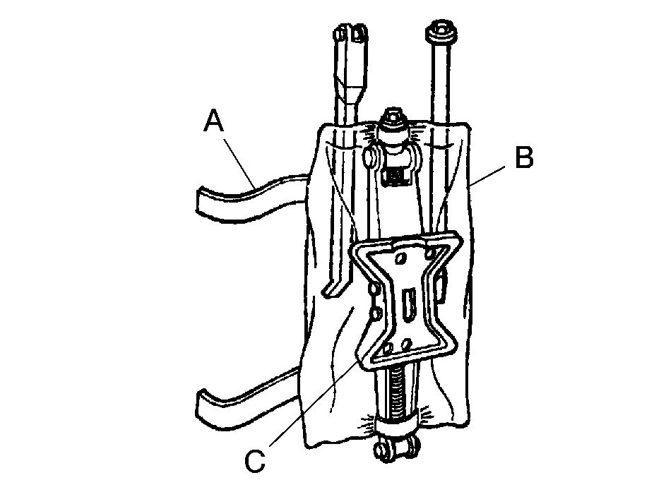
  2. Remove the small center cap by tapping the back of the cap with the extension of the shaft, if the vehicle has aluminum wheels.
  3. Slide the cable retainer through the center of the wheel and start to raise the tire.
  4. Make sure the retainer is fully seated across the underside of the wheel.

  5. When the tire is almost in the stored position, turn the tire so the valve is towards the rear of the vehicle.
  6. This will help when you check and maintain tire pressure in the spare.

  7. Raise the tire fully against the underside of the vehicle. Continue turning the folding wrench until you feel more than two clicks. This indicates that the compact spare tire is secure and the cable is tight. The spare tire hoist cannot be overtightened.

  8. Object Number: 811589  Size: B4
  9. Make sure the tire is stored securely. Push, pull (A), and then try to turn (B) the tire. If the tire moves, use the folding wrench to tighten the cable.

Storing the Flat Tire on a Front-Wheel-Drive Vehicle

The flat tire is stored the same as the spare tire for front-wheel-drive vehicles. Refer to "Storing the Spare Tire" listed previously.

Storing the Flat Tire on an All-Wheel-Drive Vehicle

  1. Remove the tire storage bag and cable package from the jack storage area.
  2. Remove the small center cap by tapping the back of the cap with the extension of the shaft, if the vehicle has aluminum wheels.
  3. Put the flat tire in the tire storage bag and place it in the rear storage area with the valve stem pointing toward the front of the vehicle.

  4. Object Number: 812748  Size: B3
  5. Pull the cable (A) through the door striker (C) and the center of the wheel.
  6. Hook the cable (A) onto the outside portion of the liftgate hinges (B).

  7. Object Number: 812750  Size: A2
  8. Pull on the cable to make sure it is secure.
  9. Make sure the metal tube is centered at the striker. Push the tube towards the front of the vehicle.

  10. Object Number: 812751  Size: A2
  11. Close the liftgate and make sure it is latched properly.

Storing the Tools


Object Number: 811595  Size: B4
  1. Strap

  2. Bag and Tools

  3. Jack

Put back all tools as they were stored in the jack storage compartment and put the compartment cover back on.

To put the cover back on, line up the tabs on the right of the cover with the slots in the cover opening. Push the cover in place and push down the tab so that it rests in the groove. This secures the cover in place.

Store the center cap or the plastic bolt-on wheel covers until a full size tire is put back on the vehicle. When you replace the compact spare with a full-size tire, reinstall the bolt-on wheel covers or the center cap. Hand-tighten them over the wheel nuts, using the folding wrench.