GM Service Manual Online
For 1990-2009 cars only

Windshield wiper blades should be inspected for wear and cracking. See Scheduled Maintenance for more information.

Replacement blades come in different types and are removed in different ways. For proper type and length, see Maintenance Replacement Parts .

To replace the windshield wiper blade assembly do the following:

  1. Lift the wiper arm and turn the blade until it is facing away from the windshield.

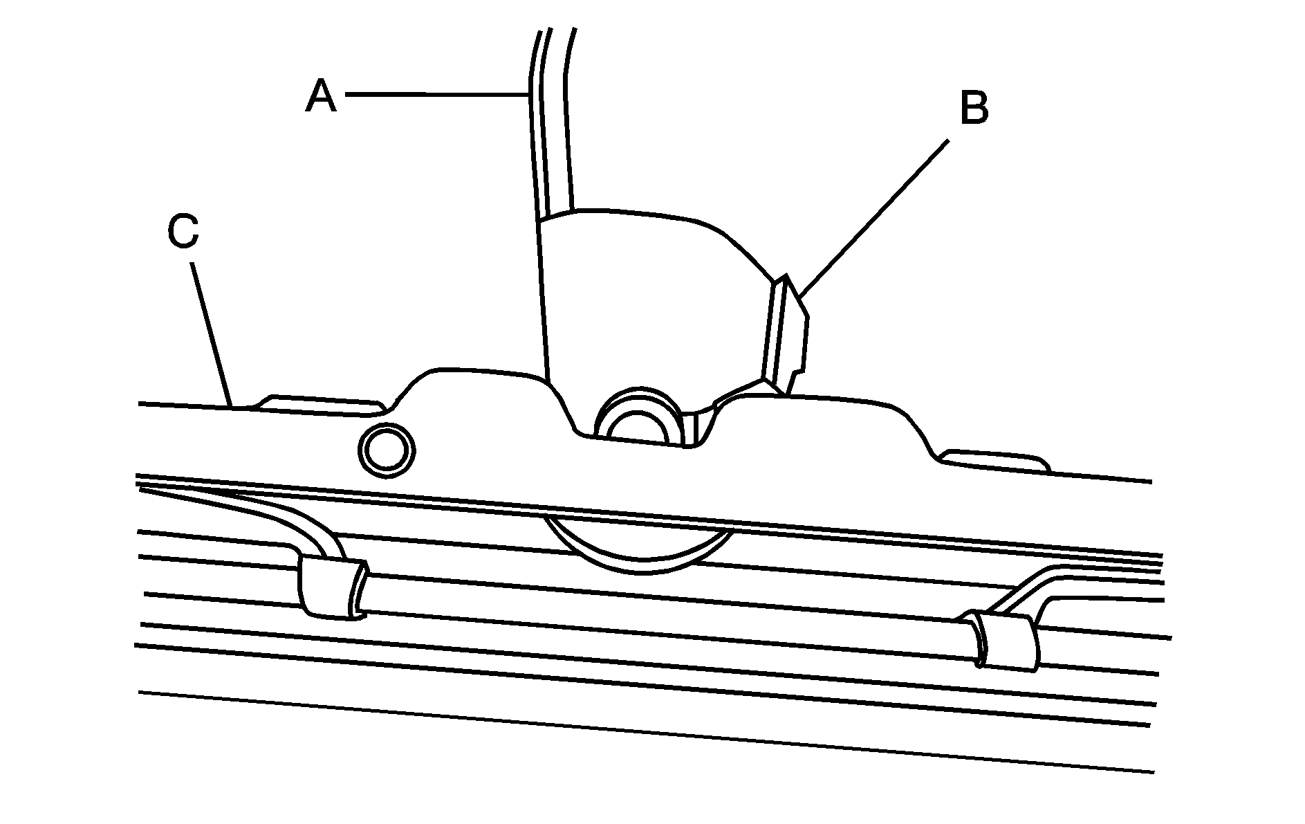
  2. Object Number: 1522235  Size: B3
  3. Squeeze the tabs (B) on each side of the wiper blade assembly to remove the wiper arm (A) from the blade (C).
  4. Allowing the wiper blade arm to touch the windshield when no wiper blade is installed could damage the windshield. Any damage that occurs would not be covered by your warranty. Do not allow the wiper blade arm to touch the windshield.

  5. Push the new wiper blade securely on the wiper arm until you hear the tabs on each side of the wiper blade assembly click into place.

To replace the rear wiper blade, follow the steps listed above.